网站首页  词典首页


请输入您要查询的字词:

 

字词 施工排水与降低地下水位
类别 中英文字词句释义及详细解析
释义

施工排水与降低地下水位


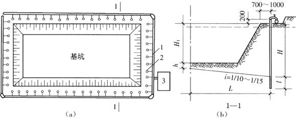
施工排水和人工降低地下水位,是基坑(槽)开挖中经常遇到的问题,是配合基坑(槽)开挖的安全措施之一。当基坑(槽)开挖至地下水位以下时,土中的含水层被切断,地下水将不断渗入基坑内;天然降雨、施工用水等也会流入基坑内。基坑(槽)内的土被水浸泡后,很容易引起边坡的坍塌,使施工不能正常进行,甚至会严重影响地基的承载能力。因此,做好土方工程的施工排水与降低地下水位工作,保持干燥的开挖工作面是十分重要的,在正式开挖前必须进行排水与降水的设计。

防止地表水(雨水、施工用水、生活污水等)流入基坑的措施,一般应充分利用现场地形地貌特征,采取在基坑周围设置排水沟、截水沟或修筑土堤等,并尽可能利用已有的排水设施。

基坑(槽)降低地下水位的方法,通常采用集水井降水法和井点降水法。无论采用何种降水方法,降水工作应持续到基础施工完毕并回填土后才能停止。

(一)集水井降水法

集水井降水法是在基坑开挖的过程中,沿着基坑底周围开挖排水沟,排水沟的纵坡宜控制在1‰~2‰,在坑底每隔一定的距离设一个集水井,地下水通过排水沟流入集水井中,然后用水泵将水抽走,如图1-36所示。集水井降水法是基坑开挖中常用的简易降水方法,主要适用于面积较小、降水深度不大的基坑(槽)开挖工程。

图1-36 集水井降水法示意图

1-排水沟;2-集水坑;3-水泵;4-基础外缘线;5-地下水位线

1.集水井的设置

为防止基底土结构遭到破坏,在基坑(槽)开挖到接近地下水位时,沿着坑底周围开挖有一定坡度的排水沟和设置一定数量的集水井。排水沟和集水井应设置在建筑物基础底面范围以外,并位于地下水走向的上游。

根据基坑中的土质状况、涌水量大小、地下水位高程、基坑平面形状和尺寸、水泵的抽水能力等,确定集水井的数量和间距,一般以每隔20~40m设置一个为宜。集水井的直径或宽度为0.7~0.8m,井的深度要始终保持低于挖土工作面0.8~1.0m。集水井的井壁用挡土板进行支护,井底铺碎石滤水层,以免抽水时泥沙堵塞水泵,并保证基底的土结构不受扰动。

2.水泵的选用

采用集水井降水法所用的水泵,主要有离心泵和潜水泵两种。

(1)离心泵

离心泵由泵壳、泵轴及叶轮组成,其管路系统主要包括滤网、底阀、吸水管和出水管。离心泵的抽水原理是利用叶轮高速旋转时所产生的离心力,将轮心部分的水甩到轮边,沿着出水管压向高处。此时叶轮中心处形成部分真空,水在大气压力的作用下,就能不断地从吸水管内自动上升进入水泵。其工作示意图如图1-37所示。

图1-37 离心泵工作示意图

1-泵壳;2-泵轴;3-叶轮;4-滤网;5-吸水管;6-出水管

离心泵的选择主要根据流量和扬程而确定。对于基坑排水,离心泵的流量应满足基坑涌水量的要求。一般可以选用吸水口径为2~4in(50.8~101.6mm)的离心泵;离心泵的扬程在满足总扬程的前提下,主要是考虑吸水扬程能否满足降水深度要求,如果不能满足要求,则应另选择水泵或将水泵位置降低至坑壁台阶或坑底上。离心泵的抽水能力较大,宜用于地下水量较大的基坑。

离心泵的安装要特别注意吸水管接头处不漏气、吸水口至少应在水面以下0.5m,以免吸入空气,影响水泵的正常运行。离心泵使用时要先向泵体与吸水管内灌满水,将泵和管中的空气排出,然后再开始抽水。在使用的过程中,离心泵应注意防止产生漏气和杂物堵塞。

(2)潜水泵

潜水泵是由立式水泵与电动机组合而成的。由于电动机有密封装置,水泵装在电动机的上端,工作时浸泡在水中,所以称为潜水泵。这种水泵具有体积小、质量轻、移动方便及开泵时不需要灌水等优点,在基坑排水中应用非常广泛。

我国生产的潜水泵流量有15m3/h、25m3/h、65m3/h和100m3/h,它们的扬程分别为25m、15m、7.0m和3.5m。为了防止电动机被烧坏,使用潜水泵时应特别注意不得脱水运转或陷入泥中,也不得排灌含泥量较高的水或泥浆,以免泵的叶轮被杂物堵塞。

(二)井点降水法

对于软土或土层中含有细砂、粉砂或淤泥层时,不宜采用集水井降水法,因为在基坑(槽)中直接排水,地下水将产生自下而上或从边坡向基坑方向流动的动水压力,容易导致边坡出现坍塌和产生“流砂现象”,并使基底土结构遭受破坏,在这种情况下宜考虑采用井点降水法。

1.井点降水的作用

井点降水是在基坑开挖前,预先在基坑四周以一定的距离埋入井点管至地下蓄水层内,在土方开挖的过程中,利用抽水设备不断从井点管里抽出地下水,使地下水位降低到坑底以下,从而保证土方在干燥的状态下施工。井点降水法实际上是利用真空原理,使地下水位始终保持在坑底以下,由此可见,井点降水具有以下作用:

①从根本上解决了地下水涌入坑内的问题,如图1-38a所示;②防止了边坡由于受地下水流的冲刷而引起的塌方,如图1-38b所示;③使坑底的土层消除了地下水位差引起的压力,防止了坑底土的上涌,如图1-38c所示;④由于没有水压力,使板桩减少了横向荷载,如图1-38d所示;⑤由于没有地下水的渗流,也就消除了流砂现象,如图1-38e所示。在降低地下水位后,土体颗粒之间的空隙减小,从而发生土体固结,使土层密实,增加地基土的承载能力。

图1-38 井点降水的作用

(a)防止涌水;(b)使边坡稳定;(c)防止土的上涌;(d)减少横向荷载;(e)防止流砂

采用集水井降水法开挖基坑,当基坑开挖到地下水位以下时,有时坑底的土会进入流动状态,并随地下水流入基坑,在施工中边挖边冒无法挖深,这种现象称为“流砂现象”。采用井点降水法的主要目的,就是防止出现“流砂现象”。

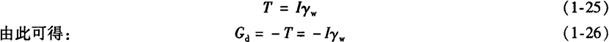
“流砂现象”的产生原因有内因和外因两个方面。外因是水在土中渗流所产生的动水压力对土体作用的结果。流动中的地下水对颗粒产生的压力称为动水压力。图1-39所示为动水压力的原理,其说明了地下水由左端高水位h1,经过长度为l,截面积为A的土体,流向低水位h2时的力学现象即为“流砂现象”。水在土中渗流时,受到土颗粒的阻力T,同时水对土颗粒作用一个动力压力Gd,两者大小相等、方向相反。

图1-39 动水压力原理图

(a)水在土中渗流时的力学现象;(b)动水压力对地基土的影响

内因取决于土质,当土具备下列性质,就有可能发生“流砂现象”:土层中有厚度大于250mm的粉砂土层;土的含水率大于30%或孔隙率大于43%;土的颗粒组成中黏土粒含量小于10%,而粉砂粒含量大于75%;砂土的渗透系数很小,排水比较困难。因此,流砂经常在细砂、粉砂及亚砂土中发生,是否出现流砂现象的重要条件是内因必须通过外因的作用。

由以上可以看出,防治流砂关键在于减小或消除动水压力,改变动水压力的方向。

作用在土体上的力,根据静力平衡条件得:

式中 γwh1A——作用在土体左端a-a截面处的静水压水,其方向与水流方向一致;

γwh2A——作用在土体右端b—b截面处的静水压水,其方向与水流方向相反;

TlA——水渗流时受到土骨架的阻力;

γw——水的密度。

由式(1-23)简化可得:

式(1-24)中,(h1-h2)/l为水头差与渗透路程长度之比,称为水力坡度,常用I表示,则可将式(1-24)改写为:

由式(1-26)可知,动水压力Gd的大小与水力坡度成正比,即水位差h1-h2愈大,则动水压力Gd愈大;而渗透路程l愈长,则动水压力Gd愈小;动水压力Gd的作用方向与水流方向相同。当水流在水位差的作用下对土颗粒产生向上压力时,动水压力不但使土颗粒受到水的浮力,而且还使土粒受到向上动水压力的作用。如果动水压力等于或大于土的浸水密度,则土颗粒失去稳定而处于悬浮状态,土的抗剪强度等于零,土粒就会随着水的渗流一起流动,“流砂现象”也由此而发生。

动水压力的大小是出现“流砂现象”的主要原因。防治流砂的途径有两个方面:一是减小或平衡动水压力;二是采取措施使动水压力的方向向下。如果采用降低地下水位的方法,则可使动水压力方向向下,“流砂现象”就不可能发生。

除了井点降水法以外,防治“流砂现象”的方法还有:水下挖土法、打钢板桩法、固结法、抛大块石法、加设支护结构法、地下连续墙法、枯水季节施工法等。

2.井点降水的类型

井点降水方法按其系统的设置、吸水方法和原理不同,可以分为轻型井点、喷射井点、电渗井点、管井井点、深井井点、无砂混凝土管井点和小沉井井点等。可根据降水深度、土层的渗透系数、邻近的建筑情况、工程特点及技术设备条件等,参考表1-20合理选用。在以上各类井点中,在建筑工程中应用最多的是轻型井点。

表1-20 各类井点的适用范围

(三)轻型井点

轻型井点就是沿基坑的四周将井管以一定间距埋至基坑底面以下含水层内,在地面上用总管将各井点管连接起来,并在一定位置设置抽水设备,经过一定时间的抽水,即可使地下水位降低至坑底以下所要求的深度。

1.轻型井点的设备

轻型井点的设备主要由管路系统和抽水设备两部分组成,如图1-40所示。

图1-40 轻型井点降低地下水位示意图

(1)管路系统

轻型井点的管路系统主要包括滤管、井点管、弯联管及总管等。滤管是轻型井点的进水装置,它的上端与井点管连接,其长度为1.0~1.2m、直径为38mm或51mm;管壁上钻有直径为13~19mm、按梅花状排列的小圆孔,其总面积为滤管表面积的20%~25%,管外包裹两层滤网,内层为细滤网,采用网眼为30~50孔/cm2的黄铜丝布、生丝布或尼龙丝布,外层为粗滤网,采用网眼3~10孔/cm2的铁丝节或尼龙丝布或棕树皮,以便地下水通过滤网吸入井点管,并阻止泥沙进入管内,如图1-41所示。

图1-41 滤管构造图

为使吸水流畅,避免吸水孔发生堵塞,在管壁与滤网间用塑料管或铁丝绕成螺旋形,使两者隔开一定间隙;在滤网的最外面,再绕一层粗铁丝保护网;为防止滤管在插入土层时下端进入泥沙,在其下端设置一个铸铁头。

井管为直径38mm或51mm、长度为5~7m的钢管(或镀锌钢管),井点管上端用弯联管与总管连接。弯联管宜用透明塑料管或橡胶软管,每个弯联管上最好装上阀门,以便于调节或检修。

总管采用直径100~127mm的无缝钢管,每节长度为4m左右,其上每隔0.8m或1.2m设有一个与井点管连接的短接头。

(2)抽水设备

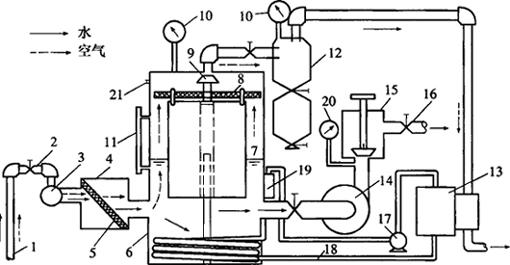
轻型井点的抽水设备由真空泵、离心泵和水气分离器等组成,其工作原理如图1-42所示。

图1-42 轻型井点抽水设备工作原理示意图

1-井点管;2-弯联管;3-总管;4-过滤箱;5-过滤网;6-水气分离器;7-浮筒:8-挡水板;9-阀门;10-真空表;11-水位计;12-副水气分离器;13-真空泵;14-离心泵;15-压力箱;16—排水管;17-冷却泵;18-冷却水管;19-冷却水箱;20-压力表;21-真空调节阀

在进行抽水时,首先开动真空泵13,使水气分离器6及以下的管路系统中产生一定程度的真空度,土壤中的水和气受到真空吸力作用后被吸入滤管,经管路系统向上流到水气分离器中;此时再开动离心泵14,将抽出的地下水由排水管16排走,空气则集中在水气分离器上部由真空泵排出。水气分离器中浮筒7的作用是:当系统中的吸入量大于排出量时,水气分离器中的蓄水增高,浮筒上升,使阀门9关闭,避免水进入真空泵而导致故障。至于空气中所含的少量水汽,则由副水气分离器12加以滤清。为对真空泵进行冷却,设有一个冷却泵17。

2.轻型井点的布置

轻型井点的布置关系到地下水降低的效果和开挖成败,应根据基坑的平面形状及尺寸、基坑的深度、土质种类、地下水位的高低及流向、降水深度要求等确定,主要考虑其平面布置和高程布置两个方面:

(1)轻型井点的平面布置

轻型井点的平面布置,根据基坑宽度和降水深度不同,可分为单排线状井点布置、双排线状井点布置和环状井点布置三种形式。

1)单排线状井点布置。当基坑的宽度小于6m、降水深度不超过5m时,可采用单排线状井点布置,即将井点布置在地下水上游一侧,两端延伸长度不小于基坑的宽度,如图1-43所示。

图1-43 单排线状井点布置示意图

(a)平面布置;(b)高程布置

1-排水总管;2-井点管;3-抽水设备

2)双排线状井点布置。当基坑宽度大于6m或土质不良时,可采用双排线状井点布置,即将井点布置在基坑长度方向的两侧,其中上游侧两端延伸长度也不小于基坑的宽度。

3)环状井点布置。当基坑面积较大、地下水位较高时,可采用环状井点布置,即沿基坑周围均布置井点,如图1-44所示。

图1-44 环状井点布置示意图

(a)平面布置;(b)高程布置

1-排水总管;2-井点管;3-抽水设备

考虑施工机械进出基坑方便,可在基坑地下水下游一侧不进行封闭。井点管距离坑壁一般为0.70~1.0m,以防止发生局部漏气。井点管的间距,应由计算或经验确定,一般为0.8m、1.2m和1.6m,井点管在总管四角部分应适当加密。

(2)轻型井点的高程布置

轻型井点的降水深度,从理论上可以达到10.3m,但由于管路系统的水头损失,其实际的降水深度一般不宜超过6m,如图1-43b和图1-44b所示。井点管的埋置深度H,可按下式进行计算:

式中 H——井点管的埋置深度(m);

H1——井点管埋设面至基坑底面的距离(m);

h——基坑底面至降低后的水位线的距离(m);

i——水力坡度,单排井点取1/4,双排井点或环状井点取1/10~1/15;

L——井点管至基坑中心的水平距离(m)。

如果由式(1-27)计算得出的H值小于6m时,用一级井点降水就能满足要求。如果H值稍大于6m时,为了满足降水深度的要求,应降低井点管管路系统的埋置面。事先挖槽降低埋置标高,使管路系统安装在靠近原地下水位线甚至稍低于原地下水位线的地方。此时,可设置明沟和集水井,排除事先挖槽所引起的渗水,然后再布置井点系统就能充分利用设备能力,增加降水深度。

当一级井点系统达不到降水深度要求时,可采用二级井点进行降水,即先挖去第一级井点排干的土,然后再布置第二级井点,如图1-45所示。

图1-45 二级轻型井点降水示意图

1-第一级轻型井点;2-第二级轻型井点;3-集水总管;4-连接管;5-水泵;6-基坑;7-原地面线;8-原地下水位线;9-降低后地下水位线

3.轻型井点的计算

轻型井点的计算主要包括:基坑井点系统涌水量计算、确定井点管数量与间距、水位降低数值校核、选择抽水设备和井点管布置等。由于井点计算受水文地质和井点设备等多种因素的影响,计算的结果仅是近似值,对于重要工程,其计算结果应经现场试验进行修正。

(1)基坑涌水量计算

基坑涌水量计算是按照水井理论进行计算的。根据井底是否达到不透水层,水井可分为完整井和非完整井。当水井底部达到不透水层时,则称为完整井;当水井底部达不到不透水层时,则称为非完整井。

根据地下水有无压力,又分为无压井和承压井。当水井布置在有潜水自由面的含水层中时,称为无压井;当水井布置在两不透水层之间充满水的含水层内,且地下水有一定压力时,称为承压井。以上四种类型的井如图1-46所示。

图1-46 水井的分类

(a)无压完整井;(b)无压非完整井;(c)承压完整井;(d)承压非完整井

1-不透水层;2-距井轴x处的渗流面;3-抽水影响深度线

由以上可得出,基坑涌水量计算共分为:无压完整井的单井涌水量计算、无压完整井的群井涌水量计算、无压完整井的群井涌水量计算和无压非完整井环状井点涌水量计算四种情况。对于承压井在工程中很少见,故不讨论其涌水量计算。

1)无压完整井的单井涌水量计算。在无压完整井内抽水时,水位变化如图1-46a所示。当抽水至一定时间后,井周围水面最后降落成渐趋稳定的漏斗状曲面,称为降落漏斗。水井中心至漏斗外缘的水平距离称为抽水影响半径R。

根据达西定律,无压完整井的涌水量Q(m3/d)可用式(1-28)计算:

式中 K——土壤的渗透系数(m/d);

i——水力坡度,距井中心x处为i=dy/dx;

ω——距井中心x处水流的过水断面面积,可近似地看成是铅直线绕井中心旋转的旋

转面面积:ω=2πxy。

将以上代入并经推导得无压完整井的单井涌水量为:

式中 H——含水层厚度(m);

h——井内的水深(m);

R——抽水影响半径(m);

r——水井半径(m)。

2)无压完整井的群井涌水量计算。实际上井点系统是由许多单井组成的,各井点同时抽水时,由于各个单井相互距离都小于两倍的抽水影响半径,因而各个单井水位降落漏斗彼此干扰,其涌水量比单独抽水时要小,所以群井的总抽水量并不等于各单井涌水量之和。

根据群井的相互干扰作用,无压完整井的群井涌水量可按式(1-30)计算:

式中 y——群井范围内任意点o降低后的地下水位高度(m);

x1,x2,…xn——群井范围内任意点o至各井中心的距离(m);

n——单井的个数。

3)无压完整井的群井涌水量计算。设环形布置的群井范围内任意点o距各井中心距离为x1=x2=xn=x0,即各单井布置在等半径的圆周上,则式(1-30)可简化为:

式中 s——群井中心的水位降低值(m),s=H-y。

在实际工程中,基坑多布置为矩形,其井点也按矩形进行布置。为方便计算,其长度与宽度之比不大于5时,常将矩形面积按等值圆计算并求出其假想半径,其半径可按式(1-32)计算:

式中 A——环状井点系统包围的面积(m2)。

应用式(1-31)计算涌水量时,其矩形基坑平面的长宽比不大于5,或基坑宽度不大于两倍的抽水影响半径。否则,需要先将基坑分块以满足上述条件,然后逐块计算涌水量再相加,即求得总涌水量。

在应用上述各公式时,需要事先确定式中的土壤的渗透系数K和抽水影响半径R两个参数。测定土壤的渗透系数K的方法,在现场有抽水试验和试验室测定两种。对于重大的工程,宜采用现场抽水试验的方法。其方法是在现场设置抽水井,在距抽水井为x1和x2处设置两孔观测井,三井在同一直线上,待抽水稳定后,测出两观测井内水位降落值s1、s2和抽水井相应的抽水量Q,则土壤的渗透系数可用式(1-33)计算:

抽水影响半径R,与土壤的渗透系数、含水层厚度、水位降低值及抽水时间等因素有关。抽水影响半径R可用萨金公式进行确定:

4)无压非完整井环形井点涌水量计算。无压非完整井的环形井点涌水量计算较为复杂,为了简化计算,仍可采用无压完整井的环形井点涌水量计算公式式(1-31),但要将式中的H换成抽水影响深度H0(当井底距不透水层的距离很大时,抽水时扰动显然不能影响至下层)。H0值是一经验值,可查表1-21选用。当算得的H0大于实际含水层厚度H时,仍取H值。

表1-21 有效深度H0

注:表中S′为井点管内水位降低深度,l为滤管长度。

(2)井点管数量与井距的确定

单根井点管的最大出水量,可由式(1-35)计算:

式中 q——单根井管的最大出水量(m3/d);

d——滤管的直径(m);

l——滤管的长度(m);

K——土壤的渗透系数(m/d)。

井点管所需要的根数n,可按式(1-36)计算:

井点管间距可根据井点系统布置方式,按式(1-37)计算:

式中 D——井点管之间的间距(m);

L——矩形井点系统的长度(m);

B——矩形井点系统的宽度(m)。

求出的井点管之间的间距应大于15d,如果井点管太稠密,会影响抽水效果。另外,其间距还应符合总管接头的间距。

4.水位降低数值的校核

在井点管与间距确定后,应校核所采用的布置方式是否能将地下水位降低到规定的标高,即h是否小于规定数值。

5.抽水设备的选择

轻型井点常用的抽水设备,有真空泵和水泵两种。

(1)真空泵

真空泵有干式(往复式)和湿式(旋转式)两种类型。由于干式真空泵排气量较大,在轻型井点降水中采用较多;湿式真空泵具有重量轻、振动小、容许水分掺入等优点,但排气量较小,宜在粉砂土和黏性土中使用。

干式真空泵的型号有W4、W5、W6、W7等,在选择真空泵时,除必须满足真空度外,还要根据计算的井管数和总管长度来选择相应的型号。根据工程实际经验,W4型真空泵可负担60~70根井点管,带动总管长约80m;W5型真空泵可负担75~90根井点管,带动总管长约100m;W6型真空泵可负担90~105根井点管,带动总管长约120m;W7型真空泵可负担100~120根井点管,带动总管长约120~140m。

真空泵的真空度,根据其力学性能,最大可达99.8kPa。真空泵在抽水过程中所需的最低真空度hk,根据降水深度和各项水头损失,可按式(1-38)计算:

式中 hk——真空泵在抽水过程中所需的最低真空度(m);

H1——井管的抽水深管,即井管的长度(m);

△h——水头损失,包括进入滤管的水头损失、管路阻力损失、漏气损失等,在实际中

常取1.0~1.5m。

(2)水泵

轻型井点系统抽水常用离心泵,我国生产的B型离心泵的性能,见表1-22。选择时应根据井点系统总涌水量和井管吸水深度而定。由于抽水初始的涌水量稳定时比较大,所以选择的水泵流量,应比计算出的井点系统总涌水量大10%~20%。

表1-22 B型离心泵的性能

水泵的吸水扬程主要应能克服水气分离器中的真空吸力,也就是要大于或等于抽水深度加各项水头损失,即

6.轻型井点系统的安装与使用

轻型井点系统的材料设备准备好后,可以根据设计方案进行安装,其安装的程序是:先排放总管,确定总管的位置,再埋设井点管,用弯联管将井点管和总管连接起来,最后再安装抽水设备。

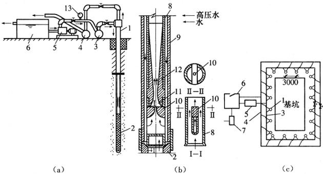
井点管的埋设一般用水冲法进行,如图1-47所示,分为冲孔、埋管与封口三个施工过程。

图1-47 井管的埋设

(a)冲孔;(b)埋管与封口

1-冲管;2-冲头喷嘴;3-胶皮管;4-高压水泵;5-压力表;6-起重机吊钩;7-井管;8-滤管;9-砂滤层;10-黏土封口

冲孔时,先用起重设备将冲管吊起并插在井点管的位置上,然后开动高压水泵,将土冲松,冲管则边冲边沉。冲孔的直径不小于300mm,以保证井管四周有一定厚度的砂滤层,冲孔深度宜比滤管底深0.5m左右,以防止冲管拔出时,部分土颗粒沉于底部而触及滤管底部。

井孔冲至设计深度后,立即将其拔出,在孔的中部垂直插入井点管,并在井点管与孔壁之间迅速填灌砂滤层,以防孔壁塌土和堵塞滤网。砂滤层的填灌质量是保证轻型井点顺利抽水的关键,一般宜选用干净的粗砂,均匀填灌,并填至滤管顶上1~1.5m,以保证水流畅通。井点填砂后,应当用黏土封口并捣实,以防产生漏气。

轻型井点系统全部安装完毕后,在正式抽水前需要进行试抽,以检查有无漏气现象。开始时应连续进行抽水,避免出现时抽时停,否则会抽出大量的泥沙,使水变得混浊,造成滤管堵塞或附近地面下沉,有时会引起邻近建筑物开裂。因此,抽水工作只要正式开始,就应持续进行至全部基础工作完成。

正常的排水是细水长流、出水清澈。在抽水过程中要经常检查井点系统工作是否正常,并注意观察井中水位下降情况,如果有较多井点管发生堵塞,明显影响降水效果时,应逐根用高压水反向冲洗或拔出重埋。

在降水的过程中,应由专人负责对附近地面及其邻近建筑物进行沉降观测,以便发现问题,及时采取防护措施。

(四)喷射井点

当开挖的基坑(槽)的深度较大,且地下水位较高时,如果布置单层轻型井点,可能不满足降水深度要求;如果布置多层轻型井点,则造成工程投资增大。因此,当降水深度超过6m,土层渗透系数为0.1~2.0m/d时,可采用喷射井点进行降水,降水深度一般可以达到20m左右。

喷射井点按其工作时喷射的介质不同,可分为喷气井点和喷水井点,工程上常用的是喷水井点。喷水井点主要由喷射井管、高低压水泵和管路系统组成,如图1-48所示。喷射井管1由内管8和外管9组成,在内管下端装有喷射扬水器(升水装置)与滤管2相连(图1-48b)。在高压水泵5的作用下,高压水经过总管3进入井管的内外管间的环形空间,并经扬水器的侧孔流向喷嘴10。由于喷嘴截面突然缩小,流速急剧增加,压力水由此以很高的流速喷入混合室11,混合室的截面又骤然扩大再逐渐缩小,高速水流将喷嘴周围空气吸入并带出,使混合室形成一定的真空度。地下水因喷射扬水器所造成的负压,自滤管吸入混合室,并与高速水流汇合,经扩散管12时,由于其截面逐步扩大,流速减慢而转变成高压,沿内管上升经排水总管4排至集水池6内。集水池内的水,一部分用低压泵排除,另一部分则可作为高压泵输入喷射扬水器中的循环水。

图1-48 喷射井点设备及平面布置简图

(a)喷射井点系统的组成;(b)喷射扬水器详图;(c)喷射井点平面布置图

1-喷射井管;2-滤管;3-进水总管;4-排水总管;5-高压水泵;6-集水池;7-低压水泵;8-内管;9-外管;10-喷嘴;11-混合室;12-扩散管;13-压力表

喷射井点的平面布置:当基坑宽度小于10m时,井点可按单排布置;当基坑宽度大于10m时,应按双排进行布置;当基坑面积较大时,宜采用环形布置,如图1-48c所示,井点的间距-般为2~3m。涌水量计算与井管的埋设,与轻型井点相同。

(五)电渗井点

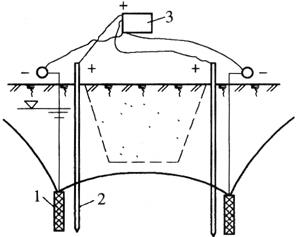
在深基坑土方施工中,有时会遇到渗透系数小于0.1m/d的土质,这类土含水量大,压缩性高,稳定性差。由于土颗粒间微小孔隙的毛细管作用,将水保持在孔隙内,单靠真空吸力的降水方法,基本上不起作用,此时应采用电渗井点降水。

在饱和的黏土中插入两根电极,当通入直流电时,黏土颗粒即能沿电力线向阳极移动,称为电泳现象;水分子与黏土颗粒移动方向相反,水分子这种向阴极移动现象,称为电渗。电渗井点就是运用上述电渗现象,将轻型井点或喷射井点的井管作为阴极,并在其内侧相距约1.2m处增设对应的垂直阳极。阳极可用钢筋或其他材料插入,通电后土层中的水分子即能迅速渗至井管周围,便于抽出排水。电渗井点的组成,如图1-49所示。

图1-49 电渗井点组成示意图

1-井点管;2-电极;3-直流电源(24~48V)

(六)管井井管与深井井管

当土的渗透系数较大(20~200m/d)、地下水含量丰富时,再采取以上各种降水方法效果不佳,而应采用管井井点或深井井点降水。

管井井点降水就是在基坑四周每隔10~50m钻孔成井,然后在井内放入钢管或钢筋混凝土管,其底部设置一定的滤水管,每个井管用一台水泵不断抽水,使地下水位下降至设计高程,如图1-50所示。在土质较好的黏土层中,也可以不设井管而直接在井孔中抽水。抽水所采用的水泵有离心泵或潜水泵。如果采用离心泵,则将泵体置于井上,吸水扬程一般为6~7m;如果采用潜水泵,则将泵体置于水中,最大扬程可达25m。由于这种井点的井距设置较大,因此有效降水深度较小。

图1-50 管井井点组成示意图

(a)钢管管井;(b)混凝土管管井

1-沉砂管;2-钢筋焊接骨架;3-滤网;4-管身;5-吸水管;6-离心泵;7-小砾石过滤层;8-黏土封口;9-混凝土实管;10-混凝土过滤管;11-潜水泵;12-出水管

深井井点与管井井点基本相同,只是深井的井深比管井还深,必须用深井泵抽水。深井泵的扬程可达100m。因此,只要在基坑要求降水深度很大,采用管井井点不能满足要求时,可采用深井井点。

管井井点和深井井点的设备比较简单,在高层建筑基坑降水中应用较多,其涌水量计算可参考轻型井点。

(七)轻型井点降水示例

【例1-3】某建筑物为一矩形基坑(图1-51),开挖深度为4.0m。基坑的底部平面尺寸:坑底宽为20.5m,长度为30.5m,基坑边坡为1∶0.5,自然地面标高取为±0.00,地下水位标高为-1.00,不透水层标高为-10.00m。不透水层上面的含水层为细砂层,渗透系数K= 15m/d。地下水为无压水。采用轻型井点降低地下水位,试进行井点系统的布置和设计。

图1-51 某建筑物矩形基坑示意图

(a)轻型井点平面布置;(b)轻型井点高程布置

【解】1.轻型井点的布置

为增加井点系统的降水深度,将总管埋设在自然地面以下0.50m处,即沿安装总管的基坑周围先挖一个0.50m深的沟槽,然后在沟槽底敷设总管,经计算基坑上口的平面尺寸为24m×34m;总管安装于距基坑边缘1.0m处,故环状总管的总长度为:

L=2×(26+36)=124(m)

基坑中心要求降水深度为:S=4.0-1.0+0.5=3.5(m)

采用一级轻型井点降水时,井点管的埋设深度(不包括滤管)为:

H=Ht+h+iL=3.5+0.5+1/10×26/2=5.3(m)

井点管的长度为6.0m,滤管的长度为1.0m,井点管露出总管敷设面0.2m,如果不包括滤管,埋入土中的井点管长度为5.8m,即实际埋入深度H=5.8m>5.3m,符合埋深的要求。基坑中心的实际降水深度为4.0m>3.5m,滤管底部距不透水层的距离为:10.0-7.0-0.3=2.7(m)。

2.基坑涌水量计算

由于基坑的长宽比为34/24=1.42<5,地下水为无压水,可以按无压非完整井环状井点系统计算涌水量,由S′=6.0+0.3-1.0=5.3m,S′/(S′+1)=5.3/(5.3+1)=0.84,查表1-20,H0=1.85(S′+1)=1.85×(5.3+1)=11.66m>9.0m(含水层厚度),所以取H=9.0m。

抽水影响半径R=1.95S(HK)1/2=1.95×3.5×(9.0×15)1/2=79.3(m)

环状井点系统假想半径X0=(A/π)1/2=(26×36/3.14)1/2=17.26(m)

将以上计算所得数据代入下式:

Q=1.366K(2H-S)S/(1gR-lgX0)=1.366×15×(2×9-3.5)×3.5/(1g79.3-lg17.26)

=1570(m3/d)

单根井点管的出水量q=65πdlK1/3=65×3.14×0.05×1.0×151/3=25.18(m3/d)

3.计算井点管数量与间距

(1)井点管的数量

n=1.1Q/q=1.1×1570/25.18=69(根)

(2)井点管的间距

由以上计算可知,封闭的环形总管的长度为124m,考虑施工机械进出基坑方便,可在基坑地下水的下游一侧不封闭,留出6m宽的一个通道,则总管的长度变为118m,井点管的间距则为:

D=2(L+B)/(n-1)=[2×(36+26)-6]/(69-1)=118/68=1.73(m)

通过以上计算可得:井点管共需要69根,井点管的间距为1.73m。

4.选择抽水设备

根据采用W6型干式真空泵时,其可承担长120m的总管规定,本工程采用W6干式真空泵非常适宜;根据基坑涌水量、吸水扬程和总扬程,从表1-22中选择适宜的离心泵。

随便看

 

离鸟网收录3541549条中英文词条,其功能与新华字典、现代汉语词典、牛津高阶英汉词典等各类中英文词典类似,基本涵盖了全部常用中英文字词句的读音、释义及用法,是语言学习和写作的有利工具。

 

Copyright © 2004-2024 vtrois.com All Rights Reserved
更新时间:2026/4/19 16:03:06