网站首页  词典首页


请输入您要查询的字词:

 

字词 斜滑块抽芯分型机构
类别 中英文字词句释义及详细解析
释义

斜滑块抽芯分型机构


4.6.4.1 滑块导滑

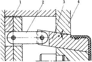
利用斜滑块外侧面的凸耳与锥形模套内壁对应的斜向滑槽滑动配合,达到凹模侧向分型与复位的目的。如图4-124所示为凹模斜滑块外侧分型机构,凹模由两块斜滑块组成,斜滑块1在推杆2的作用下,沿斜滑槽移动的同时向两侧分型,并实现塑件脱离主型芯。

图4-124 滑块导滑结构

1—斜滑块 2—推杆 3—型芯固定板 4—型芯 5—模套 6—定模型芯 7—限位钉

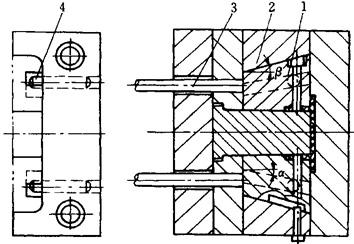
通常斜滑块和模套都设计在动模一边,以便在利用顶出力的同时,达到推出塑件和侧向分型的目的。但当塑件对定模型芯包紧力较大时,开模时定模有可能将斜滑块带出而损伤塑件,如图4-125(a)所示,为此应在定模边设置弹簧销钉,防止滑块粘附于定模,如图4-125(b)所示。

图4-125 滑块止动机构

1—推杆 2—型芯 3—斜滑块 4—模套 5—止动钉

图4-126为圆柱销式斜滑块抽芯。开模后塑件留于动模,顶出时推杆推动两个滑块向两侧分型,同时滑块带动塑件脱离主型芯。圆柱销4对斜滑块1的运动起导向作用。

图4-126 圆柱销式斜滑块抽芯机构

1—斜滑块 2—模套 3—推杆 4—圆柱销

图4-127为双燕尾式斜滑块抽芯机构。镶条3呈燕尾形,用螺钉2、圆柱销4紧固于模套5,便于制造,斜滑块1靠镶条3导向,顶出时在推板6和推杆7同时作用下,推动斜滑块1侧抽芯并顶出制品,限位销8用于对滑块最终限位。

图4-127 双燕尾式斜滑块抽芯机构

1—斜滑块 2—螺钉 3—镶条 4—圆柱销 5—模套 6—推板 7—推杆 8—限位销

图4-128为推杆式斜滑块抽芯机构。斜滑块4呈燕尾形可在模套2的燕尾槽中滑动,并用螺钉与成型镶块1紧固,顶出时,在完成抽侧芯的同时借推件环3顶出制品。此种形式多用于沿圆周分布的斜滑块。

图4-128 推杆式斜滑块抽芯机构

1—成型镶块 2—模套 3—推件环 4—斜滑块 5—垫板

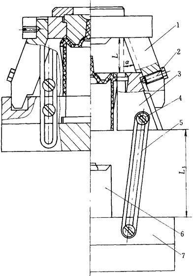
图4-129为连杆式定模斜滑块抽芯机构。斜滑块3可在导滑板1的燕尾槽中滑动,开模时,由于制品被斜滑块夹持,型芯6首先脱离制品,继续开模,连杆5通过阶形螺钉4带动斜滑块3进行抽芯,然后制品自动落下,限位螺钉2用于对斜滑块限位。

图4-129 连杆式定模斜滑块抽芯机构

1—导滑板 2—限位螺钉 3—斜滑块 4—阶形螺钉 5—连杆 6—型芯 7—动模板

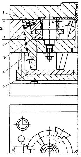
图4-130为拉钩式斜滑块抽芯机构。拉钩2、3分别固定于动模板1及斜滑块6上,斜滑块6可在定模滑板5的T形槽中滑动,由限位螺钉4限位。开模时,拉钩2与拉钩3处于拉住状态,从而拉动斜滑块6沿定模滑板5的斜面滑动,同时斜滑块6和拉钩3沿抽芯方向移动完成抽芯动作,此时拉钩3脱开拉钩2,继续开模由推板将制品推出。

图4-130 拉钩式斜滑块抽芯机构

1—动模板 2、3—拉钩 4—限位螺钉 5—定模滑板 6—斜滑块 7—型芯 8—定模板

4.6.4.2 斜杆导滑

如图4-131所示,开模后,塑件留于动模,顶出时,推杆固定板1推动滚轮2,迫使斜推杆3沿动模4的斜方孔运动,与推杆5共同推出塑件的同时,完成侧抽芯。图4- 132为斜推杆内侧抽芯,斜推杆的滑座4呈α角固定于推杆固定板上,使推出力沿推杆2的轴向传递,有利于消除侧向分力,减小内摩擦。图4-133为斜杆导滑的另一种结构形式,在推出塑件的同时即可达到内侧抽芯的目的。图4-134为推杆2两端分别与推板1和斜滑块3以铰链连接的形式,推出塑件的同时完成侧抽芯。

图4-131 斜推杆抽芯

1—推杆固定板 2—滚轮 3—斜推杆 4—动模 5—推杆

图4-132 斜推杆内侧抽芯

1—动模板 2—斜推杆 3—镶块 4—滑座

图4-133 斜推杆内侧抽芯

1—滑座 2—轴 3—斜推杆 4—型芯 5、6—滚轮

图4-134 带铰链的斜推杆内侧抽芯

1—推板 2—推杆 3—斜滑块 4—动模板

4.6.4.3 推杆式

如图4-135所示,推杆4头部成型塑件的外凸缘,尾部以铰链与推板1连接,顶出时,推杆推动塑件,当头部伸出动模板6时,推杆凸缘A处与镶块接触,从而向上摆动脱离塑件,完成外侧抽芯。图4-136为成型推杆内侧抽芯,顶出时,推杆2带动塑件一起运动,当推杆后部斜面B与动模板3接触,迫使推杆向内侧平移,完成内侧抽芯。图4-137为成型推杆斜向抽芯,型芯6固定于支承板2,连杆3的—端与型芯6连接,另一端与型芯5连接,在推杆1推动动模4的过程中完成对型芯5的抽芯。

图4-135 推杆摆动侧抽芯

1—推板 2—轴 3—推杆固定板 4—推杆 5—镶块 6—动模板

图4-136 推杆平移内侧抽芯

1—推杆固定板 2—推杆 3—动模板 4—型芯

图4-137 推杆旋转斜向抽芯

1—推杆 2—支承板 3—连杆 4—动模 5—型芯 6—型芯

随便看

 

离鸟网收录3541549条中英文词条,其功能与新华字典、现代汉语词典、牛津高阶英汉词典等各类中英文词典类似,基本涵盖了全部常用中英文字词句的读音、释义及用法,是语言学习和写作的有利工具。

 

Copyright © 2004-2024 vtrois.com All Rights Reserved
更新时间:2026/4/21 3:37:47