网站首页  词典首页


请输入您要查询的字词:

 

字词 数控切割
类别 中英文字词句释义及详细解析
释义

数控切割


(一)半自动气割

半自动气割是数控切割的基础,在我国应用广泛,图8-26为半自动气割机的一种,由可调速的电动机拖动,割头沿着导轨作直线运动,也可改装成半径杆,绕中心作圆周运动,亦即装在气割机上的割炬,可以割出直线或不同半径的圆弧。

图8-26 半自动气割机

半自动气割机除可以一定速度自动沿切割线移动外,其他切割程序均由手工完成。常用的有CG1-30型半自动气割机,可气割直线、直径大于200mm的圆周、斜面及V形等形状的坡口,其主要性能参数如表8-13所示。

表8-13 CG1-30型半自动气割机性能参数

(二)自动气割

1.小车式自动气割

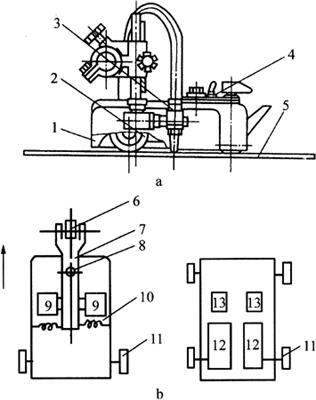
图8-27a所示的小车式结构气割机,是一种常用的小型自动气割机械,由车体、驱动系统、割炬和气路系统、控制系统和导轨等组成,并配置小车走向偏转式跟踪机构(图8-27b),常用于小批量气割,不仅能减轻劳动强度,而且工作效率和气割质量较高。大批量生产大型工件时,常采用直角坐标式自动气割机或摇臂仿形式自动气割机,其型号及性能如表8-14所示。

图8-27 小车式自动气割机

a.结构原理 b.走向偏转式跟踪机构 1.车体 2.驱动系统 3.割炬和气路系统 4.控制系统 5.导轨 6.操向轮 7.操向杆 8.轴 9.电磁铁 10.平衡弹簧 11.主动轮 12.减速器 13.传动电动机

表8-14 常用自动气割机型号及性能(均使用中压乙炔)

2.仿形式自动气割

图8-28为CG2-150型摇臂仿形式气割机,由运动机构、仿形机构和切割器三大部分组成,其中运动机构常见的为活动肘臂和小车带伸缩杆两种形式。气割时,将制好的样板置于仿形台上,仿形头按样板轮廓移动,切割器则在钢板上割出所需的轮廓形状。

图8-28 CG2-150型摇臂仿形式气割机

(三)光电跟踪气割

光电跟踪气割是利用光电式传感器、光电跟踪台和自动气割机三大部分共同完成。如图8-29所示。切割时,将图样置于光电跟踪台上,利用光电头对图样进行脉冲相位扫描,使图样上的线性光电效应发出电信号,再反射到光电头内的晶体管上,并输入自动气割机的控制系统,控制自动气割机的运动和气割动作,从而完成气割工作。

图8-29 光电式信号发生器

a.贴塑料带跟踪 b.光电传感头c.偏差检测 1.透镜 2.灯泡 3.透镜 4.半透镜 5.光栅 6.晶体管

这种方法以粘贴在待割钢板切缝一侧100~120mm处的黑白塑料带为跟踪检测对象(图8-29a),与割炬装在一体的光电跟踪传感器结构如图8-29b所示,灯泡发射出的光线通过透镜和半透镜被聚为直径2.5mm的光点射到黑白塑料带上,再通过透镜和半透镜、光栅,将塑料带上的光点反射到光电头内的光敏晶体管上。由于胶带是黑白各半,因此光点射到黑白分界线位置不相同时,反射光的强弱就不一样(图8-29c)。

光电跟踪气割零件的图样,与实际零件的大小相同,按1∶1比例先绘图再气割,既可省略实尺放样和号料等工序,又可切割出形状复杂的零件,而且效果很好。

(四)数控气割

数控气割机是将零件图样的几何尺寸,按计算出的切割轨迹坐标值,以数码形式制成穿孔纸带,再用光电输入机将纸袋上的编码信号,输送到专用计算机,进行运算后即发出相应的电信号,控制执行机构完成各种形状板材零件的切割。

数控气割机的执行机构,主要是带动割炬沿纵向或横向移动的步进电机,每一个脉冲电流都能使步进电机移动一步,每一步在0.02~0.1mm范围内,即割炬的运动轨迹,实际是一条逼近零件轮廓图形的折线(图8-30);由于步距很小,形似光滑的曲线或直线。

图8-30 数控气割机割炬的运动轨迹

图8-31为数控气割机的总体结构框图,图中数控装置是数控气割的运算和控制系统,它阅读穿孔纸带上记载的数据和指令并进行运算,然后将程序控制和功能控制指令传送给步进电机,再将坐标控制指令经过随动系统传给割炬,并在割炬每移动一步后,都进行偏差判断→割炬进给→偏差计算→终点判断四项工作。

图8-31 数控气割机结构组成

一般情况下,在图8-31中“执行机构”框图的后边,再增加一套位移测量装置,测量出割炬在零件图形上位移的每一点坐标值,并反馈给数控装置,以便随时调整割炬向着消除偏差的方向运动,直至调整到偏差为零,即组成所谓的闭环控制系统,进一步提高气割机的切割精度和生产率。

随便看

 

离鸟网收录3541549条中英文词条,其功能与新华字典、现代汉语词典、牛津高阶英汉词典等各类中英文词典类似,基本涵盖了全部常用中英文字词句的读音、释义及用法,是语言学习和写作的有利工具。

 

Copyright © 2004-2024 vtrois.com All Rights Reserved
更新时间:2026/4/21 0:36:28