网站首页  词典首页


请输入您要查询的字词:

 

字词 支护结构的监测设备
类别 中英文字词句释义及详细解析
释义

支护结构的监测设备


支护结构与周围环境的监测项目虽然很多,但主要分为应力监测和变形监测两种。应力监测主要用机械系统和电气系统的仪器,如钢筋计、土压力计和孔隙水压力计等;变形监测主要用机械系统、电气系统和光学系统的仪器,如水准仪、经纬仪和测斜仪等。

1.钢筋计

(1)钢筋计的工作原理

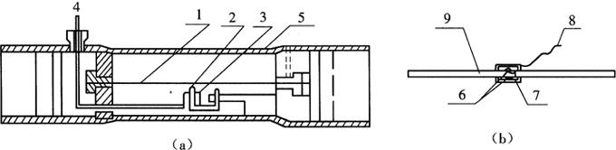
在建筑工程支护结构监测中常用的钢筋计,主要有钢弦式钢筋计和电阻应变式钢筋计两种,它们的接收仪分别是频率仪和电阻应变仪。

1)钢弦式钢筋计。钢弦式钢筋计的工作原理是:当钢筋计受到轴向力时,引起弹性钢弦的张力变化,改变了钢弦的振动频率,通过频率仪测得钢弦的频率变化,即可测出钢筋所受作用力的大小,换算后可得混凝土结构所受的力。钢弦式钢筋计的构造和工作原理如图10-33a所示。

2)电阻应变式钢筋计。电阻应变式钢筋计的工作原理是利用钢筋受力后产生变形,粘贴在钢筋上的电阻应变片则产生应变,从而通过测出应变值得出钢筋所受作用力大小。电阻应变式钢筋计的构造如图10-33b所示。

图10-33 钢筋计的构造示意图

(a)钢弦式;(b)电阻应变式

1-钢弦;2-铁芯;3-线圈;4-引出线;5-钢管外壳;6-电阻应变片;7-密封外壳;8-信号线;9-工作钢筋

钢筋计在基坑工程中可以用来量测:(a)支护桩(墙)沿深度方向的弯矩;(b)支撑的轴力与平面弯矩;(c)结构底板处所承受的弯矩。

(2)钢筋计的使用方法

图10-34所示为钢筋计量测支护桩(墙)弯矩的安装示意图,图10-35所示为钢筋计量测支撑轴力、弯矩的安装示意图。

图10-34 钢筋计量测支护桩(墙)弯矩安装示意图

1-围护结构;2-开挖面钢筋计;3-背开挖面钢筋计

图10-35 钢筋计量测支撑轴力、弯矩安装示意图

(a)量测支撑轴力;(b)量测支撑弯矩1-钢筋计;2-绑扎或焊接

钢弦式钢筋计安装时与结构主筋轴心对焊,一般是沿混凝土结构截面上下或左右对称布置一对钢筋计,或者在四个角处布置四个钢筋计(方形截面)。电阻应变式钢筋计不需要与主筋对焊,只要保持与主筋平行,绑扎或点焊在箍筋上即可。

钢筋计传感部分和信号线一定要进行防水处理;信号线要采用金属屏蔽式,以减少外界因素对信号的干扰;安装完毕后,在浇筑混凝土前要测一次初期值,在基坑开挖前再测一次初期值。我国在建筑工程基坑工程中常用的钢筋计为JXG-1型,其技术性能如表10-7所示。

表10-7 JXG-1型钢筋计的技术性能

2.土压力计

土压力计也称土压力盒,其构造与工作原理和钢筋计基本相同。目前在工程上使用较多的是钢弦式双膜土压力计,其构造如图10-36所示。它的工作原理是:当表面刚性板受到土压力作用后,通过传力轴将作用力传至弹性薄板上,使之产生挠曲变形,同时也使嵌固在弹性薄板上的两根钢弦柱发生偏转,使钢弦应力发生变化,钢弦的自振频率也相应变化,再通过频率仪测得钢弦的频率变化,使用预先标定的压力-频率曲线,即可换算出土压力值。

图10-36 钢弦式双膜土压力计构造

1-刚性板;2-弹性薄板;3-传力轴;4-弦夹;5-钢弦

在基坑开挖的过程中,也可用土压力计来量测作用于挡墙上的土压力变化情况,以便及时了解实际土压力与设计值的差异,以保证支护结构的安全。

图10-37所示为土压力计监测安装示意图,在基坑内侧、外侧均应设置测点,测点离挡墙的距离一般为0.5~2.0m。土中安装土压力计需钻孔埋设,在孔中需要监测的部位设置土压力盒,土压力盒接触面朝土体一侧,并在孔中注入与土体性质基本一致的浆液,将孔中的空隙填充密实。

图10-37 土压力计安装示意图

1-土压力盒;2-钻孔;3-回填土;4-信号线;5-钢筋骨架

目前在我国建筑工程基坑开挖施工中常用的土压力计分为单膜式和双膜式两种,一般多用双膜式土压力计,同时还配有SS-2型袖珍数字式频率接收仪,使用非常方便,其技术性能如表10-8所示。

表10-8 钢弦式土压力计的技术性能

3.孔隙水压力计

孔隙水压力计使用较多的也是钢弦式孔隙水压力计,其构造和工作原理与土压力计极为相似,只是孔隙水压力计中增加了一块透水石(图10-38),土体中的孔隙水压力计和土压力均作用接触面上,但只有孔隙水能够经过透水石将其压力传到弹性薄板上,弹性薄板的变形引起钢弦应力的变化,从而根据钢弦频率的变化测得孔隙水压力值。

图10-38 钢弦式孔隙水压力计构造

1-透水石;2-钢弦;3-线圈;4-防水材料;5-导线

孔隙水压力计可用来量测土体中任意位置的孔隙水压力值大小;监控基坑降水情况及基坑开挖对周围土体的扰动范围和程度;在预制桩、套管桩和钢板桩的沉桩中,可以根据孔隙水压力的消散速率,用来控制沉桩的速度。

在埋设孔隙水压力计之前,首先在选定位置钻孔至要求的深度,并在孔底填入部分干净的砂,然后将孔隙水压力计放至测点位置,再在其周围填入中砂,砂层应高出压力计位置0.20~0.50m为宜,最后用黏土封口。

在建筑工程基坑开挖中常用的孔隙水压力计,有JXS-1型钢弦式和JXS-2型两种,其技术性能如表10-9所示。

表10-9 钢弦式孔隙水压力计的技术性能

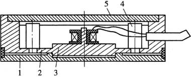
4.测斜仪

测斜仪是利用重力摆锤始终保持铅直方向的性质,测得仪器中轴线与摆锤之间的倾角。倾角的变化可由电信号转换而得出,从而可以知道被测构筑物的位移变化。测斜仪的构造如图10-39所示。

图10-39 测斜仪的构造

1-重力摆锤;2-弹簧铜片;3-电缆线;4-导向轮;5-防震胶座

在测斜仪摆锤上固定一个弹簧铜片,铜片上端固定,下端靠着摆线,当测斜仪发生倾斜时,摆线在摆锤的重力作用下仍保持铅直,压迫弹簧铜片下端,使弹簧铜片发生弯曲,由粘贴在弹簧铜片的电阻应变片输出电信号,测出弹簧铜片的弯曲变形,即可得知测斜仪的倾角,从而推算出测斜管(即挡墙)的位移。

测斜仪在基坑工程中,主要用来量测挡墙的水平位移以及土层中各点的水平位移。

使用测斜仪量测之前,首先在土层中进行钻孔,然后在孔中埋设塑性或铝制测斜管,测斜管与钻孔之间的空隙应回填水泥或膨润土拌合的灰浆。在进行测量时,将测斜仪与标有刻度的信号传输线连接,信号线另一端与读数仪表连接。在测斜仪上有两对导向轮,可以沿测斜管的定向槽滑入管底,然后每隔一段距离向上拉线读数,测定测斜仪与垂直线之间的倾角,从而得出不同标高位置处的水位移。

如果要量测挡墙的位移,一般应将测斜管垂直埋入挡墙内,并且把测斜管与钢筋骨架绑扎牢固。

随便看

 

离鸟网收录3541549条中英文词条,其功能与新华字典、现代汉语词典、牛津高阶英汉词典等各类中英文词典类似,基本涵盖了全部常用中英文字词句的读音、释义及用法,是语言学习和写作的有利工具。

 

Copyright © 2004-2024 vtrois.com All Rights Reserved
更新时间:2026/4/18 22:30:44