网站首页  词典首页


请输入您要查询的字词:

 

字词 播种机的构造和工作原理
类别 中英文字词句释义及详细解析
释义

播种机的构造和工作原理


(一)谷物播种机的一般构造和工作过程

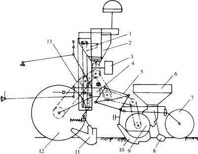
我国生产的谷物播种机系列,能一次完成开沟、排种、排肥与覆土等作业要求,其一般构造如图6-1所示。它主要由机架、种肥箱、排种器、排肥器、输种管、输肥管、开沟器、覆土器、行走轮、传动装置、牵引或悬挂装置、起落机构和深浅调节机构等组成。

图6-1 谷物播种机结构示意

1.种子 2.排种器 3.传动机构 4.机架 5.地轮 6.开沟器 7.播下的种肥 8.复土器 9.输种(肥)管 10.提升拉杆 11.排肥器 12.肥料 13.种肥箱

工作时,播种机随拖拉机行进,开沟器开种沟,地轮通过传动装置,带动排种装置和排肥装置工作,将种、肥排出,经输种(肥)管落入种沟,随后覆土器盖种覆土。

牵引式条播机都装有开沟器起落机构和传动离合器(内闸式升降器),用以操纵开沟器的升降和动力的离合。运输时开沟器升起,离合器分离;工作时开沟器降落,离合器结合。播种深度可通过深浅调节手轮,进行调节。

(二)中耕作物播种机的一般构造和工作过程

我国目前生产的中耕作物播种机,大多是播种、中耕通用机,其构造如图6-2所示。主梁和地轮是通用部件,主梁上按要求的行距安装数组工作部件,每组工作部件包括排种器、开沟器和覆土镇压装置。这种播种机主要用于播种中耕作物,也可以用于条播谷物。播种不同作物时,只需换装相应的播种部件即可。

图6-2 播种、中耕通用机(播种状态)

1.主梁 2.扶手 3.种子筒及排种器 4.脚踏板 5.镇压器 6.覆土板 7.种子成穴盘 8.开沟器 9.行走轮 10.传动链 11.平行四杆仿形机构 12.下悬挂架 13.划行器 14.上悬挂架

工作时,播种机随拖拉机行进,开沟器开出种沟,地轮通过传动装置带动排种器排种,种子器按一定间距将种子排入种沟里,然后覆土板覆土,镇压轮再将覆土压实。

(三)2BJ-6(4)型精量播种机

2BJ-6(4)型精量播种机如图6-3所示。它主要由机架、风机、排种部分、地轮及传动装置等组成。

图6-3 2BJ-6(4)型精量播种机

1.风机及传动带 2.排肥器 3.划印器控制机构 4.机架 5.四杆仿形机构 6.种子箱 7.镇压器 8.覆土器 9.排种器 10.播种开沟器 11.施肥开沟器 12.地轮 13.传动链

排种器是精量播种机的核心部件,是影响精量播质量的主要部件,构造如图6-4所示。这种排种器为气吹式。备有4种型孔大小和数量不同的排种轮,以及4种不同规格的推种片,供播不同种子时选用。工作时型孔轮转动,型孔进入充种区时,种子靠自重和气压差作用充入型孔。转到气流喷嘴下方时,高速气流将一粒种子压附在锥形型孔的底部,并将多余种子冲出。压附一粒种子的型孔,随轮转动,进入护种区后,气压消失,到排种位置时,种子靠自重和推种片的作用推出,落入种沟。

图6-4 排种器

1.壳体盖 2、11.轴承 3.推种片 4、7.垫片 5.排种盘 6.连接盘 8.螺栓 9.光电管座 10.壳体 12.调节垫片 13.喷嘴 14.风管接头 15.密封垫 16.卸种板

气吹式排种器通用性好,更换不同型孔的排种轮和调节吹气压力,可适应播不同作物的种子,改变传动比可以调整株距。由于型孔为锥形,进口较大,且有气流充压作用,因此充填性能好,对种子形状、尺寸要求不严。利用气流清种,单粒排种性能好。可在8~10km/h的作业速度下工作。

随便看

 

离鸟网收录3541549条中英文词条,其功能与新华字典、现代汉语词典、牛津高阶英汉词典等各类中英文词典类似,基本涵盖了全部常用中英文字词句的读音、释义及用法,是语言学习和写作的有利工具。

 

Copyright © 2004-2024 vtrois.com All Rights Reserved
更新时间:2026/4/20 17:57:32