网站首页  词典首页


请输入您要查询的字词:

 

字词 提升器
类别 中英文字词句释义及详细解析
释义

提升器


(一)提升器的功用与组成

提升器的功用是转换液压油的流向并将液压油泵产生的液压能转换为机械能,用来提升农具和控制耕深。它的主要组成部分有提升臂、液压油缸和操纵阀、安全阀等。

(二)提升器的构造

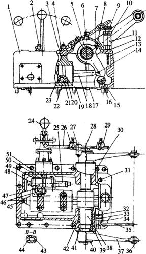
提升器的构造如图3-23所示。提升器的提升轴由提升器壳体上的左、右衬套支撑,可在衬套内转动;内提升臂和提升臂与提升轴作细花键连接,内提升臂通过销子与活塞杆相连接。活塞杆的另一端与液力缸内的活塞相接触,活塞上装有O形密封圈以防液压油的漏损。液力缸通过4个螺栓固定在提升器壳体上,前端并设有顶紧螺栓。当液压油进入油缸时,推动活塞后移,活塞又通过活塞杆推动内提升臂,使提升轴逆时针旋转,提升臂也随之向上转动,再通过悬挂机构,使农具向上提升。

图3-23 提升器

1.提升器壳体 2.螺栓 3.油缸 4.油缸纸垫 5.内提升臂 6.通气塞总成 7.垫圈 8.内提升壁定位螺钉 9.通气帽总成 10.油嘴帽垫圈 11.加油通气螺塞 12.垫圈 13.油尺 14.销6×40 15.定位弹簧 16.钢球 17.纸垫 18.活塞杆 19.底板 20.活塞 21.活塞挡环 22.O形密封圈63×5.7 23.活塞球座 24.操纵阀手柄 25.安全阀总成 26.滑杆合件 27.导向套 28.右挡臂 29.挡叉 30.提升轴右衬套 31.长螺栓 32.销子 33.密封环 34.锁紧轴 35.锁紧轴手柄 36.提升臂球形接头 37.提升臂 38.提升轴 39.隔套 40.挡圈 41.骨架油封 42.提升轴左衬套 43.缓冲阀片 44.螺塞 45.螺栓 46.定位弹簧 47.O形密封圈 48.钢球 49.操纵阀壳体带螺塞组合件 50.操纵阀盖板 51.操纵阀带销组合件

提升器右侧装有操纵阀,操纵阀的构造如图3-24所示。它由阀座孔、阀芯和操纵手柄构成。阀座孔中部有3个油道孔,分别与油泵、油缸和回油道相通。阀芯是一圆柱体,在其腰部,铣有两个弧形槽,两弧形槽由径向孔连通。该部分的断面如图3-25所示,操纵阀的尾部与操纵手柄相连。为了操纵阀工作可靠,还设有限位装置和定位装置。限位装置用来限制阀的转角,由一端伸入阀体,一端伸入阀盖弧形槽的限位销限位。定位装置由定位球、定位弹簧组成。定位钢球在弹簧的作用下,卡入阀体上的凹坑内,以防阀体自由转动。

图3-24 操纵阀

1.泵体 2.操纵阀 3.定位钢球 4.定位弹簧 5.操纵阀盖 6.操纵阀手柄 7.限位销

图3-25 操纵阀芯在不同位置时液压油的流向

a.油泵来油通往油缸 b.油泵来油通往油箱 c.油泵和油缸回油通往油箱

操纵阀芯在不同位置时液压油的流向如图3-25所示。操纵阀处在图3-25a位置时,油泵来油经阀芯和阀座构成的弧形油道通往油缸;操纵阀芯处在图3-25b位置时,通往油缸的油孔被阀芯封闭,油泵来油经弧形油道回油箱;操纵阀芯处在图3-25c位置时,油泵来油经左弧形油道回油箱;油缸回油经右弧形油道和径向油道和左弧形油道回油箱。上述图3-25a、b、c中三个位置分别称操纵阀的“提升”、“中立”和“下降”位置。因此,只要扳动操纵阀手柄使阀芯处在不同位置,就能改变液压系统内油的流向。

安全阀的功用是限制液压系的工作压力,以防压力过高损坏有关零件。其构造如图3-26所示。它由钢球、安全阀弹簧及安全阀调整螺钉组成。如果将调整钉向里拧,弹簧预紧力增加,则限制的工作压力增大;反之,则减小。安全阀在出厂时已经调好,在使用中不得随意调整。如有必要调整,应在专门试验台上进行。

图3-26 安全阀

1.安全阀壳体 2.O形密封圈15×2.4 3.钢球 4.安全阀弹簧支座 5.安全阀弹簧 6.螺母 7.安全阀调整螺钉

(三)提升器的工作原理

如图3-27所示,当操纵手柄处于提升位置时,操纵阀封闭回油道A,油泵来油经操纵阀弧形油道和通向油缸的油道C,进入油缸,推动活塞,并经活塞杆带动内提升臂、提升轴及外提升臂转动,使农具提升。操纵手柄处于中立位置时,操纵阀将油道C封闭,农具停留在某一高度,此时油泵来油经操纵阀的弧形油道和回油道A,流回油箱。当操纵手柄处于下降位置时,操纵阀上的一个弧形槽把油泵来油引向回油道A,使油泵来油直接回油箱。而另一个弧形槽通过径向孔把油缸油道C和回油道A沟通,油缸内的液压油在农具自身重量的作用下经缓冲阀回到油箱,农具下降。若耕作耕深靠限深轮调节时,农具由限深轮支撑,油缸内油液没有外部阻力,可自由进出,此时下降位置又称浮动位置。

图3-27 液压系统工作原理

1.油箱 2.滤清器 3.齿轮泵 4.安全阀 5.操纵阀 6.操纵杆 7.缓冲阀 8.油缸

A.流向油箱 B.油泵来油 C.油缸出油和进油

通常农具的耕作深度和提升位置由限位机构进行限制,农具提升时,右挡臂转动,导向套沿着滑杆向前移动,与前挡叉接触后,克服操纵阀定位弹簧的作用力,推动挡叉滑杆一起向前移动,使操纵杆向中立位置转动。当农具提升到最高位置时,操纵杆和控制阀被拉回到中立位置,农具不再上升。同样道理,降落农具时,导向套沿滑杆向后移动,带动挡叉、滑杆及操纵杆,使操纵阀向中立位置移动,当农具下降到要求耕深时,操纵阀被拉回到中立位置,农具不再下降。

随便看

 

离鸟网收录3541549条中英文词条,其功能与新华字典、现代汉语词典、牛津高阶英汉词典等各类中英文词典类似,基本涵盖了全部常用中英文字词句的读音、释义及用法,是语言学习和写作的有利工具。

 

Copyright © 2004-2024 vtrois.com All Rights Reserved
更新时间:2026/4/19 10:04:08