网站首页  词典首页


请输入您要查询的字词:

 

字词 换气系
类别 中英文字词句释义及详细解析
释义

换气系


换气系的功用是按柴油机工作循环的要求定时地向汽缸供给新鲜、清洁的空气,并及时地排出汽缸的废气。它由进排系和配气机构组成。

(一)进排系

进排系如图1-12所示。

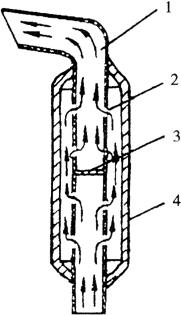
图1-12 进排系

1.空气滤清器 2.进气管 3.进气道 4.进气门 5.排气门 6.排气道 7.排气管 8.消声器

在柴油机进气过程,由于活塞的抽吸作用,外界空气首先进入空气滤清器,经过滤后,再由进气管、进气道、进气门进入汽缸。在柴油机排气过程,汽缸内废气在自身的压力和活塞的挤压作用下,经排气门、排气道、排气管和消声器排出。

目前空气滤清器有湿式和干式两种,湿式空气滤清器的构造如图1-13所示。外界空气经导流板进入,产生高速旋转,空气中较大尘粒在离心力的作用下甩在集尘罩上再落入集尘杯。

图1-13 湿式空气滤清器

1.进风罩 2.导向叶片 3.中心管 4.进气管 5.金属丝滤网 6.油杯 7.储油盘 8.搭攀 9.窗口

经过惯性过滤的空气经中心管向下冲击油碗的油面后急转向上,空气中一部分尘粒由于惯性冲入油碗,被机油吸附,进行湿惯性过滤;空气在向上运动经溅有机油的滤芯,进行湿过滤。空气中的尘粒经干惯性、湿惯性和湿过滤这三级过滤以后,清洁的空气再经进气管,进气道和进气门进入汽缸。由于这种空气滤清器利用机油协助滤清,所以称为湿过滤器。如果不采用机油的滤清器称干式空气滤清器,如图1-14所示。空气经导向片进入,产生高速旋转,空气中较大尘粒在离心惯性力的作用下甩向罩壁,落入排尘袋。经惯性过滤后的空气再进入壳体与纸质滤芯之间的空间,经滤芯过滤后,再经滤芯中心管和出气管进入汽缸,这种空气滤清器只采用干惯性和干过滤两级过滤。

图1-14 干式空气滤清器

1.橡胶垫圈 2.蝶形螺母 3.卡箍 4.螺钉 5.螺母 6.排尘袋 7、12.壳体组件 8.滤芯部件 9.拉紧螺栓 10.密封圈 11.出气管拉架组件

消声器的功用是减少排气噪音,其构造如图1-15所示。利用废气通过其中的空腔、小孔进行膨胀和减速的原理起减少噪音的作用。

图1-15 消声器

1.内管 2.小孔 3.隔板 4.外管

(二)配气机构

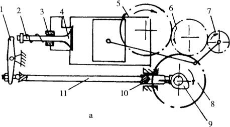
柴油机多采用顶置式配气机构。配气机构的功用是按柴油机工作循环的要求,定时开闭进排气门。其构造如图1-16所示。凸轮轴通过定时齿轮由曲轴带动旋转,当凸轮的凸起部位转向挺柱时,挺柱向上运动通过推杆使摇臂逆时针摆动,克服气门弹簧的弹力,打开气门。当凸轮的凸起部位转离挺柱时,气门弹簧伸张,带动气门向上运动,气门开度减小,而且迫使摇臂顺时针摆动,推杆挺柱向下运动。当挺柱与凸轮的基圆部位接触时,气门即完全关闭。

图1-16 配气机构

a.气门关闭 b.气门开启

1.气门摇臂 2.气门弹簧 3.气门导管 4.气门 5.起动齿轮 6.惰齿轮 7.曲轴正时齿轮 8.凸轮轴正时齿轮 9.凸轮轴 10.挺柱 11.推杆

由于四行程柴油机曲轴每转两转,气门开闭一次,所以凸轮轴的定时齿轮的齿数应为曲轴定时齿轮齿数的两倍。气门开闭时刻和延续时间由定时齿轮安装记号来保证。安装记号应对准(图1-17),否则,气门开闭时刻错乱,柴油机无法工作。

图1-17 定时齿轮安装记号

a.X195型、山东195型柴油机 b.S195型、CC195型柴油机

1.启动齿轮 2.惰齿轮 3.平衡轴齿轮 4.凸轮轴齿轮 5.曲轴齿轮 6.调速器齿轮

气门如图1-18所示。气门的功用是能使新鲜空气进入、废气排出和对汽缸起密封作用。它由气门头和气门杆组成,气门头上的锥面与气门口接触带,称密封带。密封带的宽度不能过宽和过窄。如过宽,密封性变差;如过窄,则传热性差,易烧坏气门和气门口。一般接触带的宽度以1.5~2mm为宜。气门杆尾部开有沟槽,用来安装锁夹。

图1-18 气门及导管

1.气门头 2.气门杆 3.锁夹 4.锁夹槽 5.气门导管

气门导管是与汽缸盖压配在一起,对气门运动起导向作用。

气门弹簧如图1-19所示。其主要功用是关闭气门和吸收配气机构运动件的惯性力。

图1-19 气门弹簧

1.气门弹簧 2.弹簧座

气门摇臂如图1-20所示。其功用是将推杆传来的动力传给气门。与推杆接触的是短臂,而与气门接触的是长臂,目的在于以较小的凸轮升程得到较大的气门开度,减少进气阻力。摇臂短臂上拧有调整螺钉,用来调整气门间隙。

图1-20 气门摇臂

1.摇臂 2.锁紧螺母 3.气门间隙调整螺钉 4.衬套

推杆和挺柱如图1-21所示。其功用是凸轮轴传来的动力传给摇臂。为了挺柱下端面磨损均匀,挺柱中心线偏离凸轮中心线,凸轮与挺柱接触处的摩擦力对挺柱中心产生力矩,使挺柱能绕其轴线转动,使局部摩擦转变为圆周方位的均匀摩擦,从而使挺柱下端面磨损均匀。

图1-21 推杆和挺柱

1.挺柱 2.推杆

凸轮轴和配气定时齿轮如图1-22所示。凸轮轴的功用是将定时齿轮传来的动力传给挺柱。其上有进排气凸轮。利用进排气凸轮之间的夹角和各缸同名凸轮之间的夹角及凸轮轮廓线形保证柴油机的配气相位。

图1-22 凸轮轴和配气定时齿轮

1.凸轮轴 2.键 3.凸轮轴齿轮 4.垫圈 5.弹簧垫圈 6.螺栓 7.止推片

定时齿轮的功用是将曲轴传来的动力传给凸轮轴。定时齿轮与凸轮轴的相对位置由连接键来调整,凸轮轴与曲轴的相对位置以定时齿轮上的记号为准。止推片的作用是限制凸轮轴的轴向游动量。

随便看

 

离鸟网收录3541549条中英文词条,其功能与新华字典、现代汉语词典、牛津高阶英汉词典等各类中英文词典类似,基本涵盖了全部常用中英文字词句的读音、释义及用法,是语言学习和写作的有利工具。

 

Copyright © 2004-2024 vtrois.com All Rights Reserved
更新时间:2026/4/19 13:09:09