网站首页  词典首页


请输入您要查询的字词:

 

字词 挤出造粒设备
类别 中英文字词句释义及详细解析
释义

挤出造粒设备


挤出造粒生产线中主要设备有:捏合机、密炼机、挤出机、机头、切粒机、冷却装置等。

(一)捏合机

捏合机的作用是将各组分添加剂与树脂进行初混合,利用机械搅拌与加热,使原料各组分能分散均匀。捏合机有:螺带式捏合机、Z型搅拌器捏合机和高速混合机(也称高速捏合机)三种。前两种为慢速捏合机,目前普通使用的是高速捏合机。

高速捏合机的结构见图17-1。它由回转盖、混合锅体、搅拌器、折流板、排料装置、加热装置及热电偶、电机等组成。

图17-1 高速捏合机的结构

1-回转盖 2-外套 3-折流板 4-叶轮 5-驱动轴 6-排料口 7-排料气缸 8-夹套

高速捏合机的加热装置有蒸气加热和电加热两种(这种高速混合机简称“热混机”);搅拌速度有高速和低速两档,一般为470/950(r/min);工业生产中常用的容积为200L和 500L两种,装料系数为0.6~0.7。开高速搅拌时,每锅料捏合只需要5~10min,料温可达90~110℃。

从高速捏合机出料的料温为100℃以上。如果下道工序是挤出造粒,则物料必须进行冷却,以防止料局部过热而变色分解;若下道工序进入密炼机,就不需要冷却。

冷却混合机(简称“冷混机”)内有搅拌器,锅体夹套通冷却水。物料在冷混机内均匀降温,排出热量及残留气体。冷混机的容积有500L和1000L两种,分别与热混机200L和500L配套使用。冷混机搅拌器转速为130r/min,冷却时间为5~10min,出料温度降低50℃。

(二)挤出机的选用

对于不同品种及配方的塑料,应选用不同结构的挤出机。

RPVC造粒最好选用锥形双螺杆挤出机;也可选用单螺杆挤出机,其直径为90~120mm,长径比为20~25,压缩比为2.0~2.5。对于SPVC的造粒,以上两类挤出机均可选用,只是螺杆的压缩比要大些(3.0~3.5)会更好。对于PP塑料的造粒,最好选用平行同向旋转的双螺杆挤出机,也可选用带混炼头的单螺杆挤出机或计量型单螺杆挤出机,其长径比和压缩比要比SPVC要大些。

(三)切粒装置

根据粒料的冷却方式不同,切料装置与机头配合各异,其造粒工艺流程与产量也不相同。

1.拉条切粒

这是挤出造粒中最简单、产量较低的造粒方法。其工艺流程如下:

挤出机→滤板与滤网→挤条机头→风冷或水冷却→旋转刀切粒→圆柱形颗粒料。拉条切粒属冷切法造粒,适用于PVC、PE、PP、ABS、PS、HIPS等各种塑料的染色或与少量改性剂、填料的混合挤出造粒。

2.干热切粒

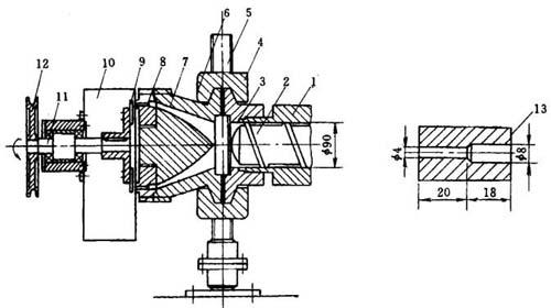
这种方法适合于熔体粘度较大的PVC塑料的造粒,设备简单,操作方便,其机头结构与切粒装置连接见图17-2。这是一种先切粒后冷却的造粒方法。

图17-2 干热切粒机头与切刀连接结构

1-机筒 2-螺杆 3-过滤板 4-哈夫锁紧法兰 5-丝杆 6-模体 7-分流器 8-多孔模板 9-切刀 10-罩子 11-切刀轴 12-皮带轮 13-模板出料孔

从图17-2可知,干热切粒机头为带有分流器的多孔模头,分流器将过滤出来的物料流逐渐减薄,分流至滤板的出料孔。若机头尺寸较大时,出料孔也可多排几圈。从出料孔的放大图可知,孔径由Φ8mm减少至Φ4mm时对物料进行压缩,使出模头的粒料表面光滑,无凹陷和气泡,粒料密实。

切刀轴上一般安装2~4把切刀。若机头尺寸较大,切刀数量也可以增至6~8把。切刀形状可长条形或镰刀形。切刀装置可以前后移动,以便清洗机头。机头与挤出机一般用法兰连接,也可采用图17-2中哈夫锁紧法兰。

3.水下热切粒

这是用于PE、PP树脂制造厂的造粒设备,是挤出造粒产量最高的新型设备。若在聚烯烃树脂中加入大量(加入量超过30%)填料或颜料时,也可采用干热切粒造粒,但产量较低。

4.空中热切粒

这种设备和切刀与干热切粒法差不多,只是对颗粒的冷却方法不同。此法将机头与切刀装入切粒罩内,切粒罩下面鼓入冷风,防止颗粒粘结。冷风将粒料吹起,并冷却粒料;经风送粒料进入冷却装置进一步冷却后包装。为防止机头多孔模板被风冷却,应在模头处设置隔热装置。此法比较适用于SPVC和聚烯烃色母料造粒或改性料造粒。如果用喷淋水代替风冷,则称为水冷空中热切粒,比较适用于PP的造粒。(四)机头切粒装置结构

机头切粒装置结构见图17-3。

图17-3 机头切粒装置结构图

(1)刀轴同心排列 (2)刀轴偏心排列

1-切粒刀 2-刀支架 3-刀轴 4-料粒收集器 5-口模板 6-分流锥

(五)国内部分造粒机组生产厂家

哈尔滨塑模机厂:SJL-90,挤出造粒机组,20∶1,20~60kg/h;

大连橡塑机厂:SJ-FL120、SJ-120×18,造粒机组,18∶1,70~150kg/h;

北京英特塑机厂(原北京塑机厂):MHZ-65A,薄膜回收高速造粒机组,30~60kg/h;

大连凌海(林海)塑机厂:①SZL55、65、70,多功能造粒机组,产量50~100kg/h;②SZL-65/120×13,PP废薄造粒机组,螺杆直径65/120;

胶州市光明塑机厂:SJLZ,挤出造粒机组。

随便看

 

离鸟网收录3541549条中英文词条,其功能与新华字典、现代汉语词典、牛津高阶英汉词典等各类中英文词典类似,基本涵盖了全部常用中英文字词句的读音、释义及用法,是语言学习和写作的有利工具。

 

Copyright © 2004-2024 vtrois.com All Rights Reserved
更新时间:2026/4/21 4:25:56