网站首页  词典首页


请输入您要查询的字词:

 

字词 微灌机械
类别 中英文字词句释义及详细解析
释义

微灌机械


通常,微灌系统由水源、首部枢纽、输水管道和灌水器组成。

(一)首部枢纽

首部枢纽包括水泵、动力机、化肥施入器、过滤器和各种控制测量设备,如图8-32所示。

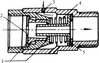
图8-32 微灌系统首部枢纽

1.水泵 2.压力表 3.肥料箱 4.过滤器 5.阀门 6.冲洗管 7.流量调节器

1.过滤器 过滤器的作用就是清除灌溉水中的污物和杂质,防止微灌系统的堵塞,保证系统的正常运行。

过滤器的种类可分为旋流式水砂分离器、洗砂过滤器、滤网过滤器3种。洗砂过滤器又分为单罐自冲洗砂过滤、双罐自冲洗砂过滤和双罐反冲洗砂过滤器。

(1)旋流式水砂分离器:旋流式水砂分离器主要有进水管、出水管、旋涡室、分离室、储污室和排污口等部分组成,其结构如图8-33所示。

图8-33 旋流式水砂分离器的结构

1.进水管 2.出水管 3.旋流室 4.切向加速孔 5.分离室 6.储污室 7.排污口 8.排污管

(2)砂过滤器:砂过滤器属于介质过滤器,其砂床是三维过滤,具有较强的截获污物的能力,是微灌系统中用来清除灌溉水中污物的理想设备。

砂过滤器主要有出水口、进水口、过滤罐体、砂床和排污孔等部分组成。

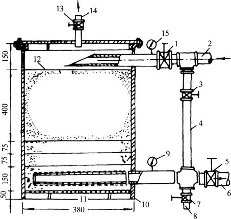
①单罐反冲洗砂过滤器:其结构如图8-34所示。

图8-34 单罐反冲洗砂过滤器的结构(单位:mm)

1.进水阀 2.进水管 3.冲洗阀 4.冲洗管 5.输水阀 6.输水管 7.排水阀 8.排水管 9.压力表 10.集水管 11.150目滤网 12.过滤砂 13.排污阀 14.排污管 15.压力表

②双罐反冲洗砂过滤器:其结构如图8-35所示。

图8-35 双罐反冲砂过滤器的结构

1.进水管 2.排污管 3.反冲洗管 4.三向阀 5.过滤罐进口 6.过滤罐体 7.过滤罐出口 8.集水管 9.反冲洗管

(3)滤网过滤器:滤网过滤器主要由进水口、滤网、出水口和排污冲洗口等部分组成,如图8-36所示。

图8-36 滤网过滤器

1.手柄 2.横旦 3.进口滤罩 4.不锈钢滤网 5.过滤筒 6.冲洗阀门 7.出水口 8.进水口

2.施肥装置 向微灌系统注入可溶性肥料或农药溶液的设备及装置称为施肥装置。微灌系统中常用的施肥装置有压差式施肥罐、开敞式肥料桶、文丘里注入器、注入泵等。

(1)压差式施肥罐:压差式施肥罐由储液罐、进水管、出水管、调压阀等几部分组成,如图8-37所示。

图8-37 压差式施肥罐

1.贮液罐 2.进水管 3.输水管 4.阀门 5.调压阀门 6.供肥管阀门 7.供肥管

(2)开敞式化肥料罐自压施肥装置:在自压微灌系统中,使用开敞式肥料箱(或修建一个肥料池)非常方便。只需把肥料箱放置于自压水源(如蓄水池)的正常水位下部适当的位置上,将肥料箱供水管(及阀门)与水源相连,将供肥管及阀门与微灌主管道连接,打开肥料箱供水阀,水进入肥料箱可将化肥溶解成肥液。

(3)文丘里注入器:文丘里注入器可与敞开式肥料箱配套组成一套施肥装置,如图8-38所示。主要适用于小型微灌系统。

图8-38 文丘里注入器

1.开敞式肥料罐 2.输液管 3.文丘里注入器

(4)注入泵:微灌系统中常使用活塞泵或隔膜泵向灌溉管道中注入肥料或农药。根据泵的动力来源又可分为水驱动和机械驱动两种形式。

3.控制、测量与保护装置 为了保证微灌系统的正常运行,需要在微灌系统中安装阀门、流量表和压力表、流量和压力调节器、安全阀、进排气阀等控制、测量和安全保护装置。

(1)阀门:微灌系统中采用的标准阀门是低压阀门,要求它耐腐蚀、不生锈。常用的阀门有闸阀、球阀、截止阀、安全阀、排气阀几种。

球阀是微灌系统中较为广泛使用的一种阀门,主要用在支管进口处;截止阀具有结构简单、密封性能好、制造维修方便等优点。但是它对水流的阻力比较大,在开启和关闭时用力也较大。安全阀又称减压阀,主要用途是消除管路中超过设计标准或管道所能承受的压力,保证管道安全输水;进排气阀又叫真空破坏阀,主要安装在微灌系统中的供水管、干管、支管和控制竖管的高处。

(2)流量与压力调节装置:流量调节器主要是通过改变过水断面大小和形状来调节流量的。在正常工作压力时流量调节器中的橡胶环处于正常工作状态,通过的流量为所要求的流量;当水压力增加时,水压迫使橡胶环变形,过水断面变小,限制水流通过,使流量保持稳定不变,从而保证了微灌系统各级管网流量的稳定和灌水器流量的均匀度。

压力调节器是用来调节管道中水压使之保持在稳定状态(从而使管道中水流量保持稳定状态)的装置。装在支管或毛管进口处的压力调节器,如图8-39所示。

图8-39 压力调节器

1.橡皮环 2.限位套 3.减压孔 4.调节弹簧 5.活塞栓

在微灌系统中需要经常调节流量和压力,为节约投资,常用安装消能管的办法来调节支管、毛管中的压力和流量,使它达到设计的要求。消能管就是在毛管进口处安装一段直径为4mm的细塑料管(另一端与消能管接头连接,并通过消能管接头和一段毛管与安装在支管上孔旁连接),其工作原理是利用小管径及相应长度的细管沿程摩阻来消除毛管进口处的多余压力,使进入毛管的水流保持在设计允许的压力状态。消能管长度的计算方法为:

式中:L——消能管的长度(m);

△h——毛管进口处支管水头和毛管要求的工作水头之差(m);

Q——毛管进口流量(L/h)。

(3)压力表与水表:压力表是测量管路中水压的,测正压力的表称为压力表,测负压力的表称为真空表。水表是计量管道输水流量大小和计算灌溉用水量多少的仪表,一般装在首部枢纽中过滤器后部的干管上。当微灌系统设计流量较小时,可以使用LXS型旋翼式水表;当系统流量较大时,可以选用水平螺翼式水表。

(二)输水管道

各种管道与连接件及各种控制、测量、安全设备、专用设备安装组成一个微灌输水网络,起着按作物需水要求向田间和作物输水和配水的作用。

1.管道

(1)塑料管:用于微灌系统的塑料管道主要有聚乙烯管、聚氯乙烯管和聚丙烯管3种。塑料管道具有抗腐蚀、柔韧性较高、能适应土壤较小的局部沉陷、内壁光滑、输水阻力小、重量轻和运输安装方便等优点,是理想的微灌用管道。

(2)铸铁管:铸铁管一般可承受980~1000kPa的工作压力。优点是工作可靠,使用寿命长。缺点是输水糙率大,质脆,接头多,施工量大。在长期输水后易发生锈蚀,在管壁上生长瘤,降低输水能力。在微灌中,铸铁管只能用在主过滤器以前作为骨干引水管用,严禁用于田间输配水管网系统。

(3)钢管:钢管的承压能力最高,一般可达1400~6000kPa,与铸铁管相比具有管壁薄、用材省和施工方便等优点。缺点是容易产生锈蚀,所以也仅限于在主过滤器之前使用。

(4)钢筋混凝土管:钢筋混凝土管主要有承插式自应力钢筋混凝土管和预应力钢筋混凝土管两种。优点是可以节省大量钢材和生铁,输水不会产生锈蚀现象,使用寿命长。缺点是质脆、管壁厚、单位长度重、运输困难,在微灌工程中主要用在过滤器以前作引水管道使用。

(5)石棉水泥管:石棉水泥管是用75%~85%的水泥材料与15%~12%的石棉纤维(重量比)混合后用制管机卷成的。石棉水泥管具有耐腐蚀、重量较轻、管道内壁光滑、施工安装容易等优点。缺点是抗冲击力差,在微灌系统中主要用于过滤器之前作引水管道。

2.连接件 连接件是连接管道的部件,亦称管件。根据管道种类和连接方式不同,连接件也不相同。如铸铁管和钢管可以焊接、螺纹连接和法兰连接;铸铁管还可以用承插方式连接;钢筋混凝土管和石棉水泥管可以用承插方式、套管方式及浇注方式连接;塑料管可用焊接、螺纹、套管粘接或承插等方式连接。

(三)灌水器

1.灌水器的功用 灌水器的功用是把末级管道中的压力水流均匀而稳定地分配到田间,满足作物生长对水分的需要。

2.灌水器的分类

(1)按与毛管的连接方式分类:

①管间式:把灌水器安装在两段毛管的中间,使灌水器成为毛管的一部分。管间式灌水器与毛管的连接方式如图8-40a所示。

图8-40 灌水器与毛管的连接方式

a.管间式 b.旁插式 c.管上式

1.毛管 2.灌水器 3.连接管 4.接头

②管上式:直接插装在毛管壁上的灌水器有旁插式滴头、微管、漏水器、孔口滴头和微喷头等。管上式灌水器与毛管的连接方式,如图8-40b和图8-40c所示。

(2)按出水方式分:

①滴水式:滴水式灌水器的出流特征是毛管中的压力水流经过消能后以不连续的水滴或细流形式向土壤灌水。

②喷水式:压力水流通过灌水器的孔口以喷射方式向土壤灌水。根据喷射方式不同又可分为射流旋转式和折射式两种,其形式如图8-41所示。

图8-41 喷水式灌水器

a.束射式 b.散射式

1.带螺纹的接头 2.喷水口 3.分水齿 4.散水锥

③涌泉式:毛管中的压力水流以涌泉方式通过灌水器向土壤灌水,如图8-42所示。

图8-42 涌水式灌水器

1.毛管壁 2.涌水器罩 3.消能室 4.涌水器体

④渗水式:毛管中的压力水通过毛管壁上的许多微孔或毛细管渗出管外而进入土壤,如图8-43所示。

图8-43 渗水式毛管

a.多孔渗水毛管 b.边缝式薄膜管

⑤间歇式:毛管中的压力水流以间歇、脉冲的方式流出灌水器而灌入土壤,又称脉冲灌水方式。间歇式灌水系统是一个封闭回路,主要由导流阀(又称脉冲发生器)、流量调节器、膜片式滴头和连接毛管等部分组成,其结构如图8-44所示。

图8-44间歇式灌水系统的结构

1.供水管 2.导流阀进口 3.导流阀出水口 4.连接毛管 5.膜片式滴头 6.连接毛管 7.导流阀回水口 8.回水室 9.橡皮膜式 10.导流阀排水口 11.活塞柱 12.导流阀出水口 13.橡皮活塞 14.弹簧 15.活塞柱下端

(3)按消能方式分类:按灌水器消能方式可分为长流道消能式、孔口消能式、涡流消能式和压力补偿式等。

①长流道消能式:长流道消能灌水器主要是靠水流与流道壁之间的摩阻耗能来调节出水能大小的,如微管、内螺纹及迷宫型管式滴头等,同属于长流道消能灌水器。

②孔口消能式:以孔口出流造成的局部水头损失来消能的灌水器,如孔口滴头、多孔毛管等均属于孔口式灌水器。

③涡流消能式:水流进入灌水器的涡室内形成旋涡流,由于水流旋转运动产生的离心力迫使水流趋向涡室的边缘,在涡流中心产生一低压区,使中心的出水口处压力较低,因而出水量较小。

④压力补偿式:压力补偿式灌水器是借助水流压力使弹性体部件或流道改变形状,从而使过水断面面积大小变化,以保证出水流量稳定的灌水方式。

(4)按水流流态分类:

按灌水器的水流流态可分为层流式和紊流式两种。

①层流式:水流在灌水器中的流态为层流,如微孔管、内螺纹管式滴头均为层流灌水器。

②紊流式:水流通过灌水器的流态为紊流,如孔口式头、迷宫式滴头、微喷头等均属于紊流灌水器。

3.常用灌水器结构及工作原理

(1)微管:微管又称发丝管,它实际上是一种Φ0.8~1.5mm的黑色聚乙烯管直接插入毛管进行灌溉的一种方式。当毛管中的压力水流通过微管时,由于沿程阻力损失,逐渐消耗掉了压力水流所具有的能量,最后使连续的压力水流变成不连续的水滴或细流而流出微管。微管的安装方式有直线散放式和缠绕式两种,如图8-45所示。

图8-45 微管灌水器

a.缠绕式 b.直线散放式

(2)管式滴头:管式滴头仍然是根据长流道消能原理由塑料制成的。当压力水流经过又窄又长的内螺纹式迷宫流道时,能量渐渐地被消耗掉,压力水流变成不连续的水滴流出滴头。国产内螺纹管式滴头的结构如图8-46所示。

图8-46 内螺纹管式滴头的结构

1.滴头套 2.滴头芯 3.螺旋流道 4.进水口

(3)孔口滴头:孔口滴头是一种结构简单、工作可靠、价格低廉的灌水器,具有安装方便,流量不受水温变化影响等优点,在不少地方得到广泛使用。孔口式滴头的结构如图8-47所示。

图8-47 孔口式滴头的结构

1.进口 2.出口 3.横向出水道

(4)膜片式多孔毛管:膜片式多孔毛管是直接在Φ10mm的毛管上打孔,并在打孔处装上一可拆卸的保持膜片而成的,其结构如图8-48所示。当压力水流从孔口射出时,碰到膜片被折射消能,然后顺着毛管外壁和膜片之间的缝隙流出。

图8-48 膜片式多孔毛管的结构

1.出水口 2.毛管 3.膜片套

(5)双腔毛管:为了提高灌水均匀度,延长毛管长度,降低工程投资和减少堵塞,在多孔毛管的基础上又研制出了双腔管,又称双壁管或滴灌带。双腔毛管由内、外两个腔组成,内腔起输水作用,外腔只起配水作用。因此,又把内腔称输水腔,外腔称配水腔,其结构如图8-49所示。

图8-49 双腔毛管的结构

1.内管腔 2.外管腔 3.出水孔 4.配水孔

(6)微喷头:按照工作原理分类,常用微喷头有射流式、离心式、折射式和缝隙式4种。射流式有运动部件,又称旋转式。后3种没有运动部件称固定式微喷头。国产微喷头主要有折射式和旋转式两种。

①折射式微喷头:折射式微喷头如图8-50所示。主要由支架、折射椎、喷嘴和接头4部分组成。当压力水头从孔口喷出并碰到孔顶部的折射椎时,水流受阻后改变流向,并在折射面形成薄水层后向四周喷出,在空气阻力、水流内部涡流和水流与椎面摩阻力的作用下,薄水层被粉碎成细微的水滴落到地面进行灌溉。因此,又把折射式微喷头称为雾化喷头。

图8-50 折射式微喷头

a.双向式 b.单向式

②射流旋转式微喷头:射流旋转式微喷头,主要由支架、旋转臂、散水椎和接头4部分组成。

LWP两用微喷头,如图8-51所示。正常情况下水流反作用力推动旋转臂运动,旋转臂又带着水流作旋转运动,把水洒在微喷头周围的地面上进行灌溉。如果拆下摇臂,把摇臂轴倒装,使散水椎正对着喷水口,这样水流就被折射,并由空气阻力作用粉碎成细小的水滴落到地面。

图8-51 LWP两用微喷头

1.支架 2.散水椎 3.旋转臂 4.接头

W2型旋转式微喷头,如图8-52所示。其工作原理与LWP微喷头相似。

图8-52 W2型旋转式微喷头

1.外壳 2.喷嘴 3.进水管

随便看

 

离鸟网收录3541549条中英文词条,其功能与新华字典、现代汉语词典、牛津高阶英汉词典等各类中英文词典类似,基本涵盖了全部常用中英文字词句的读音、释义及用法,是语言学习和写作的有利工具。

 

Copyright © 2004-2024 vtrois.com All Rights Reserved
更新时间:2026/4/20 19:29:16