网站首页  词典首页


请输入您要查询的字词:

 

字词 弯销抽芯机构
类别 中英文字词句释义及详细解析
释义

弯销抽芯机构


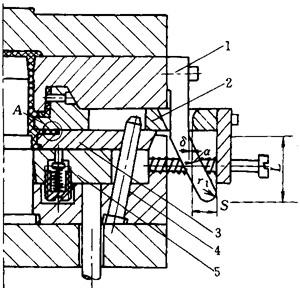
弯销是斜导柱的变异形式,弯销具有矩形断面,能承受较大的弯距,斜角最大可达30°。图4-114为带有延迟分型作用的弯销抽芯机构,开模时滑块带动塑件脱离主型芯3,然后弯销带动滑块分型,塑件自动脱落。图4-115为弯销各段加工成不同的斜度,用以改变抽拔速度和抽拔距。图4-116为弯销置于定模边的内侧抽芯,开模时,在弯销2的带动下,滑块1向塑件的内部移动完成侧抽芯,同时塑件被带到动模,最后有由推杆顶出。图4-117为弯销置于动模边的内侧抽芯,开模时,由于拉钩的限制模具首先由A—A面分型,弯销2带动滑块1完成抽芯动作,继续开模拉钩打开,同时限位钉3限位,模具沿B—B面分型,将塑件带到动模,最后塑件由推件板推出。

图4-114 弯销延迟分型机构

1—定模板 2—锁紧块 3—型芯 4—滑块 5—弯销

图4-115 不同斜角的弯销抽芯机构

1—滚轮 2—弯销 3—滑块

图4-116 定模弯销内侧抽芯

1—滑块 2—弯销

图4-117 动模弯销内侧抽芯

1—滑块 2—弯销 3—限位钉

图4-118为弯销、斜导柱分级抽芯。由于制品A处较薄,为避免制品被夹坏,采用分级抽芯。滑块2可在滑块3上滑动,滑块3可在推板5上滑动,开模时在弯销1作用下,完成滑块2的抽芯,顶出时,推板5被推动,斜导柱4拨动滑块3完成二级抽芯。

图4-118 弯销、斜导柱分级抽芯机构

1—弯销 2—滑块 3—滑块 4—斜导柱 5—推板

图4-119为弯销二级抽芯机构。由于制品内圈较薄,为防止该处拉坏,采取了二级抽芯。开模时,由于止动销8的作用,弯销6先带动外滑块5,型芯由接头3与外滑块连接,从而使型芯1抽动,消除制品对其包紧力,继续抽拔至S1距离时,止动销8已脱开内滑块4,通过限位螺钉7开始二级抽芯,此时内滑块4被带动,从而带动型芯2完成整个抽芯过程。

图4-119 弯销二级抽芯机构

1—型芯 2—型芯 3—接头 4—内滑块 5—外滑块 6—弯销 7—限位螺钉 8—止动销

随便看

 

离鸟网收录3541549条中英文词条,其功能与新华字典、现代汉语词典、牛津高阶英汉词典等各类中英文词典类似,基本涵盖了全部常用中英文字词句的读音、释义及用法,是语言学习和写作的有利工具。

 

Copyright © 2004-2024 vtrois.com All Rights Reserved
更新时间:2026/4/21 4:31:30