导轨安装后,还需要固定导轨底座,将导轨最下段固定在导轨底座上,并用混凝土浇灌,操作工艺如下:
(1)将导轨底的支承木块(100mm)抽出。如果导轨重量都集中在了支承木块上,那么木块将很难抽出,所以可以在吊装导轨的时候垫砖头来代替木块。
(2)将导轨底座用两件导轨压板固定在最下面一条导轨上。如图4.6-1所示。

图4.6-1 导轨底座
(3)在导轨底座的两个Φ13圆孔内插入M12撞拉式膨胀螺栓。
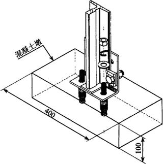
(4)在导轨底座与底坑地面之间捣制混凝土墩,混凝土墩尺寸如图4.6-2所示。

图4.6-2 导轨底座安装示意
(5)混凝土墩捣制2~3d后,将两撞拉式膨胀螺栓紧固。