网站首页  词典首页


请输入您要查询的字词:

 

字词 大模板的类型及组合方案
类别 中英文字词句释义及详细解析
释义

大模板的类型及组合方案


(一)大模板的结构类型

我国目前的大模板工程大体分为三类:第一类是全现浇结构;第二类是内浇外挂结构;第三类是内浇外砌结构。

1.全现浇结构

建筑物的内墙和外墙全部采用大模板现浇钢筋混凝土结构,根据隔热保温的需要外墙可以采用轻集料混凝土,如果内外墙都采用普通混凝土,在北方地区有时外墙内侧需设置保温隔热材料。这种类型的结构,整体性好、用钢量少、造价较低。但施工时需高空作业,外装修工程量大、工序多、工期长、模板型号多、外墙模板的支设比较复杂。

2.内浇外挂结构

建筑物的外墙预制内墙现浇结构,即预制承重的外墙板,而内墙采用现浇;或者预制非承重外墙板,而内墙采用现浇;或者预制承重和非承重外墙板,而内墙采用现浇。预制的外墙板,有单一材料的,也有复合材料的。这种类型的结构施工,可以将工厂预制装配化和现场施工机械化有机地结合起来,结构整体性好,抗震能力强,减少了施工时高空作业及外墙板装修工程量,施工速度快,施工工期短。但结构用钢多、运输量大、施工占用场地大,外墙板缝的防水要求高。

3.内浇外砌结构

建筑物的内墙为现浇大模板钢筋混凝土,外墙采用普通黏土砌体。这种建筑结构抗震性比较差,但比一般砖混结构的抗震性强,内墙的装饰工程量小,施工速度快,施工工期短。

(二)大模板的组合方案

在建筑工程施工中,大模板的平面组合方案取决于结构体系,实际工程中常用的组合方案主要有:无角模方案、大角模方案、小角模方案和筒形模方案等。

1.无角模方案

无角模方案也称为平模方案。一块墙面采用一块平模,由于墙角处没有角模,纵横墙需分别施工或者外墙和内纵墙采用预制墙板。

2.大角模方案

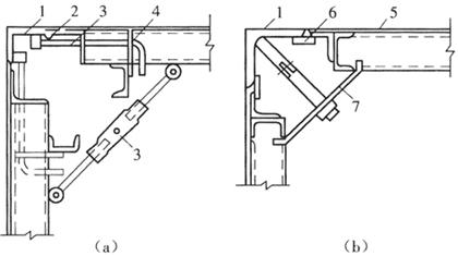
大角模方案为房间墙角的内模由四个大角模组合而成,自成一个封闭体系。外模可用平模或外墙采用预制墙板。大角模是由两块平模组成的,在组成角模的两块平模连接部分装上四个大合页,使一侧平模以另一侧平模为支点,以合页为圆心转动,如图9-12所示。

图9-12 大角模构造示意图

1-合页;2-花篮螺丝;3-固定销子;4-活动销子;5-调整用螺旋千斤顶

3.小角模方案

小角模方案是在纵横墙一起浇筑的施工方案中,在纵横墙相交的阴角处采用100mm×10mm的角钢作为转角模板,使每个房间内模仍成为一封闭支撑体系。小角模构造主要有两种:一种是在平模上带合页角钢,能自由转和和装拆(图9-13a);另一种是小角模不带合页,采用以大平模压小角钢的办法(图9-13b)。

图9-13 小角模构造示意图

(a)带合页的小角模;(b)不带合页的小角模

1-小角模;2-合页;3-花篮螺栓;4-转动铁拐;5-平模;6-扁铁;7-压板

为避免小角模拆模困难,减轻搬运时的劳动强度,也可将角钢改为80mm×90mm的方木,形成方木角模。

4.筒形模方案

筒形模方案是将一个房间内各面墙体的独立的大模板通过挂轴悬挂在钢架上,墙角用小角钢拼接起来形成一个整体式大模板,如图9-14所示。当采用筒形模时,外墙通常采用大型预制墙板。

图9-14 筒形模构造示意图

1-墙面模板;2-穿墙螺栓;3-钢架;4-调整螺栓;5-小角模;6-横肋;7-竖肋;8-吊轴;9-拉杆;10-支杆;11-出入门;12-操作平台;13-爬梯

大模板之间的连接,内墙相对的两块平模,是用穿墙螺栓拉紧,顶部的螺栓也可用卡具代替,如图9-15所示。外墙的内外模板连接方式有两种,一般是在外模板的竖楞上焊一槽钢横梁,用其将外模板悬挂在内模板上,如图9-16所示;有时也可将外模板支承在附墙式外脚手架上。

图9-15 内墙大模板的连接方式

图9-16 悬挑式外模板的连接方式

1-外墙的外模板;2-外墙的内模板;3-内墙模板

随便看

 

离鸟网收录3541549条中英文词条,其功能与新华字典、现代汉语词典、牛津高阶英汉词典等各类中英文词典类似,基本涵盖了全部常用中英文字词句的读音、释义及用法,是语言学习和写作的有利工具。

 

Copyright © 2004-2024 vtrois.com All Rights Reserved
更新时间:2026/4/18 23:53:46