网站首页  词典首页


请输入您要查询的字词:

 

字词 大体积混凝土结构施工
类别 中英文字词句释义及详细解析
释义

大体积混凝土结构施工


大体积混凝土结构的施工,与普通钢筋混凝土结构的施工基本相同,但又具有自己的特点。其包括钢筋工程、模板工程和混凝土工程的施工。

(一)钢筋工程施工

大体积混凝土结构的钢筋,具有数量多、直径大、分布密、上下层钢筋高差较大、整体性要求较高等特点,这是与一般混凝土结构的明显区别。

为使钢筋网片的网格方整划一、间距正确、便于施工,在进行钢筋绑扎或焊接时,可采用4~5m长的卡尺限位绑扎,如图11-19所示。即根据钢筋间距在卡尺上设置缺口,绑扎时在长钢筋的两端用卡尺缺口卡住钢筋,待绑扎牢固后拿去卡尺,这样既能满足钢筋间距的质量要求,又能加快绑扎钢筋的速度。钢筋的连接,可采用气压焊、对接焊、锥螺纹和套筒挤压连接等方法。

图11-19 绑扎钢筋用的角钢卡尺

1.63×6;2.Φ12把手

大体积混凝土结构由于厚度较大,多数设计为上、下两层钢筋。为保证上层钢筋的标高和位置准确无误,应设立支架支撑上层钢筋。过去多用钢筋作为支架,不仅用钢量大,稳定性差,操作不安全,而且难以保持上层钢筋在同一水平面上。因而,目前一般采用角钢焊制的支架来支承上层钢筋的重量、控制钢筋的标高、承担上部操作平台的全部施工荷载。钢筋支架立柱的下端焊在钢管桩的桩帽上,在上端焊上一段插座管,插入Φ48钢筋脚手管,用横楞和满铺脚手板组成浇筑混凝土用的操作平台(图11-20)。

图11-20 钢筋支架及操作平台

1—Φ48脚手架;2-插座管(内径50mm);3-剪刀撑;4-钢筋支架;5-前道振捣;6-后道振捣

钢筋网片和骨架多在钢筋加工厂加工成型,然后运到施工现场进行安装。但工地上也要设简易的钢筋加工成型机械,以便对钢筋整修和临时补缺加工。

(二)模板工程施工

模板是保证工程结构设计外形和尺寸的关键,而混凝土对模板的侧压力是确定模板尺寸的依据。大体积混凝土的浇筑常采用泵送混凝土工艺,该工艺的特点是浇筑速度快,浇筑面集中。

由于泵送混凝土的操作工艺决定了它不可能做到同时将混凝土均匀地分送到浇筑混凝土的各个部位,所以,往往会使某一部位的混凝土升高很大,然后才移动输送管,依次浇筑其他部位的混凝土。因此,采用泵送工艺的大体积混凝土的模板,绝对不能按照传统、常规的办法配置。而应当根据实际受力状况,对模板和支撑系统等进行认真计算,以确保模板体系具有足够的强度和刚度。

1.泵送混凝土对模板侧压力计算

泵送混凝土对模板的最大侧压力,各国均有自己的经验公式,根据我国的实际情况,可采用下列两种方法计算:

(1)按我国现行有关规范计算

我国《混凝土结构工程施工质量验收规范》(GB 50204—2002)中对模板侧压力的计算,规定可按下列两式计算,并取两式中的较小值:

式中 F——新浇筑混凝土对模板的最大侧压力(kN/m2);

γ——新浇筑混凝土重力密度(kN/m3);

β1——外加剂的影响修正系数。不掺加外加剂时取1.0;掺具有缓凝作用外加剂时取1.2;

β2——混凝土坍落度影响修正系数,当坍落度小于100mm时,取1.10;不小于100mm时,取1.15;

t0——新浇筑混凝土的初凝时间(h),可按实测确定;当缺乏试验资料时,可采用公式t0=200/(T+15)计算;

T——混凝土浇筑时的温度(℃);

V——混凝土的浇筑速度(m/h);

H——混凝土侧压力计算位置处至新浇筑混凝土顶面的总高度(m)。

(2)借鉴国外的施工经验

日本建筑学会通过在若干工程试验实践后,在《建筑规范JSSA-5钢筋混凝土》中推荐了一些侧压力计算的经验公式。我国经过一些工程的实践,认为具有一定的参考价值。经验公式如表11-13所列。

表11-13 混凝土作用在模板上的最大侧压力

注 1.V——混凝土浇筑速度(浇筑混凝土的上升速度)(m/h);

2.H——混凝土浇筑高度,柱或墙的高度是指从该楼层面到上层梁底为止的高度(m);

3.γ——混凝土的重力密度,.一般取2400kg/m3

4.根据上表求得底部模板面上单位面积的最大侧压力,这个侧压力对于整个高度呈三角形分布,下端最大,上端为零,其合力重心在底部1/3处。

2.侧模及支撑

根据以上公式计算出的混凝土的最大侧压力值,可确定模板体系各部件的断面和尺寸,在侧模及支撑设计与施工中,应注意以下几个方面:

(1)由于大体积混凝土结构基础垫层面积较大,垫层浇筑后其面层不可能在同一水平面上。因此,在钢模板的下端常铺设一根500mm×100mm小方木,用水平仪找平调整,确保安装好钢模板上口能在同一标高上。另外,沿基础纵向两侧及横向混凝土浇筑最后结束的一侧,在小方木上开设50mm×300mm的排水孔,以便将大体积混凝土浇筑时产生的泌水和浮浆排出坑外。

(2)基础钢筋绑扎结束后,应进行模板的最后校正,并焊接模板内的上、中、下三道拉杆。上面一道先与角铁支架连接后,再用圆钢拉杆焊在第三排桩帽上,中间一道拉杆斜焊在第二排桩帽上,下面一道直接焊接在底层的受力钢筋上。

(3)为了确保模板的整体刚度,在模板外侧布置三道统长横向围檩,并与竖向肋用连接件固定。

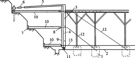
(4)由于泵送混凝土浇筑速度快,对模板的侧向压力也相应增大,所以,为确保模板的安全和稳定,在模板外侧另加三道木支撑,如图11-21所示。

图11-21 侧模支撑示意图

1-钢管桩;2-混凝土垫层面;3-40×4角铁搁栅;4—5mm钢模板板面;5-50×5,每模板2根(校正模板上口位置);6-花篮螺栓;7-统长木垫头板;8—2根8号统长槽钢腰梁;9—2根8@1000;10-75mm×75mm方木@1000;11—50mm×100mm小方木,上口找平;12-Φ22拉杆;13-拉杆与受力钢筋焊接

(三)混凝土工程施工

高层建筑基础工程的大体积混凝土浇筑数量巨大,如新上海国际大厦17000m3,上海煤炭大厦21000m3,上海世界贸易商城24000m3,很多工业设备的基础亦达数千立方米以至万立方米以上。对于这些大体积混凝土的浇筑,最好采用集中搅拌站供应商品混凝土,搅拌运输车运送到施工现场,由混凝土泵(泵车)进行浇筑。

采用商品混凝土,这是一个全盘机械化的混凝土施工方案,其关键是如何使这些机械相互协调,否则任何一个环节的失调,都会打乱整个施工部署。

1.施工平面布置

混凝土泵送能否顺利进行,在很大程度上取决于合理的施工平面布置、泵车的布局以及施工现场道路的畅通。

(1)混凝土泵车的布置

混凝土泵车的布置是保证混凝土顺利浇筑的核心,在布置时应注意以下几个方面:

1)根据大体积混凝土的浇筑计划、顺序和速度等要求,选择混凝土泵车的型号、台数,确定每一台泵车负责的浇筑范围。

2)在泵车布置上,应尽量使泵车靠近基坑,使布料杆扩大服务半径,使最长的水平输送管道控制在120m左右,并尽量减少用90°的弯管。

3)严格施工平面管理和道路交通管理,抓好施工道路的质量,是确保泵车、搅拌运输车正常运输的重要一环。因此,各种作业场地、施工机具和材料都要按划定的区域和地点操作或堆放,车辆行驶路线也要分区规划安排,以保证行车的安全和畅通。

(2)防止泵送堵塞的技术措施

在泵送混凝土的施工过程中,最容易发生的是混凝土堵塞,为了充分发挥混凝土泵车的效率,确保管道输送畅通,可采取以下技术措施:

1)在混凝土施工过程中,加强混凝土的级配管理和坍落度控制,确保混凝土的可泵性。在常温情况下,一般每隔2~4h进行一次检查,发现坍落度有偏差时,及时与搅拌站联系加以调整。

2)搅拌运输车在卸料之前,应首先高速运转1min,使卸料时的混凝土质量均匀。

3)严格对混凝土泵车的管理,在使用前和工作过程中,要特别重视“一水”(冷却水)、“三油”(工作油、材料油和润滑油)的检查。在泵送过程中,气温较高时,如果连续压送,工作油温可能会升温到60℃,为了确保泵车正常工作,应对水箱中的冷却水及时调换,控制油温在50℃以下。

2.大体积混凝土的浇筑

大体积混凝土的浇筑与其他混凝土的浇筑工艺基本相同,一般包括搅拌、运送、浇筑入模、振捣及平仓等工序,其中浇筑方法可结合结构物大小、钢筋疏密、混凝土供应条件以及施工季节等情况加以选择。

(1)混凝土浇筑方法

为保证混凝土结构的整体性,混凝土应当连续浇筑,要求在下层混凝土初凝前就被上层混凝土覆盖并捣实。为此,要求混凝土按不小于下述数量进行浇筑:

Q=F·h/T (11-8)

式中 Q——需要的混凝土浇筑量(m3/h);

F——混凝土浇筑区的面积(m2);

h——混凝土每层浇筑厚度(m);

T——下层混凝土从开始浇筑到初凝的延续时间(h)。

根据结构特点不同,可分为全断面分层浇筑、分段分层浇筑和斜面分层浇筑等方案,如图11-22所示。目前工程上常用的是斜面分层浇筑法。

图11-22 大体混凝土结构浇筑方案

(a)全断面分层浇筑;(b)分段分层浇筑;(c)斜面分层浇筑

1-模板;2-新浇筑的混凝土

1)全断面分层浇筑。全断面分层浇筑,即在整个模板内全面分层,浇筑区面积即为基础平面面积。第一层全面浇筑完毕后浇筑第二层,第二层要在第一层混凝土初凝之前,全部浇筑振捣完毕,如此逐层进行,直至全部基础浇筑完成。这种浇筑方法要求搅拌系统的生产率能满足浇筑量的要求,运用于一般平面尺寸不大的结构。

2)分段分层浇筑。分段分层浇筑,即混凝土从低层开始浇筑,进行一定距离后就回头浇筑第二层,如此向前呈阶梯形推进。当结构厚度不大,而面积或长度较大时,可采用分段分层浇筑法。其分段的长度主要与搅拌系统生产能力Q、混凝土初凝时间t、结构的宽度B、每层浇筑的时间间隔T、混凝土浇筑层厚度h等有关。

3)斜面分层浇筑。斜面分层浇筑,即浇筑工作从浇筑层斜面下端开始,逐渐向上移动浇筑,这时振动器应与斜面垂直振捣。斜面分层也可以视为分段分层、分段长度小到一定程度的情况。

斜面分层浇筑,即当结构的长度超过其厚度的三倍时,可以采用斜面分层浇筑。采用此方案时,斜面坡度取决于混凝土的坍落度,混凝土浇筑厚度一般为20~30cm,振捣工作应从浇筑层的下端开始。

(2)混凝土的振捣

根据混凝土泵送时会自然形成一个坡度的实际情况,在每个浇筑带的前、后应布置两道振动器,第一道振动器布置在混凝土的卸料点,主要解决上部混凝土的捣实;第二道振动器布置在混凝土的坡脚处,以确保下部混凝土的密实。随着混凝土浇筑工作的向前推进,振动器也相应跟上,以保证整个高度混凝土的质量。其具体布置如图11-23所示。

图11-23 混凝土振捣示意图

1-前道振动器;2-后道振动器

(3)混凝土施工要点

在大体积混凝土浇筑施工时,为保证混凝土在浇筑时不发生离析,便于浇筑振捣密实和施工的连续性,施工过程中应注意满足以下要求:

1)混凝土拌合物自由下落的高度超过2m时,应采用串筒、溜槽或振动管下落工艺,以保证混凝土拌合物不发生离析。

2)当采用分层浇筑方案时,混凝土每层的厚度H应符合表11-14中的规定,以保证混凝土能够振捣密实。

表11-14 大体积混凝土的浇筑层厚度

3)采用分层分段浇筑方案时,在下层混凝土达到初凝之前,应保证将上层混凝土浇筑并振捣完毕,以确保结构的整体性。

4)采用分层分段浇筑方案时,尽量使混凝土的浇筑强度(m3/h)保持一致,混凝土供料比较均衡,以保证施工的连续性。

3.混凝土的泌水处理和表面处理

(1)混凝土的泌水处理

大体积混凝土施工,由于采用大流动性混凝土进行分层浇筑,上下层施工的间隔时间较长(一般为1.5~3h),经过振捣后上涌的泌水和浮浆易顺着混凝土坡面流到坑底。当采用泵送混凝土施工时,泌水现象尤为严重,解决的办法是在混凝土垫层施工时,预先在横向上做出2cm的坡度;在结构四周侧模的底部开设排水孔,使泌水及时从孔中自然流出;少量来不及排除的泌水,随着混凝土浇筑向前推进被赶至基坑顶端,由顶端模板下部预留孔排至坑外。

当混凝土大坡面的坡脚接近顶端模板时,应改变混凝土的浇筑方向,即从顶端往回浇筑,在原斜坡相交成一个集水坑,另外有意识地加强两侧模板外的混凝土浇筑强度,这样集水坑逐步在中间缩小成小水潭,然后用软轴泵及时将泌水排除。采用这种方法适用于排除最后阶段的所有泌水,如图11-24所示。

图11-24 顶端混凝土浇筑方向及泌水排除

1-顶端混凝土浇筑方向(①②……表示分层浇筑流程);2-软轴抽水机排除泌水;3-排水沟

(2)混凝土的表面处理

大体积混凝土(尤其采用泵送混凝土工艺),其表面水泥浆较厚,不仅会引起混凝土的表面收缩开裂,而且会影响混凝土的表面强度。因此,在混凝土浇筑结束后要认真进行表面处理。处理的基本方法是在混凝土浇筑4~5h左右,先初步按设计标高用长刮尺刮平,在初凝前(因混凝土内掺加木质素磺酸钙减水剂,初凝时间延长到6~8h)用铁滚筒碾压数遍,再用木蟹打磨压实,以闭合收水产生的裂缝,经12~14h后,覆盖二层草袋(包)充分浇水湿润养护。

随便看

 

离鸟网收录3541549条中英文词条,其功能与新华字典、现代汉语词典、牛津高阶英汉词典等各类中英文词典类似,基本涵盖了全部常用中英文字词句的读音、释义及用法,是语言学习和写作的有利工具。

 

Copyright © 2004-2024 vtrois.com All Rights Reserved
更新时间:2026/4/21 9:14:16