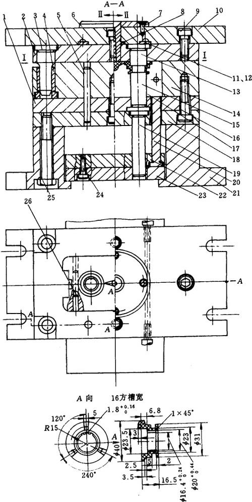
该模具为典型的带活动镶件的注塑模具,型腔由两个成型滑块构成,脱模时随塑件一起取出模外,再与塑件分离。这种带活动镶件的注塑模具,模具结构简单,动作可靠,但生产效率低,不能实现自动化生产。
开模后,推块20将成型滑块17推出动模板14,然后在模外用卸模架打开成型滑块,取出塑件,见图5-3。

图5-3 塑料活动圈注塑模具
1—型芯固定板 2—定模板 3—带肩导柱 4—带头导套 5—圆柱销 6—定位圈 7—沉头螺钉 8—浇口套 9—内六角螺钉 10—定模座板 11—密封环 12—水管接头 13—型芯 14—动模板 15—型芯 16—内六角螺钉 17—成型滑块 18—支撑板 19—推板导柱 20—推块 21—支架 22—推杆固定板 23—推板 24—螺钉 25—螺钉 26—导销