网站首页  词典首页


请输入您要查询的字词:

 

字词 塑料外壳式断路器
类别 中英文字词句释义及详细解析
释义

塑料外壳式断路器


1.适用范围

塑料外壳式断路器适用于交流50Hz或60Hz,额定电流从6A至2000A,额定绝缘电压690V,额定工作电压690V及以下的配电中。一般作为配电保护用,壳架等级400A及以下的断路器亦可作为保护电动机之用。在正常情况下,断路器可分别作为线路的不频繁转换及电动机的不频繁起动之用。

配电用断路器,在配电网络中用来分配电能且作为线路及电源设备的过载、短路和欠电压保护。

保护电动机用断路器,在400V配电网络中,用作鼠笼型电动机的起动和运转中分断及其过载、短路和欠电压保护。

带剩余电流保护的断路器还可作为人身触电和设备漏电保护之用,也可用来防止因设备绝缘损坏,产生接地故障电流而引起的火灾危险。

2.常用塑料外壳式断路器结构特征

塑料外壳式断路器是由触头系统、操作机构、脱扣系统、灭弧系统及绝缘件等组成,当过载电流或短路电流达到或超过其规定值时,断路器能自动跳闸,从而切断电源,保护负载侧的设备。

(1)Z20系列断路器是以Y型为基础产品,C型、J型和G型断路器是在Y型产品基础上派生设计而成(除C型160A外)。J型断路器是将Y型断路器的触头进行结构改造,达到提高通断能力的目的。G型断路器是在Y型断路器的底板后串联一个平行导体组成斥力限流触头系统,因此能更迅速地限流。C型断路器是为满足630kVA及以下变压器电网中的配电保护之用,能够达到较好的经济效果。DZ20□W无飞弧断路器是DZ20J、Y型的改进型,使断路器在断开时所产生的电弧在灭弧室内冷却、熄灭,不会窜到断路器本体以外,使断路器满足了无飞弧的要求。

(2)CM1系列断路器具有体积小,短路分断能力高,飞弧距离小,抗震动等特点。按照其额定极限短路分断能力(Icu)的高低,分为C型(基本型)、L型(标准型)、M型(较高分断型)、H型(高分断型)四类。断路器可垂直安装,亦可水平安装。

3.常用塑料外壳式断路器产品型号和主要技术参数

常用塑料外壳式断路器产品型号和主要技术参数见表1-50。

表1-50 常用塑料外壳式断路器产品型号和主要技术参数

注:DZ15可派生漏电断路器,漏电断路器的型号为DZ15LE,极数2~4极,剩余动作电流从30~300mA

注:DZ20系列可派生漏电断路器,漏电断路器的型号为DZ20LE,以DZ20C型为基础,最大额定电流至630A,极数3极/4极,剩余动作电流从30~1000mA

注:SE为DZ10的改进型,为上科所统一设计型号,外形及安装尺寸同DZ10

注:CM1系列塑料外壳式断路器是常熟开关厂自行研制开发的新型的塑料外壳式断路器。RMM1(上海人民)、CDM1(德力西)、NM1(正泰)、SM30(上海华通)、TM30(天低)、ASM1(上海一开)、MB30(长征)等厂的产品与之相似。可派生漏电断路器,漏电断路器的型号为CM1L,最大额定电流至800A,极数3极/4极,剩余动作电流从30~1000mA;并可派生电子式断路器和智能型断路器。同时常熟开关厂最新推出的CM2塑壳式断路器其性能比CM1更佳

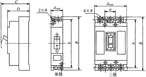
4.外形与安装尺寸

塑料外壳式断路器外形及安装尺寸见图1-31及表1-51。

图1-31 塑料外壳式断路器外形及安装尺寸

表1-51 塑料外壳式断路器外形及安装尺寸/mm

5.国外引进的各种型号塑料外壳式断路器

国外引进的各种型号塑料外壳式断路器性能和特点见表1-52。

表1-52 国外引进的各种型号塑料外壳式断路器性能和特点

特点:ABB公司市场上常见的产品型号为S系列,CDM7(德力西)、NM6(正泰)、HSM1(之江)等与S系列相似。新推出的T系列与原S系列相比结构和性能有显着改善,体积缩小,具有热磁式、电子式,电子式可通信脱扣器,可互换;剩余电流模块较大,装于断路器出线端和侧面,与其他模块不可互换;附件齐全,全部模块化结构;触头系统为双断点旋转触头

特点:Siemens公司(西门子公司)原推出的3VF断路器适用于三相配电系统中进线和出线断路器、电动机、发电机、变压器和电容的开关保护。额定电流:16~2500A,额定电压:690V,有三种不同分断能力,保证系统的开关要求选择最经济的方案。新推出VL系列主要特征是带电子式可通信控制器

特点:Schneider公司(施耐德公司)采用了专门的限流技术,即旋转双断路技术,可分断短路电流3次,分断电流为100%Icu。降低了热效应和机械效应,延长电气设备的寿命

特点:NZM系列塑料外壳式断路器是金钟-默勒(KM)公司20世纪80年代的改进型产品。分断能力有标准型(N)、中分断型(S)和高分断型(H)。其中NZM4~NZM9可适用于440V直流电压中,全系列都为透明封闭罩壳,防护等级可达IP55,飞弧距离较小

特点:NF系列塑料外壳式断路器是三菱电机株式会社开发的断路器,全系列额定电流从30~4000A,交流电压690V,直流电压250V及以下,可装各种附件,其报警开关、辅助开关、分励脱扣器均可安装在断路器内,电子式脱扣器能提供精确保护

特点:S、E、H系列塑料外壳式断路器是日本富士公司生产,在原有S系列断路器的额定电流30~1200A的基础上,对30~800A进行了改进,改进后的孪生漏电断路器和塑壳外形尺寸相同

特点:Spectra系列产品为美国GE公司1996年推出的断路器,产品共有四种壳架等级(分别为160,250,600和1250),有四种分断级别(D为标准分断型,H为较高分断型,L为限流型和P为高分断型),产品有固定式和插入式两种,可竖装和横装,而且进出线方向可互换,不影响分断能力

特点:C系列塑料外壳式断路器是美国西屋公司的专利,由卡特拉-汉莫(苏州)电器有限公产,美国西屋公司原生产的H系列塑壳式断路器可以与C系列互换,C系列产品可以用于直流240V,C系列壳架100~250A等级装有热磁脱扣器,400~2500A壳架等级安装电子脱扣器,电子脱扣器为均方根值(RMS)检测

特点:KTA3系列塑料外壳式断路器由美国罗克韦尔自动化集团A-B公司生产,产品最大电流至400A

特点:X系列塑料外壳式断路器是日本寺崎公司新开发的产品,产品最大电流至400A,寺崎公司原生产的TO、TG系列产品,TO为标准型,TG为高分断能力型。CDM2(德力西)、DZ253(正泰)与TO、TG系列产品相似

特点:BS系列塑料外壳式断路器由日本松下电工株式会社生产,BS为标准型,额定电流30~3200A;BM为电动机保护型,额定电流30~225A;BC为415经济型,额定电流30~800A;脱扣器有电磁式、热磁式、热磁可调式和电子式四种,30型为电磁式,型号中N表示600V,C表示500V,H表示较高分断能力,E表示电子式保护

6.国外引进的各种电动机保护断路器

国外引进的各种电动机保护断路器见表1-53。

表1-53 国外引进的各种电动机保护断路器

随便看

 

离鸟网收录3541549条中英文词条,其功能与新华字典、现代汉语词典、牛津高阶英汉词典等各类中英文词典类似,基本涵盖了全部常用中英文字词句的读音、释义及用法,是语言学习和写作的有利工具。

 

Copyright © 2004-2024 vtrois.com All Rights Reserved
更新时间:2026/4/18 19:05:16