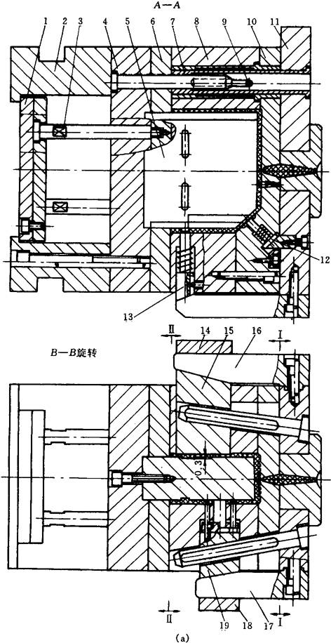
制品由设置在顶部的点浇口成型。模具具有四个方向的侧面抽芯。对于小型芯12、13采用弹簧抽芯简便可行。滑块15、19均用斜销抽芯,分别由锁紧块16、17锁紧,支架14、18挡住锁紧块,使锁紧可靠。
开模时,由于有图中D向所示的定距分型机构,因此Ⅰ-Ⅰ面首先分型,在此过程中完成抽芯动作,并给取浇口留有合适空间。当圆柱销9对导套7限位后,模具便沿Ⅱ-Ⅱ面分型。
顶出时,由推杆3推动推件板6使制品被强制脱离型芯5。采用这种方式顶出时,制品内侧凸台不宜太高,一般为0.3mm左右,塑料需具有较好的弹性。
见图5-24。

图5-24(a) 塑料壳体注塑模具主视图及侧视图

图5-24(b) 塑料壳体注塑模具俯视图及塑件图
1—推板 2—支座 3—推杆 4—动模板 5—型芯 6—推件板 7—导套 8—定模 9—圆柱销 10—定模板 11—定模座板 12—型芯 13—型芯 14—支架 15—滑块 16—锁紧块 17—锁紧块 18—支架 19—滑块 20—弹簧