网站首页  词典首页


请输入您要查询的字词:

 

字词 坡口加工方法
类别 中英文字词句释义及详细解析
释义

坡口加工方法


(一)机械加工

1.齐边剪切

不开坡口的较薄钢板可用剪床剪边。此法生产效率高,加工方便,剪切后板边即符合焊接要求,但不能加工有角度的坡口。

2.开坡口加工

开坡口的较厚钢板可在刨边机、铣边机或车床上进行。用刨床或刨边机对直边可加工出任何形式的坡口,且这种方法加工的坡口尺寸较精确,生产效率高,成型质量好,可在成批生产中广泛采用。

车削用于管子的坡口加工:当遇到较长、较重或无法搬动的管子时,可采用移动式的管子坡口机;对于大直径厚壁管子,可采用电动车管机。

(二)气割加工

氧-乙炔气割坡口,包括手工气割、半自动及自动气割机切割,是一种使用很广的坡口加工方法,它可以加工任何角度的V形坡口、X形坡口,但不能加工U形坡口。

手工切割较简易,但坡口边缘不够平整,尺寸不太准确,生产效率低,一般用于小件或小批生产。成批生产可采用半自动和自动切割,并为提高切割效率可在切割机上装置两把或三把割炬,一次进行V形坡口和X形坡口的切割。

(三)风铲加工

用风铲加工V形坡口或X形坡口和挑焊根时,风铲头的切削角度以50°左右为宜,若角度太小则强度低,角度太大则切削阻力大。为了减小铲削阻力和摩擦,防止铲头发热退火,铲头要适当加润滑剂。风铲加工劳动强度大、效率低、噪音大,现已被碳弧气刨所代替。

(四)碳弧气刨

碳弧气刨是被广泛应用的一种坡口加工和挑焊根工艺方法,它是利用碳极电弧的高温,将金属局部加热到熔化状态,同时再用压缩空气的气流将这些熔化金属吹掉,达到刨削或切削金属的目的。

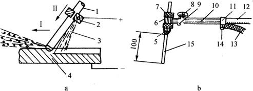
图3-39a是碳弧气刨的示意图,通电时在碳棒与工件接近处产生电弧,并熔化金属,高压空气气流随即将熔化金属液吹走,完成刨削。图中箭头Ⅰ表示刨削方向,箭头Ⅱ表示碳棒进给方向,碳棒为电极,刨钳夹住碳棒,刨钳接正极,工件接负极。

图3-39 碳弧气刨过程

a.示意图 b.气刨枪 1.碳棒 2.刨钳 3.高压空气流 4.工件 5.嘴头 6.刨钳 7.紧固螺帽 8.空气阀 9.空气导管 10.绝缘手把 11.导柄套 12.空气软管 13.导线 14.螺栓 15.碳棒

碳棒与工件的倾角开始时取15°~30°,随后逐渐增大到25°~40°,即可进行正常刨削,并控制好碳棒的进给和刨削速度。

图3-39b为碳弧气刨枪,使用时应尽可能顺风操作,防止铁水及熔渣烧损工作服及烫伤体肤,刨削结束时,应先断弧,过几秒钟后再关闭气阀。

碳弧气刨需用直流电源,气刨时烟雾大,应注意排气。气刨主要适用于仰、立位的刨挑焊根,刨除焊接缺陷,开坡口,清除铸件上的毛边、浇冒口等,还可以切割不锈钢等材料的薄板。

随便看

 

离鸟网收录3541549条中英文词条,其功能与新华字典、现代汉语词典、牛津高阶英汉词典等各类中英文词典类似,基本涵盖了全部常用中英文字词句的读音、释义及用法,是语言学习和写作的有利工具。

 

Copyright © 2004-2024 vtrois.com All Rights Reserved
更新时间:2026/4/20 17:05:25