网站首页  词典首页


请输入您要查询的字词:

 

字词 均质机
类别 中英文字词句释义及详细解析
释义

均质机


(一)用途与特点

高压均质机用于均质乳化处理,利用高压或机械作用将物料粉碎为极细的粒分散在液体当中,制成均匀的乳合物,并防止产品出现沉淀,提高乳浊液的稳定性。可用于各类果汁的均质处理。

(二)结构与工作原理

高压均质机由高压泵和均质阀两个部分组成。图4-3-1所示为高压均质机外形图。

图4-3-1 高压均质机

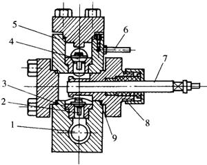
高压泵是一个结构相同的三柱塞往复泵,在泵的排出口装有安全阀,使泵保持恒定的压力和工作流量。在泵的排出口处,装有均质阀头。三柱塞往复泵的结构如图4-3-2所示,是用不锈钢锻造后加工制成的长方形泵体,泵体中开有三个活塞孔,配有三组圆柱状活塞和阀门。三组圆柱活塞互成120°。在曲轴带动下,三组柱塞在各自的泵腔内作减压-增压往复运动,使料液在通过泵腔时增压。经过增压的料液经过高压泵的排出口进入均质阀。双级均质阀的结构和工作示意图如图4-3-3所示。

图4-3-2 三柱塞往复泵

1-进料腔 2-吸入活门 3-活门座 4-排出活门 5-泵体 6-冷却水管 7-柱塞 8-填料 9-垫片

图4-3-3 双级均质阀

双级均质阀的阀杆和阀座都是采用含钨、铬、钴的耐磨合金钢制造的,两级结构类似,都是通过旋转调节手柄来改变弹簧对阀心的压力,来调整流体的压力。第一级流体压力达20~70MPa,当料液由阀门缝隙中排出时,料液在高压的作用下破碎;第二级流体压力降至3.5MPa左右,料液通过阀时,再次被均匀破碎,其粒度在2μm以下。

(三)主要技术参数

高压均质机主要技术参数见表4-3-1。

表4-3-1 高压均质机主要技术参数

注:由上海东华高压匀浆泵厂、上海申鹿均质机厂、江苏宜兴轻工机械厂、廊坊通用机械厂等制造。

随便看

 

离鸟网收录3541549条中英文词条,其功能与新华字典、现代汉语词典、牛津高阶英汉词典等各类中英文词典类似,基本涵盖了全部常用中英文字词句的读音、释义及用法,是语言学习和写作的有利工具。

 

Copyright © 2004-2024 vtrois.com All Rights Reserved
更新时间:2026/4/18 5:41:52