网站首页  词典首页


请输入您要查询的字词:

 

字词 国外畜牧盐
类别 中英文字词句释义及详细解析
释义

国外畜牧盐


(-)质量成分

表5-5-13 日本盐砖

表5-5-14 英国盐砖

表5-5-15 前苏联盐砖

表5-5-16 美国猪用盐粉

(二)工艺流程

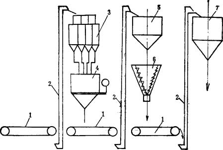
见图5-5-4、5-5-5。

图5-5-4 前苏联某配合饲料厂添加剂预混合工艺流程图

1-粉碎机 2-载体仓 3-微量元素仓 4-盐粉仓 5、6、8-称 7-中间仓 9、10-混合机

图5-5-5 瑞士布勒公司15~17t/h配合饲料厂

1-皮带机 2-计提机 3-微量元素仓 4-自动电子称 5-集料仓 6-混合机 7-集料仓

随便看

 

离鸟网收录3541549条中英文词条,其功能与新华字典、现代汉语词典、牛津高阶英汉词典等各类中英文词典类似,基本涵盖了全部常用中英文字词句的读音、释义及用法,是语言学习和写作的有利工具。

 

Copyright © 2004-2024 vtrois.com All Rights Reserved
更新时间:2026/4/21 6:34:56