网站首页  词典首页


请输入您要查询的字词:

 

字词 喷烟机的构造及工作原理
类别 中英文字词句释义及详细解析
释义

喷烟机的构造及工作原理


喷烟机的作用是通过喷烟装置将化学药剂喷洒成直径只有1~50μm的固体粒子(或雾点)的烟雾。由于烟雾粒子极细,能提高药剂的分散性,因而能使作物叶面受药更为均匀,并能更好地粘附于叶面上,提高了药效。

(一)构造

3Y-14型背负脉冲喷气式喷烟机的构造如图7-9所示。它是利用脉冲喷气式发动机燃烧产生的高温高速气流的热能和动能,使液态油性药剂受热,迅速热裂变,挥发成烟雾,再被高速气流冲击扩散喷出,随自然大气流漂浮移动至远处。

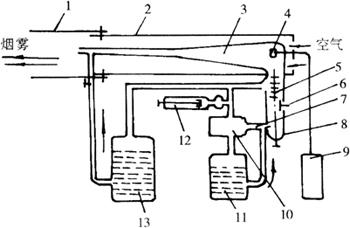
图7-9 3Y-14型背负脉冲喷气式喷烟机装置及工作原理

1.烟化管 2.冷却管 3.燃烧管 4.火花塞 5.雾化杆 6.进气阀 7.雾化嘴 8.进气管 9.点火系统 10.储气室 11.汽油箱 12.打气筒 13.烟剂箱

(二)工作原理

3Y-14型背负脉冲喷气式喷烟机工作时,分为起动喷烟和脉冲喷气喷烟两个过程,参看图7-9。

1.起动喷烟过程 起动时,抽动打气筒,产生压缩气体,压缩气体的一路进入储气室内,再分成两个支路。一支路经下输气管到汽油箱将汽油压送至雾化嘴的存油槽;另一支路从储气室端部的输气管,经雾化嘴到进气管。当压缩气流通过雾化嘴喉部时流速增加,使此处产生负压,将存油槽的汽油吸入雾化嘴,受高速气流冲击雾化后随气流载入进气管。压缩空气的另一路则经上输气管,直接进入进气管。这时进气阀受压缩空气的压力作用而关闭,使进到进气管的压缩空气和油雾,流经雾化杆充分混合后,进入燃烧室。随即按动火塞点火开关,使混合气爆炸燃烧,产生出高温高压燃气,以极高速流向尾喷管喷去。此时,打开烟剂开关,烟剂箱的烟剂,在高速燃气经尾喷管产生的负压和燃气爆炸对药液产生加压的双重作用下,进入尾喷管口,到烟化管内进行热裂变,挥发成烟雾喷出。

2.脉冲喷气喷烟过程 油雾空气混合气一旦点燃爆炸后,在高速燃气的气流惯性及在爆炸燃烧时产生的气浪反射条件下,燃烧室进气管内为负压,进气阀在外界大气压作用下打开,使外界空气进入进气管,但随即由于燃烧的反冲击作用,使进气管内的空气重新封闭进气阀,并流入储气室。而后反冲击作用消失,进气管内气压下降,储气室内的压缩气体返回,通过雾化嘴进入进气管。和起动时的原理相同,汽油被吸入雾化嘴雾化,并和进气管内的空气混合,进入燃烧室。进入燃烧室的混合气,与残余未熄的火焰和高温燃烧室壁接触,自行点燃,高温高压燃气不断地从尾喷管排出,使烟剂不断地热裂变,挥发成烟雾吹出。

随便看

 

离鸟网收录3541549条中英文词条,其功能与新华字典、现代汉语词典、牛津高阶英汉词典等各类中英文词典类似,基本涵盖了全部常用中英文字词句的读音、释义及用法,是语言学习和写作的有利工具。

 

Copyright © 2004-2024 vtrois.com All Rights Reserved
更新时间:2026/4/20 7:41:25