网站首页  词典首页


请输入您要查询的字词:

 

字词 压弯成型方法
类别 中英文字词句释义及详细解析
释义

压弯成型方法


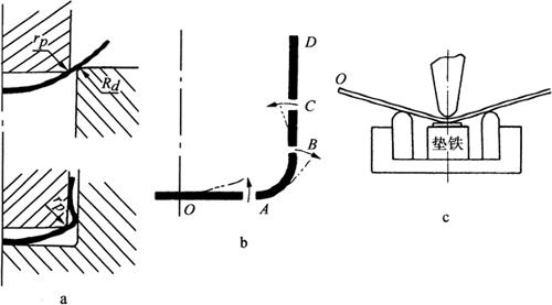
压弯是利用机械装备或弯曲模在压弯机与折弯机上,将板材、型材或管材等弯曲成一定角度和曲率的加工方法。

生产中大多数钣金材料是在常温下进行压弯,即为冷弯成型,并以材料形状特点分为两大类;一类是板材与型材在压弯机、折弯机上使用专用模或通用模压弯成型,一类是管材等在弯管机等设备上使用工具压弯成型,如图9-2所示。

图9-2 压弯成型方法

a.专用固定模压弯 b.通用模折弯 c.摆动块式活动模压弯 d.斜楔式弯曲模压弯

(一)板材件压弯方法

1.板材件压弯过程及特点

板件在压力机上使用专用的V形或U形模进行压弯是最基本的弯曲形式,可将板材一次弯曲成V形或U形形状。但是,即便采用最简单的敞开式V形弯曲模压弯时,其变形过程也很复杂,如图9-3所示。

图9-3 板材件弯曲受力状况

a.V形弯曲 b.U形弯曲 1.凸模 2.凹模

弯曲开始时,模具的凸、凹模与板料在A、B处相接触,凸模在A处所施加的外力为2F(U形弯曲则为F),凹模面上的B处产生反作用力与外力构成弯曲力矩,即M=FL。

在弯曲力矩的作用下,板料在由弹性弯曲变形到塑性弯曲变形的过程中,开始时处于弹性变形阶段[图9-4a(1)],随着变形的不断加大,当达到一定值后,板料内外表面首先达到屈服点而开始塑性变形。

图9-4 板料弯曲过程

a.V形弯曲模压弯 b.钳台压弯

(1)开始受力 (2)二受力点移动 (3)三点接触与贴合 (4)完全吻合

随着凸模逐渐进入凹模,板料内外表面全部出现塑性变形,在凹模上的支撑点B(图9-3)将逐渐向模具中心移动[图9-4a(2)],同时弯曲力臂L和圆角半径r将逐渐减小,板料与凹模V形表面接触并逐渐靠紧,直到板料与凸模三点接触[图9-4a(3)]。

再继续下压凸模时,板料与凸模的接触点数目逐渐增多,凸模两侧与板料直边接触点,压迫板料直边部分向相反的方向变形,使两直边紧贴模具,且夹角与凸凹模圆角半径完全吻合[图9-4a(4)],弯曲过程便可结束。

2.V形压弯及回弹

在弯曲过程中,由于板料受力产生的变形由塑性变形和弹性变形两部分组成,所以当零件成型、去除外力后,板料中的塑性变形保留下来,弹性变形则会完全消失,致使弯曲后的工件各部分分别产生与加载变形方向相反的回弹变形。

如图9-5a所示,制件在弯曲终了时的角度为模具的弯曲角α,而实际回弹后弯曲角为α00<α),弯曲半径由r变为r0。图9-5c所示,OA、AB、BC三段的回弹值综合作用决定工件的最终形状,其中OA的回弹值越大,越使工件角度大于模具角度。因此,在加载弯曲变形的同时,须考虑减小或补偿由回弹变形引起的误差,以保证弯曲件的精度。

图9-5 V形弯曲回弹

a.角度的回弹 b.弯边的变化 c.弯边的回弹(OA、AB、BC为不同段的回弹情况)

3.U形压弯及回弹

(1)自由法弯曲及回弹:如图9-6a所示,弯曲变形的初始阶段,模内不设置顶板,不施加与凸模作用方向相反的压力时,板料在凸模的作用下,中间非变形区OA部分首先产生弯曲变形,并以凸模圆角为中心向下翻转,凸模外部的板料两端向上翘起。当板料的两端进入凹模时,D点与凸模的侧面接触并被反向弯曲,最终OA部分在凸模与凹模之间被反向弯曲后压平(图9-6b)。

图9-6 U形弯曲过程及回弹

a.初始阶段与变形方向 b.最终阶段 c.背压弯曲

在弯曲过程中,不仅是凸模圆角与板料作用形成两个圆角区,而且非变形区OA、BC两部分也都不同程度地产生了变形。因此卸载时,变形区与非变形区都各自产生与加载时变形方向相反的回弹变形,变形区与非变形区回弹方向恰好相反,三部分回弹值的大小即可决定弯曲件的最终形状,以互相抵消获得的弯曲件精度最好。

(2)背压法弯曲及回弹:如图9-6c所示,若在模具内设置顶板且顶板的背压又足够大时,在弯曲的初始阶段OA部分被顶板紧压在凸模的端面上,使OA部分不产生变形(图9-6b)。因此在卸载时,OA部分不会引起弯曲件两壁向里闭合的回弹,所得弯曲件的角度会因变形区圆角部分的回弹而稍大于凸模的角度。

同时,若能适当调整顶板的背压和凸模下止点的位置,控制OA部分的弯曲变形与反向弯曲变形,使卸载时OA部分的回弹角恰好等于圆角部分的回弹角,就可以得到与凸模角度相一致的弯曲件。这种方法适用于弯曲系数较小的零件,其特点就是依靠毛坯中间部分的回弹补偿圆角部分的回弹值。

U形弯曲时,选择适当的弯曲力(校正力)、凸模与凹模间隙和凸模、凹模圆角半径均可以降低回弹值。

(二)型材件压弯方法

1.规则直型材件的压弯

如图9-7a所示,各种规则的直型材可以在压弯机上利用模具进行弯制。图9-7c为通用凹模的工作位置,通用凹模的四面开有不同尺寸的槽口,可以按工作需要进行选用。

图9-7 规则直型材件压弯模

a.两种框缘型材零件 b.弯曲模 c.通用凹模和挡板

通用挡板装在可移动调整的导轨上,可对不同尺寸的直型材弯曲时进行定位,通用凹模的下端面可以弯制波纹板,其弯制辅助装置及方法如图9-7b所示。

利用通用模可将规则直型材弯制成L形、V形、形、Z形或∑形等形状。图9-8所示为带凸缘的双角件、∑形件和带弯曲收口的双角件在压弯机上经多工序弯制成复杂剖面的工艺过程。各种零件的弯曲顺序应正确地选择,以免发生相互干扰,影响弯曲件的质量。

图9-8 规则直型材件压弯过程

a.带凸缘的双角件 b.∑形件 c.带弯曲收口的双角件

2.不规则直型材件的压弯

不规则短型材的弯曲、长型材的局部或小半径的局部区域急剧折曲,应根据各自的工作要求,在液压机上利用专用压弯模进行压弯,如图9-9所示为不规则型材弯制零件时的模具及方法。

图9-9 不规则型材弯制零件及模具

a.专用模 b.零件 c.弯制过程

(三)角钢件的压弯

1.角钢件弯形分类

角钢件的压弯分为弯圆和弯角,弯圆可分为角钢边向里弯圆和向外弯圆两种,如图9-10a、b所示,而弯角根据角度形状又可分为三种,如图9-10c所示。大于90°的钝角件和弯圆件弯曲程度较小,等于90°的直角件和圆角件弯曲程度中等,而小于90°的锐角件弯曲程度最大。

图9-10 角钢件弯形的形式

a.角钢向外弯圆 b.角钢向里弯角 c.弯角操作

2.角钢弯角的方法

如图9-10c所示,弯形前根据计算出的锯切角α值,先在角钢上划出α角槽的锯切线。锯切时,应保证α/2角的对称和两侧边平整,必要时可以锉平。V形尖角处要清根,以免弯制时切边结合不紧而影响质量。

弯形时,一般将角钢夹在钳台上进行,且根据计算出的角钢最小允许弯曲半径(表9-1),边弯曲边锤打弯曲处;β角越小时,弯曲锤打受力点越要稠密,锤打力也要越大。对于退火、正火处理的角钢弯曲过程可适当快些,而未作过处理的角钢弯曲中,要密打弯曲处防止裂纹。

表9-1 型材最小弯曲半径计算公式(mm)

3.角钢弯圆的方法

一般需要一个与弯圆圆弧一致的弯形工具配合弯制,必要时也可采用局部加热弯制。如图9-10a所示,弯制角钢边向里和向外弯圆时,将角钢a和a′处分别与型胎工具夹紧,分别敲打b和b′处使之贴紧型胎工具,并将其夹紧,再均匀敲打c和c′处,防止c和c′处翘起,直到使c和c′处平整为止。

(四)管材件的压弯

管材件的弯形是通过手工和机械的方法,将管材压弯成符合要求的工件,分为冷弯和热弯两种。直径在12mm以下的管件可采用冷弯,而12mm以上的管件则用热弯,但冷弯管的最小弯曲半径必须大于管材直径的4倍,其计算公式和数值分别如表9-2和表9-3所示。

表9-2 金属管材最小弯曲半径的计算公式(mm)

表9-3 各种管材的最小弯曲半径数值(mm)

1.弯管填充方法及弯形

弯管直径在10mm以上时,无论何种材料的管子,弯形前都必须在管内灌填充材料。填充物的选用,应根据管子材料、相对厚度及弯曲半径大小等因素确定,可参考表9-4进行选择。

表9-4 弯曲管子时管内填充材料的选择

管内填沙是应用最广且唯一适用于热弯的一种方法,沙粒直径一般在2mm以下,若颗粒过大,填充不易紧密,管坯弯曲时易使断面畸变;若颗粒过小,填充过于紧密,又会使弯曲时不易变形,甚至造成管件破裂。此外,沙子还必须在400~500℃的电炉中烘干,以免热弯时产生烧结现象或发生危险。

填沙时,管料两端应留出20~30mm的余量,待填充密实后用木塞塞紧(图9-11a)。管径较小时也可将管端压扁封口,弯形后再切割端头并清理。对于有焊缝的管子,弯形时必须将焊缝放在中性层位置上(图9-11b),以免弯形时焊缝裂开。

图9-11 填沙操作及弯形

a.管内填沙 b.焊缝位置 c.铜管弯形 d.钢管弯形

对于直径较小的铜管,可采用手工自由弯曲,如图9-11c所示。弯曲时应将铜管退火后,用手边弯曲边整形,修整弯曲产生的扁圆形状,使弯曲圆弧光滑圆整。切不可一下弯曲很大的曲度,不便于修整产生的变形。

对于直径较小的钢管,也可采用在冷状态下进行手工弯形,如图9-11d所示。弯形前应先将管子装沙、封堵,并根据弯曲半径固定定位柱,然后再固定别挡。弯曲时用铜锤敲打弯曲中心部位和侧面,使管子逐步弯曲进入固定的定位柱及别挡,在二者共同约束下弯成所要求的弯曲半径。

对于直径较大的管子,手工弯曲时所需力矩过大,必须用喷灯或乙炔焰在管子弯曲处局部加热,且加热温度为600~800℃,使钢管呈现樱红色时,即可采用这种方法弯形。

2.弯管工具弯形方法

对于直径较小的管子,一般在弯管工具上冷弯成型。图9-12a所示,是使用转盘式弯管工具弯形,转盘圆周和靠铁侧面均设有圆弧槽,其大小可根据所弯管径的大小设计,最大直径可达12mm。当转盘和靠铁的位置相对固定后,即可开始弯管。使用时将管子插入转盘和靠铁的圆弧槽中,用钩子钩住管坯,按所需要的弯曲位置扳动手柄,使管坯跟随手柄弯到所需角度。

图9-12 弯管装置及工具

a.转盘式弯管工具 b.弯曲模式弯管工具 c.定模式弯管装置 1.手柄 2.钩子 3.转盘 4.靠铁 5.底板 6.管子 7.带柄的压块 8.耳环 9.心轴 10.弯曲模 11.夹块 12.平台 13.管坯 14.定模 15.杠杆 16.滚轮

图9-12b所示是使用手动弯曲模式弯管工具进行绕弯,弯曲模固定不动,压块绕弯曲模旋转,迫使管子按模具成型。由于手动弯管工具只用于弯曲直径不大的管料,所以管内不必加填充物。

图9-12c为一手工弯管装置,主要由平台、定模、滚轮和杠杆组成。定模固定在平台上,具有与管坯外径相适应的半圆形凹槽,在弯曲前先将管坯的一端置于定模凹槽中,并用压板压紧,然后再扳动杠杆,则固定在杠杆上的滚轮便压紧管坯,迫使管坯围绕定模弯曲变形。管件的弯曲半径不同,则定模的直径相应也不同。

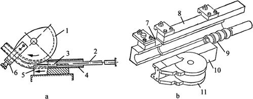
3.机械弯管方法

(1)绕弯法:对于直径较大的管子,由于弯曲时所需力矩过大,易引起剖面畸变与内壁起皱,最好采用绕弯法,即在弯管机上进行弯曲。图9-13a所示即为在弯管机上利用心棒使管坯沿弯曲模胎进行绕弯的工作原理。弯曲模胎固定在机床的心轴上,由电动机带动一套蜗轮与蜗杆传动,作顺时针方向旋转。管坯的左端由夹块固定在弯曲模胎上,在管坯与弯曲模的切点附近,其弯曲外侧装有压块,管内塞有刚性心棒。当弯曲模胎转动时,管坯即绕弯曲模胎逐渐弯曲成型,当弯曲模胎转动到管件要求的角度时,则撞击控制挡块使弯曲模胎停止转动。

弯曲通风管、暖气管等大尺寸薄壁管时,在图9-13b所示的弯管机上,将管坯一端由夹块固定在弯曲模胎上,还需要采用多球连接心棒和移动式压块配合施压,并在管坯弯曲内侧增加防皱块,以便使管子在弯曲区得到更可靠的支撑。

图9-13 弯管机绕弯

a.绕弯原理 b.加防皱块 1.弯曲模 2.拉杆 3.心棒 4.管子 5.压块 6.夹块 7.夹块 8.移动式压块 9.多球连接心棒 10.防皱块 11.胎膜

(2)推弯法:此法主要用于弯头的弯制。根据推弯的工艺特点,可分为冷推弯和有心热推弯。

冷推弯是在普通压力机或曲柄压力机上借助弯管装置,在常温状态下,将直管坯压入带有弯曲型腔的模胎中成型管弯头的方法(图9-14a)。弯管时将管坯放在导向套中定位后压柱下行,对管坯端口施加轴向推力,强迫管坯进入弯曲模胎的型腔,从而产生弯曲变形。

图9-14 推弯原理

a.冷推弯 b.热推弯 1.压柱 2.导向套 3.管坯 4.型腔 5.管弯头 6.加热炉 7.热源 8.牛角心棒 9.心杆 10.推板 11.管坯 12.支撑辊

冷推弯法适用于弯制较小弯曲半径的弯头,弯头的最小相对弯曲半径R/D≈1.3,弯头的截面椭圆度≤3%~5%。

热推弯是在专用推制机上(图9-14b),将管坯套在心杆上,由管坯支撑辊支撑。推板位于管坯末端,对管坯施加轴向推力F,反射加热炉的热源对管坯进行加热。管坯在轴向推力的作用下,边加热边向前移动通过牛角心棒,最后由牛角心棒末端推出,形成弯头。常用材料的热弯曲加热温度如表9-5所示。

表9-5 常用材料的热弯曲温度

随便看

 

离鸟网收录3541549条中英文词条,其功能与新华字典、现代汉语词典、牛津高阶英汉词典等各类中英文词典类似,基本涵盖了全部常用中英文字词句的读音、释义及用法,是语言学习和写作的有利工具。

 

Copyright © 2004-2024 vtrois.com All Rights Reserved
更新时间:2026/4/21 14:40:45