网站首页  词典首页


请输入您要查询的字词:

 

字词 压制设备
类别 中英文字词句释义及详细解析
释义

压制设备


压制设备一般皆为液压机。

(一)液压机的工作原理

液压机的工作原理是根据帕斯卡定律,即在密闭容器中,对液体所施加的压力,均匀地由液体传递到容器内壁的各处。据此,可得到下列结论:液体传递到容器内壁的总压力的大小是与内壁的面积成正比的,图711表示一密闭系统,小活塞1的面积为1cm2,大活塞2的面积为100cm2,如果施加在小活塞的力是1kg,根据帕斯卡定律,大活塞所承受的力就为100kg。在图7-1-1中,小活塞可看作是液压装置中的液压泵的活塞,大活塞则可看作是液压机的柱塞。压制时所用的压强单位用MPa来表示,液压机的工作能力用t来表示。

现举例说明:液压机油泵系统的压力为P=20.0MPa,液压机的柱塞直径D为254mm,则液压机的总压力K为100t。

图7-1-1 液压机作用原理

式中 P——液压系统线路中的压力(MPa)

S——液压机柱塞面积(cm2)

这样计算出来的力为液压机的名义总压力,实际上应该包括消耗于工作活塞克服摩擦阻力等的损失,故实际总压力比名义总压力小10~15%。

对液压机总压力大小的要求,决定于制品压制时要求的单位压力和制品的压制面积。制品压制时所需的最高单位压力与制品面积的乘积,就是液压机所需要的实际总压力。选择液压机时要将实际总压力加大10~15%,即得液压机的名义总压力。根据上述计算方法,已知液压机的实际总压力和制品的压制面积,也可算出制品压制时的单位面积压力。

(二)液压机的分类、结构及常用液压机的规格

1.分类

应用于塑料压制的液压机,按其本身结构的特点常可分为两类:

下压式液压机——工作缸装在上面,活动横梁向下压的液压机。

上压式液压机——工作缸装在下部的液压机。

压机是由上横梁、工作活塞缸、活动横梁、下横梁、带螺母的四根立柱以及相配套的液压部件和管路组成,见图7-1-2。

图7-1-2 上压式液压机示意图

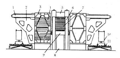
目前压制聚氯乙烯板材多数均为上压式多层液压机,如图7-1-3为2000t液压机的示意图。液压机总压力自几十吨重至几千吨不等。压制的板材尺寸随压机的吨位增大而扩大。

图7-1-3 2000t液压机

1-卧式缸 2-推拉架 3-升降台 4-升降台槽板 5-上固定板 6-压机主体 7-热板 8-活塞柱 9-下部活动板 10-吸钢板机 11-操作滚道

2.常用液压机的规格和主要技术参数

表7-1-1 常用液压机规格和主要技术参数

(三)热板结构

送上压机的成叠塑料片材是用热板加热的,加热板由蒸汽加热。蒸汽加热时升温迅速,且能在蒸汽压力不变的情况下使温度保持一定。关闭蒸汽后,热板内应可通入冷水进行冷却。

加热用的蒸汽所通过的线路设计合理与否,对压制成品质量的影响很大。加热线路不当,会使压制成品受热与冷却不均匀,而引起成品的翘曲、碎裂和表面光泽不一等质量问题。目前国内一般用的是单进出口和双进出口加热线路,如图7-1-4和图7-1-5所示。

图7-1-4 单进出口的加热线路

图7-1-5 双进出口加热线路

以图7-1-4和71-5所示两种加热线路相比较,以后一种的加热和冷却时间较短,温度也较均匀,但热板加工较困难。

(四)辅助设备

层压机的辅助设备的种类较多,有辅助主机完成成型的,也有为减轻劳动强度、提高劳动生产率的。现以2000t液压机为例,简略说明其主要的辅助设备如下。

1.液压泵

液压机的压力来源是靠液压泵。选择液压机的液压泵必须满足:①单位压力应符合液压机的需要;②液压泵流量应符合液压上升和加压速度。一般采用三联卧式高压泵。液压机以水作工作液时可加入3~5%的矿物油,以减少对金属的腐蚀。

2.低压蓄能器

为了保证各层热板能迅速闭合,通常都装有低压蓄能器,同时在活塞下降时它还能蓄积活塞缸内的工作液。

3.升降框

升降框是装卸板坯和压制好的硬板用的,由液压操纵。

4.推拉机

推拉机也用于装卸板坯和压制成品,也由液压操纵,其储油箱和齿轮泵可与升降框合用。推拉器还设有扣住托板的机构(俗称18档扶梯)、电磁铁拉环等,以便将板坯从升降框上推入压机热板,或将成型硬板从热板上拉到升降框。

5.翻板机

在压制好的硬板被拉至操作台上时,须用液压顶出活塞将钢板和硬板翻到另一操作台上,这套装置称为翻板机。

6.吸板机

利用橡胶或塑料吸盘,吸住钢板和硬板以达到转运目的装置。

7.切板机和锯板机

是为裁割压制硬板使其成为规定尺寸的设备。薄的硬板可用切板机进行剪切,而厚的硬板则用锯板机进行锯切。锯板机有双锯机和单锯机两种,同时锯切两边的为双锯机,能保证板面尺寸稳定。一次只锯切一边的是单锯机。

8.高压蒸汽管

蒸汽与冷却水管路一般均采用高压蒸汽管(即绞接钢管)。目前也有采用钎焊不锈钢软管的,安装检修较方便。

9.回水池

生产聚氯乙烯硬板时,冷却水的耗用量很大,以2000t的多层液压机为例,冷却水耗用量达千吨以上(三班生产)。为节约能源应设置回水池,以便循环使用。

随便看

 

离鸟网收录3541549条中英文词条,其功能与新华字典、现代汉语词典、牛津高阶英汉词典等各类中英文词典类似,基本涵盖了全部常用中英文字词句的读音、释义及用法,是语言学习和写作的有利工具。

 

Copyright © 2004-2024 vtrois.com All Rights Reserved
更新时间:2026/4/19 5:56:52