网站首页  词典首页


请输入您要查询的字词:

 

字词 厅门头部位
类别 中英文字词句释义及详细解析
释义

厅门头部位


门头是指厅门水平拉门中安装门导轨、门吊等装置的部分。门导轨、联动机构等其他部件一般安装在顶盖罩壳内,同时还装有可防尘的门头盖。

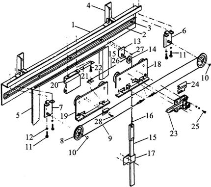
标准的厅门头结构示意如图22.2-1所示。

图22.2-1 标准的厅门门头结构

1+2+3-门头 4-支架 5-门套 6~12-门绳组合 6-门绳轮支架 7-门绳轮支架 8-门绳轮 9-门绳 10-C形卡环 11+12-六方螺栓和弹垫 13~17+26+27-重锤关门器 13-重锤绳轮支架 14-绳轮 15+16-端架、门绳、重锤 16-接绳 17-重锤套管 18+19-门吊板 18-门吊板 19-门吊板 20+23-门锁和开关 20-门锁开关 21-垫片 22-六方螺栓、平垫和弹垫 23-钩锁和滚轮 24-垫片 25-六方螺栓和弹垫 26-C形卡环 27-平头螺丝 28-六方螺栓和平垫

(一)厅门导轨

(1)使用刀片将厅门导轨表面的灰尘和堆积物清除干净。

(2)用棉布蘸清洁剂清洁厅门导轨。

(3)如果导轨有锈蚀,使用400#~1000#砂纸除锈处理。处理时需要注意,只打磨厅门导轨面,不要打磨导轨侧面,保护好导轨侧面的防锈涂料。

(4)如果发现导轨凹凸不平,砂纸打磨也不能解决问题,则需要考虑更换导轨。

(5)清洁门头卫生。

(6)使用干净棉布蘸少许润滑油,擦拭导轨来润滑,以导轨表面有薄薄一层润滑油膜为佳。

(二)门吊板

门吊板是指电梯水平滑动门在门板上沿安装的带滚轮的吊架,挂在门导轨上作水平滑动。

门吊板结构示意如图22.2-2所示,维保注意:

图22.2-2 厅门吊板结构

1-门吊轮 2-轮轴 3-C形卡 4-偏心轮 5-轴承 6-轴销 7-锁母 8-吊板 9-吊板 10-吊板

(1)检查厅门吊板螺栓的紧固情况。

(2)清洁厅门吊轮:

①用棉布蘸清洁剂擦拭清洁门吊轮。

②用干净棉布蘸少许润滑油擦拭门吊轮,润滑门吊轮。

③开关厅门,检查厅门运行是否平滑稳定。如果厅门运行不平稳,则说明门吊轮可能磨损,需要更换。

(3)偏心轮检查:

①偏心轮正确调整后可防止门吊从导轨上脱落。

②开关厅门,检查偏心轮是否会跟随厅门运行转动、有无声响;偏心轮应该不跟随厅门运动而转动,偏心轮与门导轨之间间隙应该为0.5mm。

(4)厅门门绳:

①检查绳头锁母是否紧固。

②用干净棉布蘸少许润滑油擦拭门绳润滑门绳。

③检查门绳是否有生锈和破损,如果有则需要更换。

④如果10mm内有5处以上断丝现象,则必须更换门绳。

⑤检查门绳的松紧度。

厅门门绳结构示意如图22.2-3所示。图示尺寸a的值应该小于门绳轮间距的3%。

图22.2-3 厅门门绳松紧度调整示意

注意:任何门绳调整和更换后,需要重新检查门锁及门扇的各项尺寸。

(三)门吊轮的更换

(1)拆下偏心轮。

(2)拆下门吊板的安装螺栓,将门吊板从导轨和厅门上卸下。

(3)取下C形卡簧,将门轮从轴上抽除。

(4)装入新的门吊轮。

(5)按照相反的顺序将门装上。

(6)检查调整门扇的平行度和各项尺寸。

(7)建议更换门吊轮时,四个门吊轮一起更换。

随便看

 

离鸟网收录3541549条中英文词条,其功能与新华字典、现代汉语词典、牛津高阶英汉词典等各类中英文词典类似,基本涵盖了全部常用中英文字词句的读音、释义及用法,是语言学习和写作的有利工具。

 

Copyright © 2004-2024 vtrois.com All Rights Reserved
更新时间:2026/4/21 8:05:51