网站首页  词典首页


请输入您要查询的字词:

 

字词 卷边咬缝
类别 中英文字词句释义及详细解析
释义

卷边咬缝


卷边咬缝按分工讲,应属于通风工或钣金工,但铆工也应略知一、二,如常用的盆、桶、壶、锅等,也应会下料和制作。故本段只就常用的白铁件进行叙述。

1.卷边咬缝的基本原理

卷边咬缝一般适于1.2mm以下的普通钢板,小于1.5mm的铝板,小于0.8mm的不锈钢板。

(1)卷边的基本原理

卷边的方法大致有三种,一是实心卷边、二是空心卷边、三是实折边。因为板很薄,刚性小,强度低,通过卷边可增加结构的断面面积,因而增加结构的刚度和强度,达到结构轻而强度大的目的。

(2)咬缝的基本原理

通过薄板的扳折咬合而增加其接触面,从而增加其摩擦力,再配以咬缝处的形状改变,既抗拉又止退,进而达到连接的目的。

2.卷边咬缝实例

卷边和纵缝的咬合及压鼓工具薄板滚鼓器,在大部分钣金件中都可能遇到,为了节约篇幅,避免前后重复,故安排在前面叙述,在以后的各个实例中就不再重复了。

(1)卷边和纵缝的咬合方法

1)卷边的咬合方法

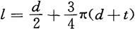
①料计算:如图6-27所示,为卷边部分长度计算图。

图6-27 卷丝长度计算原理

式中 d——卷丝直径;

t——板厚。

②卷边操作过程和方法:如图6-28所示,为锥台洗衣盆卷丝过程和方法,为了提高效率而又不伤及板材,用拍板扳边最好,可用平面也可以用棱部;使用道士帽锤的钝刃部也可以,但易伤板。此方法的关键是图中(c),左手用无齿手钳夹住铁丝和卷边部分,右手用拍板往小端方向拍打。开始时先咬住一端,继而左转筒体拍打,注意不要一次拍成,遇纵缝重叠层数较多时,可适当用铁锤压下。

图6-28 卷边操作过程和方法

③卷曲长度欠或过的处理方法:在卷丝过程中,由于下料或操作手法的不同,很可能出现卷边长度欠或过的缺陷,其处理方法见图6-29。如欠(图a),将盆体往下倾斜,用拍板往下往外打,铁丝及卷边部分会同时往小端移,卷曲部分自然变长;如过(图b),也将盆体往下倾斜,用拍板往下打,铁丝及卷边部分会同时往大端移,卷曲部分自然变短。

图6-29 卷曲长度欠或过的处理方法

(a)处理欠的方法;(b)处理过的方法

2)纵缝的咬合方法

纵缝的咬合方法很多,有单立咬缝,有单平咬缝,还有单双平咬缝等,但一般常用的就是单平咬缝。

①料长计算:如图6-30(a)所示,为0.5~0.75mm镀锌板一般常用钣金件的咬缝长度安排形式,此法叫五、五、六形式,即咬接部分长度为5mm,外面的覆盖部分为6mm。具体安排见图中(b)。

图6-30 五、五、六形式料长度安排

(a)单平双抗弧形式;(b)展开图

大件或1mm的镀锌板可适当加大至六、六、七形式,如0.5mm以下的小件可适当缩小至四、四、五形式,制作时灵活掌握。

以上所述为咬缝长度的理论安排,但在实际工作中,牵扯到咬缝的反正和错开咬缝等因素(如多节弯头),并不这样安排,其安排方法是:在净料的两端各加出咬缝量和的一半,如五、五、六形式,每端加出8mm,为了确切地显示咬缝长度,下列各例仍按理论长度安排。

②缺口的安排:上下缺口的安排,见图6-31,为尽量减少翻边时的难度,而又不致翻边后漏底,所以将其内部的两层剪成三角形为合适。

图6-31 五、五、六形式缺口安排

③纵缝的咬接方法:为了叙述的方便,本例按五、五、六形式的单平双抗弧进行叙述。

咬接程序见图6-32。从图中可详细看出扳折的方法和程序,此不详述。

图6-32 五、五、六形式纵缝扳边过程

其咬合方法见图6-33。图中(a)为圆筒体的咬合,图(b)为平板对接咬合,两者在咬合过程中,注意不要触及抗弧,以防打平抗弧,通过反、正面击打,便可将两端头严密、美观地咬合在一起。

(a)

(b)

图6-33 纵缝的咬合方法

(a)圆筒体咬合;(b)平板对接咬合

这里着重说一说在扳折和咬合过程中常出现的缺陷和矫正方法。

①在扳折来回弯过程中,很可能将咬合边砸实,可用一字形螺丝刀拨离。

②在扳折过程中,很可能使咬合边产生弯曲,因而影响两端的咬合,应用常规的调直方法矫正之,在矫正的过程中也可能将咬合边砸实,同样用一字形螺丝刀拨离之。

③在咬合的过程中,由于误操作,很可能将一面或两面的抗弧砸平使咬缝松动或前功尽弃,其处理方法见图6-34。

图6-34 加大抗弧的方法

(2)薄板滚鼓器

为了增加薄板构件(如水桶、水壶、板类等)的刚性或便于构件与附件的连接,常在构件上滚出鼓带。下面介绍一种简单实用的滚鼓器。

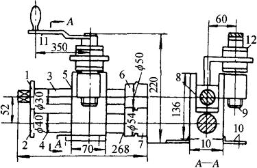
1)结构

如图6-35所示。该机械的机体5上装有主动轴3和从动轴4。主动轴的一端装有主动齿轮1;另一端装有凸轮6。从动轴上,一端装有从动齿轮2;另一端装有凹轮7。通过齿轮1和2的啮合传动,带动凹凸两轮,滚出工件的鼓带。升降螺母固定于机体外侧,用来调整凸凹轮的距离。

图6-35 薄板滚鼓器

1-主动齿轮;2-从动齿轮;3-主动轴;4-从动轴;5-机体;6-凸轮;7-凹轮;8-活动轴承;9-M30升降螺栓;10-固定角钢;11-摇把;12-定位销

2)用法

①调整好凸凹轮的啮合位置,旋起升降螺栓9,将工件放入凸、凹两轮之间,使预先画好的滚鼓线对准凸轮的顶部。旋下升降螺栓,使凸轮略微压往工件。调整两轴的左右距离,使工件一端与机件接触。适当转动主动轴使两齿轮处于待啮合位置,然后旋下升降螺栓使主动轴压到两齿轮能啮合传动的位置。

②一手握工件,并稍往机体方向用力压住,另一只手转动摇把。即可滚出圆滑美观的鼓带。

3)特点

①一般的滚压机械压力装置在端部,中间区域为成形部位。而本机正好相反,压力装置在中间,端部为成形部位。这种结构的好处是:工件装卸方便;内外鼓均可压制不受工件长度的限制。

②主、从动轴可左右窜动,机体就是限位器,不必另加限位装置。

③可用模数较大的齿轮(模数大,啮合的距离长。本机m=2,z=26,在车床上一分为二,既保证了齿轮的正确啮合,又便于取材)。

④上下方榫规格一致,摇把可通用。

⑤本机滚压最大厚度为1.2mm的白铁板。

本机经长期使用,未发现异常,很受操作工人欢迎。

(3)单立咬缝水桶的制作方法

所谓单立咬缝水桶是指桶体与封底咬合的形式。

如图6-36所示,为单立咬缝水桶的施工图,从图中可看出,纵缝采用六、六、七形式单平双抗弧咬缝,封底采用五、六、七形式单立咬缝。

图6-36 单立咬缝水桶

1)料计算

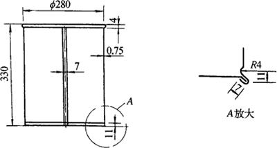
如图6-37所示,图(a)为桶体展开图;图(b)为封底展开图。

图6-37 展开图

(a)桶体展开图;(b)封底展开图

①桶体净展开长l=π×280=880(mm)

2)咬缝方法

①桶体加工抗弧。如图6-38所示,为桶体加工抗弧过程,利用薄板滚鼓器滚出抗弧,若无滚鼓器时,可用弧状圆钢手工槽出。

图6-38 桶体滚鼓过程

②封底与桶体的咬合方法。如图6-39所示,为封头与桶体的咬合过程和方法,具体的封头与桶体的扳折过程和方法请参见“带护圈水桶的制作方法”。

图6-39 封底与桶体咬合过程和方法

(4)带护圈水桶的制作方法

所谓带护圈水桶,是指为了解决桶体底部易磨损而减少使用寿命所采用的防护措施,为适应装护圈的需要,采用单平单抗弧的咬缝形式。

如图6-40所示,为带护圈水桶的施工图,从图中可看出,纵缝采用五、五、六形式单平双抗弧咬缝,封底采用五、六、七形式单平单抗弧咬缝。

图6-40 带护圈水桶

1)料计算

如图6-41所示,(a)为桶体展开图,(b)为封底展开图,对于封底的下料,最好在桶体底部第一个扳折边扳出后,实际量取直径尺寸后再下,这是因为在桶体的滚鼓、扳折时,由于所使用的扳折工具不同,扳折部位都有不同程度的伸长,与理论计算数据总有误差。

图6-41 展开图

(a)桶体展开图;(b)封底展开图

同理,护圈的下料也应咬缝成形后,实际量取外周长和高度再决定下料尺寸,这样才能保证护圈与桶体的配合紧度。

①桶体净展开长l=π×280=880(mm)

②卷丝展开长(mm)

2)咬缝方法

①桶体加工抗弧。如图6-42所示,为桶体加工抗弧过程,利用薄板滚鼓器滚出抗弧,若无滚鼓器时,可用弧状圆钢手工槽出。

图6-42 桶体滚鼓过程

②桶体第一次折边方法。如图6-43所示,为桶体第一次扳边过程和方法,为了能容下抗弧,要选择有凹槽的铁砧。

图6-43 桶体扳边过程和方法

③封底第一次折边方法。如图6-44所示,为封底第一次折边过程和方法,叙述略。

图6-44 封底扳边过程和方法

④封底与桶体的咬合方法。如图6-45所示,为封底与桶体的咬合过程和方法,这里主要分析两个问题:

图6-45 封底与桶体的咬合过程和方法

a.如图中(d)、(f),封底与桶体最后咬合时,不要用带45°的长条规铁,用这种规铁因接触面积小会将封底顶出,成形后封底与桶体会有间隙;要用有正断面的圆管或圆钢,因有弧度和接触面积大,能保证封底与桶体紧贴。

b.如图中(e),当最后扳至约45°时,由于三层同时扳折,内层会起纵向折皱,若不设法将折皱压平,成形后会出现三种缺陷:咬缝宽度不一致;咬缝不严密;折皱将桶体顶向内腔。用无齿手钳压平后,可消除上述缺陷,此时抹入泥子,便可继续往下扳折至成形。

(5)锥台洗衣盆的制作方法

如图6-46所示,为常用锥台洗衣盆施工图,卷丝直径4mm,用0.5mm镀锌板,纵缝采用五、五、六形式双抗弧单平咬缝,封底采用五、六、七形式单抗弧单平咬缝。

图6-46 锥台洗衣盆

1)锥台料计算

如图6-47所示,为展开图和封底展开图。

图6-47 展开图

(a)锥台展开图;(b)封底展开图

2)卷丝方法

卷丝方法前面已叙述过,此不重述,但要说明一点,必须先卷丝后上封底,这样做的好处是:先卷丝可增加桶体刚性,便于将桶体整成正圆,再加后来底部的第一次折边,更增加了桶体的刚性,既便于整成正圆又便于咬合封底。

3)封底的咬合方法

锥台洗衣盆的封底咬合过程和方法完全同“带护圈水桶的咬合”,此不重述。

(6)标准手提水壶的制作方法

所谓标准手提水壶,主要是指桶体直径、高度和提梁直径均为200mm,其次是脖领直径为桶体直径的1/2,锥台和脖领的高度和为桶体直径的1/4,结构尺寸按一定规律变化。

如图6-48所示,为标准手提水壶的施工图,纵缝采用五、五、六形式单平双抗弧咬缝(咬接缝安排在壶嘴对侧,图中显示不出来),封底采用四、五、六形式单平抗弧咬缝,桶体与锥体采用四、五、六形式单立咬缝。

图6-48 标准手提水壶

随便看

 

离鸟网收录3541549条中英文词条,其功能与新华字典、现代汉语词典、牛津高阶英汉词典等各类中英文词典类似,基本涵盖了全部常用中英文字词句的读音、释义及用法,是语言学习和写作的有利工具。

 

Copyright © 2004-2024 vtrois.com All Rights Reserved
更新时间:2026/4/20 4:52:00