网站首页  词典首页


请输入您要查询的字词:

 

字词 卷材防水结构
类别 中英文字词句释义及详细解析
释义

卷材防水结构


卷材防水层是由防水卷材和沥青胶结材料胶合而成的一种多层防水层。卷材防水层是一种柔性防水层,适用于有振动的结构,如果出现微小变形不致裂缝;但由于其耐久性差、施工复杂,应用范围受到一定限制。

防水卷材尽量采用沥青矿棉纸油毡、沥青玻璃布油毡、沥青石棉纸油毡及无胎油毡等,应采用石油沥青胶结材料,在铺贴前应满涂冷底子油。

地下防水工程如果把卷材防水层设在建筑结构的外侧,称为外防水;把卷材防水层设在建筑结构的内侧,称为内防水。在一般情况下,应优先选择外防水。外防水的防水层在迎水面,受压力水的作用紧压在结构上,防水效果较好。内防水的卷材防水层在结构的背面,受压力水的作用容易脱开,对防水不利。

外防水有两种施工方法,即“外防外贴法”和“外防内贴法”,两种施工方法的优缺点,如表8-27所示。

表8-27 外防水两种施工方法的比较

(一)外防外贴法施工

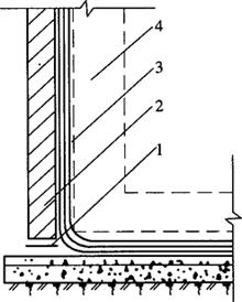
外防外贴法施工是在地下防水结构墙体做好以后,把卷材防水层直接铺贴在外表面上,然后再砌筑保护墙,其构造如图8-13所示。

图8-13 卷材外防外贴法

(a)甩槎做法;(b)接槎做法(a)中:1-临时保护墙;2-永久保护墙;3-细石混凝土保护层;4-卷材防水层;5-水泥砂浆找平层;6-混凝土垫层;7-卷材加强层(b)中:1-结构墙体;2-卷材防水层;3-卷材保护层;4-卷材加强层;5-结构底板;6-密封材料;7-盖缝条

外防外贴法的施工程序如下:

(1)首先浇筑需要防水结构的底层混凝土垫层,这是防水层的基础,必须认真施工、质量合格。

(2)在混凝土垫层上砌筑永久性保护墙,在保护墙下铺一层干油毡。墙的高度不小于需防水结构底板厚度再加100mm。

(3)在永久性保护墙之上,用石灰砂浆接砌一段保护墙,墙高一般为300mm。

(4)在永久性保护墙上抹1∶3水泥砂浆找平层,在临时保护墙上抹石灰砂浆找平层,并刷一层石灰浆。如果用模板代替临时性保护墙,应在其上涂刷隔离剂。

(5)待砂浆找平层基本干燥后,在大面积铺贴卷材之前,应先在转角处粘贴一层卷材附加层,然后进行大面积铺贴,先铺平面,后铺立面。在垫层和永久保护墙上应将卷材防水层空铺,而在临时保护墙(或模板)上应将卷材防水层临时贴附,并分层临时固定其顶端。

(6)当不设置保护墙时,从底面折向立面的卷材的接槎部位,应采取可靠的保护措施。

(7)卷材固定完毕后,可浇筑需防水结构的混凝土底板和墙体,并在需防水结构外墙外表面上抹找平层。

(8)主体结构完成后,将所有各层卷材揭开,并将其表面清理干净,如卷材有局部损伤,应及时进行修补,然后铺贴立面卷材。卷材的搭接长度,高聚物改性沥青卷材为150mm,合成高分子卷材为100mm。当使用两层卷材时,卷材应错槎接缝,上层卷材应盖过下层卷材。

(9)待卷材防水层施工完毕,并经检查验收合格后,即应及时做好卷材防水层的保护结构。保护结构的几种做法:

1)砌筑永久保护墙,并每隔5~6m及在转角处断开,断开的缝中填以卷材条或沥青麻丝;保护墙与卷材防水层之间的空隙,应当随砌随用砌筑砂浆填实,保护墙完工后方可回填土。注意在砌筑保护墙的过程中切勿损坏防水层。

2)抹水泥砂浆。在涂抹卷材防水层最后一道沥青胶结材料时,趁热撒上干净的热砂式散麻丝,冷却后随即抹上一层厚度为10~20mm的1∶3水泥砂浆。水泥砂浆经养护达到强度后,即可回填土。

3)贴塑料板。在卷材防水层外侧直接用氯丁系胶粘剂粘贴固定5~6mm厚的聚乙烯泡沫塑料板,完工后即可回填土,也可用聚醋酸乙烯乳液粘贴40mm厚的聚苯泡沫塑料板代替。

(二)外防内贴法施工

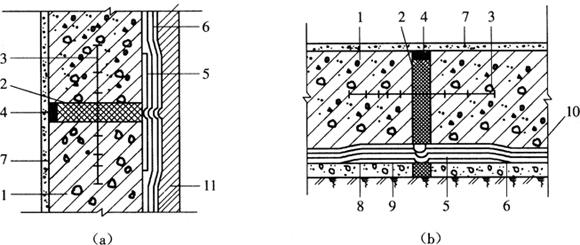
外防内贴法是浇筑混凝土垫层后,在垫层上将永久保护墙全部砌好,将卷材防水层铺贴在垫层和永久保护墙上,其构造如图8-14所示。

图8-14 外防内贴法卷材防水构造

1-平铺油毡层;2-砖保护层;3-油毡防水层;4-待施工的地下构筑物

(1)在已施工好的混凝土垫层上砌筑永久保护墙,保护墙全部砌筑完毕后,用1∶3的水泥砂浆在垫层和永久保护墙上抹找平层。保护墙与垫层之间须干铺一层油毡。

(2)找平层干燥后即涂刷冷底子油或基层处理剂,干燥后方可铺贴卷材防水层,铺贴时应先铺立面、后铺平面,先铺转角,后铺大面。在全部转角处应铺贴卷材附加层,附加层可两层同类油毡,或一层抗拉强度较高的卷材,并确实粘贴紧密。

(3)卷材防水层铺完经验收合格后,即应做好保护层。立面可抹水泥砂浆、贴塑料板,或用氯丁系胶粘剂粘铺石油沥青纸胎油毡;平面可抹水泥砂浆,或浇筑不少于50mm厚的细石混凝土。

(4)施工所需的防水结构,将防水层确实压紧。如防水层为混凝土结构,则永久保护墙可作为一侧模板,结构顶板卷材防水层上的细石混凝土保护层厚度不应小于70mm;如防水层为单层卷材,则其与保护层之间应设置隔离层。

(5)结构完工经验收合格后,方可回填土。

(三)特殊部位的防水处理

1.管道埋设件防水处理

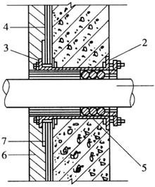
管道埋设件与卷材防水层连接处的做法,如图8-15所示。为了避免因结构沉降造成管道变形破坏,应在管道穿过结构处埋设套管,套管上附有法兰盘,套管应在浇筑结构时准确预埋于设计位置。卷材防水层应粘贴在套管的法兰盘上,粘贴的宽度至少为100mm,并用夹板将卷材压紧。粘贴前应将法兰盘及夹板上的尘垢和铁锈清除干净,刷上一层沥青。夹紧卷材的夹板下面,应用软金属片、石棉纸板、防水卷材等衬垫。

图8-15 卷材防水层与管道埋设件连接处做法

1-管道;2-套管;3-夹板;4-卷材防水层;5-填缝材料;6-保护墙;7-附加卷材层衬垫

2.变形缝处的防水处理

在变形缝处应增加卷材附加层,附加层可根据实际情况采用合成高分子防水卷材、高聚物改性沥青防水卷材等。在结构厚度的中央埋设止水带,止水带的中心圆环应正对变形缝中间。变形缝内可用浸过沥青的木丝板填塞,缝口用优质密封膏嵌封。变形缝处的防水做法如图8-16所示。

图8-16 变形缝处的防水做法

(a)墙体变形缝;(b)底板变形缝

1-需防水结构;2-浸过沥青的木丝板;3-止水带;4-填缝油膏;5-卷材附加层;6-卷材防水层;7-水泥砂浆面层;8-混凝土垫层;9-水泥砂浆找平层;10-水泥砂浆保护层;11-保护墙

随便看

 

离鸟网收录3541549条中英文词条,其功能与新华字典、现代汉语词典、牛津高阶英汉词典等各类中英文词典类似,基本涵盖了全部常用中英文字词句的读音、释义及用法,是语言学习和写作的有利工具。

 

Copyright © 2004-2024 vtrois.com All Rights Reserved
更新时间:2026/4/21 13:45:44