网站首页  词典首页


请输入您要查询的字词:

 

字词 卷接装备
类别 中英文字词句释义及详细解析
释义

卷接装备


1 概述

ZJ19卷接机组是引进英国MOLINS公司具有90年代初期国际水平的PASSIM70卷接机组全套技术,由国内烟机厂转化设计、消化、吸收、研制的新一代机电一体化,集喂料、卷烟、接装于一体的高速滤嘴烟支自动生产线,是大中型卷烟厂的主要卷接设备。该机独特的大流量输出形式,使它可以与TF3N、HCF80、OSCAR、MATCH、COMFLEX等多种烟支存储输送设备连接,形成卷、接、包自动生产线。因该机组生产能力为7000支/min,故在英国称为PASSIM70,国产型号为ZJ19卷接机组。

ZJ19卷接机组由YJ19卷烟机和YJ29接装机组成。

ZJ19卷接机组速度高,整体布局合理,操作维修方便,造型美观,自动功能齐全,噪音低,且配有完善的检测系统,能有效地控制烟支质量,机组有效作业率在85%以上。

目前国际上卷接机组发展趋势是高速度、高自动化、高质量、低消耗。英国MOLINS公司继PASSIM70机组以后相继推出了PASSIM8000、PASSIM10000、PASSIM12000型卷接机组,生产能力达12000支/min。为了解决高速机的布带与烟枪磨损,又要提高生产能力,双烟枪卷接机组相继进入市场。如意大利G.D公司的GD121型卷接机组,生产能力12000支/min,德国HAUNI公司的PROTOS-2型卷接机组生产能力达14000支/min。这些高速卷接机组不但生产能力高,而且自动化程度高,烟支质量好,单箱耗丝少。随着高新科学技术的不断涌现,国产卷接机组也在向着高速度、高自动化、高质量、低消耗这四个方面迅速发展。

2 加工工艺

2.1 卷烟加工工艺、流程图及说明

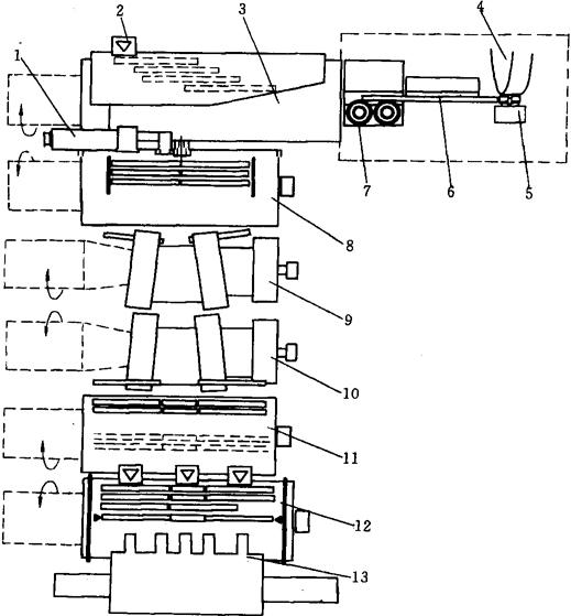
YJ19卷烟机工艺流程图见图1-18-24。

图1-18-24 YJ19卷烟机工艺流程图

→主要工艺路线 →可选工艺路线 检测控制路线

该机由18个工序(从烟丝投入-双倍长度烟支传递)组成主工艺流,另有6条辅助工艺流(编号1~6)。

在主工艺路线,烟丝通过风送(或小车送)落入落料器①,计量箱③中的烟丝量光电传感器控制落料器的定时定量供丝,一般情况下落料器顶部气缸打开碟阀的时间为50~55s,烟丝通过入口管的最大量为5.9kg。当计量箱③中的料位继续下降以至低于低位光电管时,电气系统控制落料器下部气缸动作,打开活门,开门状态延时3s,以保证烟丝全部进入计量箱,接着重复下一个计量箱供料工序。

在采用小车送丝的工厂不需要落料器,但小车必须具备落料器的供料功能,也就是在烟丝将要落至计量箱③中低位光电传感器时,必须有到位的载烟小车喂料,否则就会出现停机。

该机采用两级定量,定量辊完成工序第一次定量④,烟丝进入粗细钩子滚筒进行工序第二次定量⑥,并在两次定量间经过磁选⑤。

定量供丝部分提供比正常需求多2.5%左右的烟丝,以便平准器进行修整。

烟丝经粗细钩子滚筒后由弹丝辘拨下,风扇辘再将烟丝扬打起来,完成松散工序⑦,进入第一次风分。此时,较轻的烟丝被集流管吸附抛入吸丝道⑨,而较重的烟丝,梗签下沉,在扩散器来自中压风机的正压风作用下,将下沉的烟丝吹起悬浮,以利于集流管吸附,烟梗及杂物沉降,通过弹梗辊排出,完成第二次风分除梗除杂辅助工艺流④。

烟丝进入吸丝道并被吸附在吸丝带形成烟丝束雏形⑩,随吸丝带的循环运动形成连续烟丝束,在重量控制器的作用下,平准器根据烟条中烟丝密度的变化而上下移动,对所供烟丝束进行修剪,使烟丝束的截面基本均匀一致,确保规定长度上的烟丝束重量偏差较小。平准器修剪下来的烟丝进入辅助工艺流3,在螺旋回丝装置与振槽的作用下送至料斗下部以供重新利用。

烟丝束经修整后,在烟枪入口烟丝压缩成形工序⑿前,由辅助工艺流2,按需要连续不断地提供经过印刷商标的卷烟纸,使烟丝托在卷烟纸上进入压缩成形工序⑿并进行卷烟纸包合,此时辅助工艺流1的供胶系统按需要将乳胶涂于卷烟纸边上,使其进入工序⒁搭口粘接。初始烟条形成后,继续向前运行至烙铁区段,在这里完成搭口烘干工序⒂。

成形的烟条起初被打条器凹槽导入废料箱。当机器稳定加速至一定速度时,打条器工作打断烟条,后续烟条进入平均重量控制器5,进行烟条密度检测。检测后的卷制成形烟条自右向左进入烟支切割系统⒄,由切割系统切割出一定长度的双倍长度烟支,经拨烟轮等烟支输出装置完成双倍长度烟支的输出工序⒅,将双倍长度烟支送入YJ29滤嘴接装机。

2.2 滤嘴接装加工工艺、流程图及说明

YJ29接装机工艺流程图见图1-18-25。

图1-18-25 YJ29接装机工艺流程图

该机由17个工序(从双倍长度烟支进入一成品滤嘴烟支输出)组成主工艺流,另有3条主要辅助工艺流(编号1~3)。

在主工艺路线,双倍长度烟支由卷烟机的拨烟轮沿轴向水平拨入进烟轮①,经一负压系统减速制动后轻柔地停在进烟轮的端部挡块处。然后烟支流被连续送到烟支切割鼓轮②,在此处被一高速旋转的切刀分切为两支等长的单长烟支,并被传递到第一前分离鼓轮,经第一、第二前分离鼓轮分离工序③、④后,两支烟之间沿轴向被拉开一段距离,该间距至少能放入一支滤嘴段。

本机的第一条辅助工艺流是滤棒供给,滤棒由手工或滤棒自动输送系统(APHIS)填入滤棒料斗,滤棒分切鼓轮将滤棒自料斗中取出,由滤棒切刀将滤棒分切为等长的三段(六分切时)或两段(四分切时)滤嘴段,然后经错位鼓轮将本是同轴线排列的三段或两段滤嘴段先后错开,传入并行鼓轮沿导板和轮槽被吸附于并行鼓轮端部定位块前定位,并为单排一行,送入汇合鼓轮5,一一对应地落入从烟支分离鼓轮传来的两烟支之间,形成“烟组”(烟支+双倍长滤嘴段+烟支)。

本机的第二条辅助工艺流是水松纸供给与涂胶。水松纸在供纸辊的作用下,按需要的速度从安装在纸盘架上的水松纸盘拉出,作精确地定量输送。在被送入主工艺流水松纸鼓轮7前,其背面被上胶辊均匀地涂上了一层薄薄的PVA乳胶。水松纸鼓轮上,一把多刃水松纸切刀将纸分切成片状,并被拉开一段距离后输送到与“烟组”的搭接处。

在主工艺流上“烟组”由汇合鼓轮送至靠拢鼓轮,两下相互倾斜的挡板将两边的烟支向中间的双倍长滤嘴段靠拢,消除其端面之间的间隙,然后送到搓板。在搓板入口处,水松纸鼓轮上已涂胶的纸片的前缘刚好搭接在“烟组”中间的搓接区。“烟组”在水松纸鼓轮的带动下,在水松纸鼓轮和搓板之间做纯滚动,水松纸片即将“烟组”包卷一体,形成双倍长度滤嘴烟;水松纸上的胶被安装在水松纸鼓轮和搓板内部的电加热器迅速烘干,使其牢牢地将“烟组”粘接在一起。随后,取出鼓轮将双倍长度滤嘴烟从搓板上取出完成工序⑧,经淘汰鼓轮淘汰掉水松纸接头烟等次品烟后,送至最后分切鼓轮⑩,被旋转的切刀分切成等长的滤嘴烟支。

最后成形的滤嘴烟支进入⑾、⑿一对锥形后第一、第二分离鼓轮上被分开到预先设置的距离,然后传送到选择鼓轮⒀和检测鼓轮⒁分两排作质量检测,如有不合格烟支则在剔除鼓轮⒂上被剔除,合格的成品滤嘴烟支被送到最后出烟鼓轮⒃。

最后出烟鼓轮上的内外排烟经过大流量柔性调头装置⒄后被调头,滤嘴朝向同一方向,滤嘴向内或向外可根据与该机联接的烟支输送设备和包装设备选择,调头后的大流量成品烟支流经下位传送带被送至装盘机或烟支存储输送系统。

辅助工艺流3主负压系统和气动系统、电控系统等辅助装置负责提供负压、正压以及电控信号等,保证上述过程的正常进行。

ZJ19卷接机组正常工作条件:

(1)环境条件

环境温度 20~30℃;

相对湿对 55%~65%;

海拔高度 不高于2000m;

电源 3N~50Hz/TN-S,(380±38)V,(50±1)Hz;

压缩空气 压力>0.55MPa,流量不小于118m3/h,应经过干燥和过滤。

注:出口整机的电气部分应根据采购方指定的电源电压和频率设计。

(2)原辅材料要求

烟丝 甲级,其技术指标应符合烟草行业《卷烟工艺规范》7.1.2.1的规定;

卷烟纸 A、B级品其技术指标应符合GB12655的规定;

醋酸纤维滤棒 长120mm±0.5mm,圆周24.2mm±0.1mm,其技术指标应符合GB5605有关规定;

包头纸 主要技术指标应符合以下要求:

①厚度:0.04~0.05mm;

②宽度:(48±0.5)mm〔可选规格(50±0.5)mm;(56±0.5)mm〕;

③抗张力(纵向):16.7~21.5N。

卷烟用乳胶粘度 2500~5000mPa·s;

接嘴用乳胶粘度 5000~10000mPa·s;

油墨 应符合《卷烟工艺规范》中7.1.2.5的规定;

烟盘尺寸 应符合YC/T99-1996中3.2序号3。烟盘不得有明显变形或缺损。

ZJ19卷接机组在符合上述规定的操作条件下,应能达到下列操作要求:

(1)生产能力 7000支/min;

(2)机组有效运行率不小于85%;

(3)烟支质量(长度、圆度、重量、硬度、空头、外观)应符合GB5606.3的有关规定;

(4)烟丝、卷烟纸、滤嘴棒和包头纸的损耗率应符合《卷烟工艺规范》中7.1.1.5的规定;

(5)噪音 ≤85dB(A);

(6)烟支在烟盘内方向应满足用户要求。

3 关键装备

3.1 YJ19卷烟机

3.1.1 用途 YJ19卷烟机可将烟丝,卷烟纸卷制成符合工艺要求的圆形双倍长度烟支,然后送入YJ29接装机进行二次分切,接装滤嘴后,形成滤嘴香烟。

3.1.2 结构原理 YJ19卷烟机由供料系统、吸丝成形及重量控制系统、供纸与印刷系统、烟条成形系统、切割和输送系统、传动系统等主要部件和风力与气动系统、润滑系统、电控系统等辅助部件组成。主要部件之间通过传动系统联系,由电控系统控制实现其各自的功能。

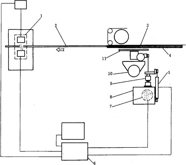
(1)供料系统 按照供料系统的功能,可将其分为计量落料、定量供丝和风分去杂三部分,参见图1-18-26。该系统完成卷烟加工工艺流程图1-18-24中①~⑧从烟丝投料到两级定量、磁铁除杂和二次风分除梗辅助工艺流4的过程。

图1-18-26 供料系统原理示意图

1-进料口 2-翻板门 3-控制柜 4-气动装置 5-定量辊 6-扩散辊 7-回丝振槽 8-刷丝辊 9-细钩子滚筒 10-烟丝团高位光电管 11-烟丝团低位光电管 12-烟丝挡板 13-粗钩子滚筒 14-梗阀 15-漂浮室 16-弹梗辊 17-下吸丝道 18-喷射空气扩散器 19-集流管 20-风扇辘 21-弹丝辘 22-吸丝道 23-螺旋回丝器 24-平准器 25-吸丝带 26-风室 27-计量箱低位光电管 28-计量箱 29-计量箱高位光电管 30-定时加丝检测器 31-落料器 32-料位加丝检测器 33-金属网 34-碟阀

①落料器:落料器31的上部为吸风腔,它与集中供丝系统吸风管路连接,通断由碟阀34控制。碟阀由进料气缸控制其动作。

落料器的下部为料仓。其底板为两扇控料翻板门2,由两侧落料气缸控制开合,落料气缸的控制阀设置在控制柜3中。

落料器的吸风口和进料口1位于落料器的同一侧,根据用户设置,也可移至另一侧。

②定量供丝:计量箱28位于落料器的下面,它的上部和下部安装有两套光电管27和29,高位光电管为落料器提供进料信号,低位光电管为落料器提供卸料信号。

定量辊5位于定量箱体内,动力来自于单独的减速器电机,通过齿轮传动,使两个定量辊等速相向转动,即都相对内侧转动,使烟丝从两定量辊之间落下。

位于定量箱体内两定量辊下方中间位置的扩散辊6,一方面将定量辊拨转过来的烟丝迅速向下输送,以免造成堵塞;另一方面将烟丝充分弹打开,使烟丝得到第一次松散,为磁铁的除杂和第二次定量提供条件。其动力也来自单独减速器电机。定量辊的速度由粗细钩子滚筒13上面的两个光电管监控。起第一次定量供丝的作用。

细钩子滚筒9位于粗钩子滚筒13上方,与粗钩子滚筒同向转动。由于细钩子针倾斜方向与细钩子滚筒转动方向相反,因此工作时,它对粗钩子滚筒表面携带的烟丝进行机械梳理,并把粗钩子滚筒表面多余的烟丝梳理回去。起到了第二次定量供丝的作用。

由于采用交替式粗细钩子,粗细钩子滚筒比旧式滚筒慢了25%,减少了烟丝的降质程度。

③风分除梗:供料系统采用风分的原理将烟丝与烟梗、杂物分离。

YJ19卷烟机供料系统的梗丝分离分两次完成:

第一次风分部分主要包括弹丝辘21、风扇辘20、集流管19和喷射空气扩散器18。弹丝辘21将烟丝从粗钩子滚筒13上拨下,风扇辘20再将烟丝扬打起来,较轻的烟丝被集流管19吸附抛入烟道,较重的烟丝、梗签下沉。喷射空气扩散器18上作用有中压风机的正压风,它利用中压风机的正压气流将下沉的烟丝吹起悬浮,以利于集流管吸附,烟梗及杂物沉降,通过弹梗辊16排出进行第二次风分。

第二次风分部分主要包括下吸丝道17、弹梗辊16、漂浮室15、梗阀14、出梗腔等,它主要利用负压吸风完成风分。

梗丝混合物由弹梗辊16送至漂浮室15,在此处,梗丝由于上升气流的作用而进一步分离。烟丝由于较轻而向上运动,经下吸丝道17上升汇入吸丝道22;烟梗由于风速低于其悬浮速度而下落,由梗阀14送入出梗腔。梗阀与弹梗辊16的结构与作用相似,除了传送功能外还具有锁气机构“阀”的作用,保证出梗风机的负压风与漂浮室里的负压风不产生干涉。

YJ19卷烟机供料系统特点:

①采用两级定量、磁铁除杂和两次风分去杂,使定量、去杂效果达到最佳。

②定量部分低速转动,机械梳理,且第一次风分去杂,可根据不同的烟丝类型利用更换带轮的方式改变弹丝辘、风扇辘、集流管转速,在满足为吸丝带供给需要数量的烟丝前提下,使定量和风分部分对烟丝的造碎程度降到最低。

③计量箱中采用高、低位光电管为落料器提供进料、卸料信号,保证烟丝充足而且均衡的供应,并在无烟丝时停机。

④定量辊速度可变,能适应不同生产条件的要求。

⑤自动无级变速机构可使粗细钩子滚筒根据回丝量自动调正供丝速度,使供丝量基本恒定。

(2)吸丝成型及重量控制系统 吸丝成形及重量控制系统是YJ19卷烟机的重要组成部分之一。该系统主要由以下几部分组成:吸丝道、风室、平准器、重量控制装置与回丝装置等,参见图1-18-27。

1-18-27 吸丝成型及重量控制系统示意图

1-扫描装置 2-烟条 3-吸丝带 4-烟丝 5-平准盘位置传感器 6-重量控制器 7-劈刀高度调整电机 8-平准器齿轮箱 9-劈刀高度调整机构 10-螺旋回丝装置 11-劈刀

YJ19卷烟机吸丝成型及重量控制系统,采用风力吸丝成形原理,凹槽式劈刀平准和放射源检测重量控制技术,使烟丝束截面变化幅度小,平均重量均匀。

吸丝道将风分去杂后的烟丝,在高、中压通风机负压联合作用下稳定输送至循环运动的吸丝带3,风室内的导轨挡住吸丝带上的烟丝,把烟丝初步整理成矩形截面4。重量控制器6利用扫描装置1检测烟条平均重量变化,它设置在烟枪与刀头之间的烟条通路上。当烟条通过时,由于不同密度的烟条对扫描装置1发射的射线吸收量不同,故接收头检测到的辐射量也不同,接收头将此变化转换成电信号,反馈至平均重量控制器,它将来自扫描装置的烟丝密度变化信号与设定值比较放大,驱动劈刀升降伺服电机7动作,使平准器利用劈刀11对通过其上方的烟丝束雏形进行修剪。修剪下来的烟丝被螺旋回丝装置10送至供料系统下部供重新利用。劈刀上有若干等分的凹槽,凹槽数量由生产烟支长度决定。平准时,凹槽部分允许通过较多烟丝。这样,卷制成型后,烟条上将相应形成“紧实”部分。通过设计保证每两段“紧实”部位相距为一支烟长,并通过调整,使刀头切刀切割烟条时,正好从“紧实”部分中间切开,形成紧头烟。该系统完成卷烟加工工艺流程图1-18-24中的工序⑨~⑾和辅助工艺流3和5。

YJ19卷烟机吸丝成型及重量控制系统特点:

①风室体较同类机型加长,且设置为两个不同负压的空腔。延长了烟丝成形过程,提高了烟丝束的均匀性和透气性;同时利用导烟槽封闭风室并补充负压,使烟丝束在平准器位置能够获得更为理想的致密度,提高了卷制质量。

②吸丝带传动由两个主动轮带动,不易打滑。且为气动张紧,张紧力稳定、均匀。

③风室升降为翻转式,有利于操作、维修、保养。

④利用放射性同位素检测烟条密度,平准器升降为伺服电机驱动,通过齿轮的传动来控制平准器的上下位移,调整烟支重量偏差。

⑤回丝装置振槽部分设置有角度探测装置,根据探测器角度变化确定回丝高度(即回丝量),通过电器PLC系统控制供料系统无级变速装置,自动调节供丝量,保持稳定的供丝量和回丝率。

(3)供纸与印刷系统 供纸系统的主要作用是按需要连续不断地提供卷烟纸,并使其以与布带相同的速度供向印刷系统——牌子箱。印刷系统的作用是牵引卷烟纸使其与布带同步的线速度送往烟枪的过程中打印上符合要求的商标图案。该系统完成卷烟加工工艺流程图1-18-24中辅助工艺流2从卷烟纸到商标印刷的过程。

供纸与印刷系统原理见图1-18-28。

图1-18-28 供纸与印刷系统原理示意图

1-钢印辊 2-压纸辊 3-拖纸辊 4、5-盘纸装卡开关 6-调节辊 7-搭接辊 8-供纸辊 9-断纸器 10-引纸辊 11-压纸辊 12-导纸辊 13-纸盘 14-导纸板 15-换纸器 16-印刷器 17-纸库

YJ19卷烟机供纸与印刷系统特点:

①纸盘定位采用气动操作,利用弹簧力卡紧,方便可靠。

②采用动态搭接式自动接纸器,实现新老卷烟纸的自动搭接,工作可靠,保证不停机换纸,从而提高了机器有效作业率。

③换纸所需的“盘纸直径”检测采用光电传感等技术,先进且可靠。

④牌子箱有单色和双色两种供用户选择,而且具有互换性。

⑤商标套色调整与切口位置调整均采用机动,操作方便。

①供纸装置:供纸系统有两种形式可供选择:一种为不带纸张力系统;另一种为带纸张力系统。

不带纸张力系统的供纸辊8与牌子箱引纸辊10都由主传动驱动,保证二者线速度一致。

带纸张力系统的供纸辊由单独的伺服电机驱动,其线速度必须与牌子箱引纸辊的线速度一致。引纸辊是由主传动系统驱动的。因此有一套主电机测速和伺服电机测速比较电路和微处理器控制其供纸速度和引纸速度同步。

为提高设备作业率,实现不停机换纸,该机采用动态接纸装置7。在用盘纸由供纸辊牵引送入换纸器15,然后到拖纸辊3和纸库17。当检测控制系统判定在用盘纸已即将用尽时,指令搭接程序开始。预先放好一片接纸胶带的托架自动移到两条纸路之间,使拖纸辊3与供纸辊8保持同步的磁粉离合器上的电压升高,离合器啮合,加速新的盘纸。当达到最高电压时,新盘纸被设定须以全速即与旧盘纸相同的速度运行。在这一瞬间,启动拼接,搭接气缸使搭接辊7动作,带动切刀砧座同一方向移动,接纸胶带把新旧盘纸连接起来,两个切纸刀分别切断旧盘纸头和新盘纸存在纸库内的纸头,接纸气缸活塞杆缩回,新盘纸投入使用。胶带托架复位,等待下一个接纸程序。

②牌子箱:YJ19卷烟机印刷系统采用墨缸供墨,在卷烟纸上印刷商标图案。商标印刷通过两种运动实现,即卷烟纸输送与油墨传递。

卷烟纸由供纸辊8自供纸装置引入并通过牌子箱。同时,油墨自油墨缸逐级传递,经油墨辊、上墨辊、匀墨辊、均墨辊、送墨辊传递至钢印辊凸模10上,再打印到卷烟纸上。上墨辊在油墨辊与送墨辊间周期性摆动传递油墨。匀墨辊在匀速转动的同时作周期性轴向往复运动,使油墨涂敷均匀。参见图1-18-29。

图1-18-29 牌子箱原理示意图

1-切口调整辊 2-导纸辊 3-断纸器 4-第一钢印辊 5-匀墨辊 6-压印辊 7-光电管 8-套色调整辊 9-第一引纸辊 10-第二钢印辊 11-第二引纸辊 12-烟枪 13-压纸辊 14-导纸板

为保证理想的印刷效果,钢印辊表面线速度应等于卷烟纸速度,即引纸辊速度。在双色牌子箱上有两个引纸辊牵引卷烟纸。其中,第一引纸辊9将卷烟纸引入牌子箱,而第二引纸辊11将卷烟纸引出牌子箱送向烟枪12。两引纸辊转速相同而直径略有差异,第二引纸辊略大,保证卷烟纸在牌子箱内运行时不致松弛。

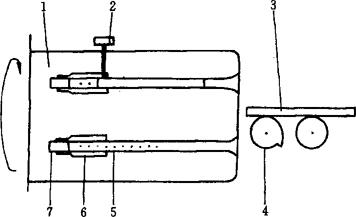
(4)烟条成型系统 烟条成型系统由布带传动、成形通道、粘结剂供给装置、烙铁等部分组成,该系统完成工艺流程图1-18-24中烟丝压缩成型⑿到烟条成型搭口烘干⒂的工艺过程。

烟条成型系统给烟丝与卷烟纸提供了汇合的通道,经几种成型件前后、上下合理配置,上胶器提供均匀的胶液,使卷烟纸严密包裹烟丝,形成连续且均匀一致符合工艺要求的圆形烟条,再经电烙铁烫干粘结部位,最终形成可供分切的烟条。参见图1-18-30。

图1-18-30 烟条成形系统原理示意图

1-布带导条 2-烟枪大压板 3-烟舌组件 4-烟枪布带 5-布带调整轮 6-烟枪底板 7-布带轮 8-小压板 9-压缩烟丝 10-上胶器 11-烟条 12-后导条 13-前导条 14-烙铁 15-大压板 16-大压板调整旋钮 17-卷烟纸搭边 18-烟枪布带 19-烟枪底板 20-烟舌

本系统的结构原理:在烟枪右端入口处,来自吸丝成型及重量控制系统的烟丝束与来自供纸印刷系统的卷烟纸汇合,由一根特制的环形布带4在烟枪底板19上特制的凹槽表面沿水平方向运动,将卷烟纸与烟丝束向前输送,首先经过烟舌20,烟丝束被烟舌初步压缩,形成圆形烟丝束,在烟舌出口处其直径约为标准烟条直径的九分之八。从烟舌出来以后,紧接进入小压板8区段。在小压板入口,烟丝束由于本身的弹性而产生一定的膨胀,最大可膨胀到略大于标准烟条直径。在运行过程中,卷烟纸的一边被卷曲以包裹烟丝束,另一边17未被卷曲,而是高出小压板8,供上胶器10涂胶;同时,烟丝束被再次压缩(压缩量比在烟舌段要小),从小压板出来时,烟丝束直径略小于标准烟条直径,然后进入大压板2区段。在大压板入口处,烟丝束再次产生一定的臌胀,大压板将卷烟纸涂胶纸边卷曲,与另一纸边重叠粘结,同时烟丝束被第三次压缩,达到标准的烟条直径。总之,烟条成型过程主要是烟舌、小压板和大压板配合烟枪底板对烟丝束进行三次压缩、并伴之两次臌胀,由卷烟纸将其紧密包裹的过程,其中压缩是影响烟条质量的重要环节。

初始烟条形成后,继续向前运行至电烙铁14区段。右侧的电烙铁称为第一电烙铁或低速电烙铁,左侧的电烙铁称为第二电烙铁或高速电烙铁。在机器低速生产运行时,第一电烙铁可单独发挥作用,烫干烟条,而在机器高速生产运行时,两个电烙铁将同时发挥作用。

成型的烟条起初被打条头凹槽导入废料箱,而当机器稳定加速至一定速度时,打条器工作打断烟条,后续烟条进入重量检测控制装置。

JY19卷烟机烟条成型系统特点:

①布带轮直径可调,布带张紧采用气动与手动按钮控制,操作方便。

②气垫冷却式烟枪,可减小烟枪底板与布带之间的滑动摩擦,并有散热作用。

③供胶装置由重力气动和弹簧力控制,取代了传统的复杂传动加压供胶装置。

④由低速到高速电烙铁完成不同速度下粘结剂的烫干功能。电烙铁的到位和抬起由气动代替了电磁力和弹簧力,且抬起速度可由人工调节。

⑤打条操作由自动方式代替了手动按钮方式和完全人工方式。

(5)烟支切割和输送系统 烟支切割输送系统装置主要由刀头齿轮箱、刀盘、自动进刀机构、刃磨装置、喇叭嘴装置、烟支导板、拨烟轮、润滑装置及传动机构等组成。

烟支切割装置的作用是将烟条成型系统成型的连续烟条,按工艺要求切割成双倍长度的烟支,并将切割后的双倍长度烟支有条不紊地送入YJ29接装机进烟鼓轮槽内,整个切割装置的工作由各部分协调完成:刀盘高速旋转时切割烟条;为了防止烟条在切割过程中下垂,辅以喇叭嘴作为切割时的支撑;为了使切刀在工作时保持锋利,采用磨刀砂轮对切割烟条的刀片进行刃磨,并由鐾刀砂轮修光刃磨后产生的毛刺;为了使切刀切割部分的长度保持在一定的范围内,采用自动进刀机构补偿切刀因切割和刃磨造成的磨损量;切割后的双倍长度烟支由拨烟轮送入接装机,完成烟支切割的工作过程。

YJ19卷烟机烟支切割和辅送系统特点:

①采用单刀双切,刀盘每转一周切割一支双倍长度烟支。与单刀单切相比,刀盘的转速降低1倍,减少机件的磨损速度和润滑冷却难度,降低使用和维护费用。

②刀盘倾斜一定的补偿角绕定轴转动,使切割刀片产生与烟条速度相同的分速度,从而使烟支切口平齐。定轴中心即为倾角中心,调整使用方便。

③采用悬臂式刀盘,便于安装调整和加工制造。

④刀盘采用定速设计,在任一烟支长度下其最大生产能力均保持在7000支/min的设计生产速度。

⑤采用单臂往复式喇叭嘴,结构简单可靠。

⑥气动自动控制进刀,自动化程度高。

⑦磨刀砂轮高速转动,鐾刀砂轮作行星运动,刃磨效果好,刃口锋利。

⑧采用斜齿轮及弧齿锥齿轮传动,动力传递平稳,噪音低,传动精度高。

⑨采用双拨烟轮输送烟支,烟支输送到位准确。

⑩采用强制循环润滑装置,润滑可靠,并设置了润滑油冷却装置。

工作时,烟条自右至左通过刀头,刀片随刀盘转动切割烟条。为保证烟支切口垂直其轴线,为此,带着刀片运动的刀盘根据烟支长度不同倾斜一定角度。刀片沿刀盘径向安装,其对称平分线理论上与刀盘轴相交,交点与烟条中心线理论上处于同一水平面。当切刀处于水平位置时,刀刃处于理论切割位置。参见图1-18-31。

图1-18-31 刀盘切割原理及速度三角形

1-刀片 2-刀盘 3-刀盘轴 4-烟条中心

切割时,为防止烟条因自重下垂或因切割力而让刀,采用两个喇叭嘴状圆套管支承烟条。两喇叭嘴间形成一条狭缝,以便切刀通过。切割即在刀片通过狭缝时进行。理论上,此狭缝间隙越小越好。由于刀片切割时水平分速度的存在,刀片在切割过程中将沿烟条方向移动一段距离(此时刀片运动可近似地视为平动)。因此,切割时,喇叭嘴应以烟条速度向烟条运动方向相应移动,以便刀片顺利通过狭缝而不致发生干涉。YJ19卷烟机仍采用传统方式,利用偏心连杆机构,拖动喇叭嘴托架,实现喇叭嘴的往复运动。见图1-18-32。

图1-18-32 喇叭嘴机构原理简图

1-传动轴 2-曲柄 3-连杆 4-喇叭嘴 5-框架 6-横弹簧片 7-纵弹簧片

切割后,烟支在惯性作用下继续沿烟支导板前行。在机器左端有两个高速旋转的拨烟轮6,以负压吸住烟支将其加速抛向接装机进烟鼓轮。通过对进烟鼓轮与拨烟轮的同步调整,可使烟支顺利进入接装机进烟鼓轮槽,开始接装过程。见图1-18-33。

图1-18-33 烟支切割与输送原理示意图

1-YJ29接装机进烟轮 2-烟支导板 3-刀盘 4-喇叭嘴 5-双倍长烟支 6-拨烟轮

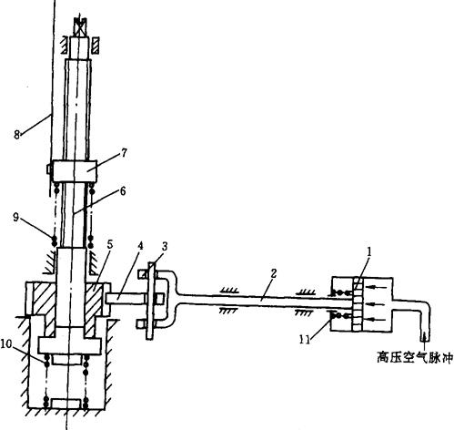
刀片切割时会粘上烟油等,同时还伴有磨损。为使刀片始终保持理想的工作状态(刃口锋利、形状正确),采用砂轮对刀片进行刃磨与修整。因此,必须使刀片相应地沿径向进给,以被偿刀片修整所致磨损对刀刃位置(从而对切割过程)造成的影响。因此,刀头内有自动进刀装置,利用高压空气为动力,使刀片沿刀盘径向进行补偿。见图1-18-34。

图1-18-34 自动进刀机构原理图

1-活塞 2-连标 3-销 4-棘爪 5-螺杆 6-螺杆 7-螺母 8-刀片 9、10、11-压簧

3.2 YJ29接装机

3.2.1 用途 YJ29接装机专用于滤嘴香烟的过滤嘴接装,与YJ19卷烟机对接后,可使双倍长度烟支分切后利用水松纸把烟支和滤嘴段包卷在一起形成滤嘴香烟,并可对成品烟自动检测,自动剔除不合格滤嘴烟支。该机独特的大流量输出形式,使它可以与TF3N、HCF80、OSCAR、MATCH、COMFLEX等多种烟支存储输送设备连接,形成卷、接、包自动生产线。

3.2.2 结构原理 目前国际国内市场上的接装机都是用一系列鼓轮的传动加上其他机构来完成接装滤嘴、检测和剔除功能的,因此鼓轮在接装机的结构中占有相当大的比重。这些鼓轮中通有负压或正压,可将烟支、滤棒、滤嘴段和滤嘴烟支吸附在一定方位的槽中,鼓轮中的气阀准确地控制着吸气和释放的位置,保证烟支、滤棒、滤嘴段、水松纸片和滤嘴烟支等不同鼓轮间的准确操作和传递。参见图1-18-35YJ29接装机鼓轮轮系图。

图1-18-35 YJ29接装机鼓轮轮系图

1-最后传送鼓轮 2-剔除鼓轮 3-检测罩 4-检测鼓轮 5-选择鼓轮 6-第二后分离鼓轮 7-第一后分离鼓轮 8-最后切刀装置 9-最后切割鼓轮 10-淘汰鼓轮 11-取出鼓轮 12-搓板 13-靠拢鼓轮 14-汇合鼓轮 15-第二前分离鼓轮 16-第-前分离鼓轮 17-烟支切刀 18-烟支切割鼓轮 19-进烟鼓轮 20-供纸辊 21-胶前加热器 22-水松纸抬纸臂 23-胶辊 24-胶位调节器 25-胶后加热器 26-水松纸鼓轮 27-水松纸切刀 28-滤嘴段并行鼓轮 29-滤嘴段错位鼓轮 30-滤嘴段搓段 31-滤嘴段传送鼓轮 32-滤棒分切鼓轮 33-阻挡辊 34-滤棒切刀

YJ29接装机按其功能和结构分由以下各系统组成:烟支供给、滤嘴供给、水松纸供给与上胶,烟支搓接成型,烟支检测,烟支调头与大流量输出,传动、气动、润滑和电控系统。

(1)烟支供给系统 烟支供给系统主要由进烟鼓轮、切割鼓轮、第-、第二前分离鼓轮、汇合鼓轮、烟支切刀、磨刀装置及电气控制部分组成。见图1-18-36。

图1-18-36 烟支供给系统原理示意图

1-烟支切割装置 2-烟支制动探测器 3-进烟鼓轮 4-卷烟机刀头 5-喇叭嘴 6-双倍长烟支 7-拨烟轮 8-烟支切割鼓轮 9-第一前分离鼓轮 10-第二前分离鼓轮 11-烟支汇合鼓轮 12-靠拢鼓轮 13-搓板

烟支供给系统的作用是接收卷烟机的高速双倍长度烟支,经鼓轮之间传送、分切、分离,再加入滤嘴段,供给接装机的搓接成型系统,为烟支接嘴提供条件。此系统完成工艺流程图1-18-25中工序①~⑤。

进烟鼓轮3的作用是接收从卷烟机过来的高速双倍长度烟支。双倍长度烟支经双凸轮拨烟装置7拨动加速后,以448m/min左右的高速沿轴向进入进烟鼓轮3。在如此高速情况下若直接采用定位块制动,势必会碰撞烟支造成双倍长度烟支空头和弯曲。因此,在进烟鼓轮上对双倍长度烟支采用了负压制动和到位装置,从而使高速运动的双倍长度烟支轻缓地降速并且平稳地定位到正确的位置上,然后随着进烟鼓轮的转动传送给烟支切割鼓轮8。

烟支切割鼓轮8和切刀及磨刀砂轮的作用是从进烟鼓轮上接收双倍长度烟支,然后把双倍长度烟支分切为等长的烟支,再传送给第一前分离鼓轮9。

第一、第二前分离鼓轮9、10使被切割开的烟支分离,使两等长烟支之间能放入一支滤嘴段。

汇合鼓轮11把分离开的烟支和来自滤嘴供给系统的滤嘴段汇合成烟组,然后传送给靠拢鼓轮12。烟支制动到位见图1-18-37。

图1-18-37 烟支制动到位示意图

1-进烟鼓轮 2-探测器 3-双倍长度烟支 4-拨烟轮 5-减速负压孔 6-定位真空道 7-定位块

YJ29接装机采用独特的柔性分离结构,使已分切的两支单长烟支作轴向分离。分离鼓轮主要由锥形的外段鼓轮和内段鼓轮组成。它们安装在成一定角度的“相交轴”上,绕各自的轴线作倾斜的平面旋转,达到烟支分离的目的,参见图1-18-38。从而使烟支磨损和零件磨损减小到最小程度,保证了良好的烟支质量。

图1-18-38 烟支分离示意图

(2)滤嘴供给系统 滤嘴供给系统由滤棒料斗、滤棒搅拌器,阻挡辊、滤棒分切鼓轮、滤嘴段错位、滤嘴段并行等机构组成,见图1-18-39。该系统的功能是将滤棒分切成二支或三支等长滤嘴段,并将它们并成单行输出,传送给汇合鼓轮。该系统完成工艺流程图1-18-25中辅助工艺流程1。

图1-18-39 滤嘴供给系统

1-滤棒进料 2-滤棒分切 3、4-滤嘴段传送 5-烟支 6-“烟组”汇和 7-滤嘴段并行

滤嘴供给系统与同类机型相比有如下特点:

①YJ29接装机供给系统的结构原理及工艺流程与其它同类产品基本相似,为保证滤棒分切和滤嘴段传送、错位、并行等过程中不至于被损伤变形或错乱,在结构中增设了相应的保护措施,使滤棒变为滤嘴段后顺利传送到汇合鼓轮槽。

②滤棒被分切后的错位,采用了与其他同类产品不同的较简单搓动机构。在滤棒分切鼓轮传动部分增加了离合器制动装置,防止由于惯性而使滤棒供应量增多,造成堵塞和错乱。

③在滤嘴段传送过程中,较少使用导轨,使调整更为方便,并将传动系统中的离合器由电磁式改为气动装置,增加了机器的可靠性。

④滤嘴段并行采用负压吸附到位,避免了滤嘴段端部的损伤,提高了可靠性。

⑤改变部分零件,可适应不同长度的滤棒需要,扩大了机器的使用范围。

(3)水松纸供给与上胶系统

①水松纸供给:水松纸供给系统将水松纸连续、均匀地按预定线路输送,经表面涂胶合,分切成所需长度的纸片,供包卷已经两端靠拢后的“烟组”。

水松纸供给装置如图1-18-40所示,当水松纸供给装置开始工作时,水松纸由盘纸架1引出,经水松纸自动搭接装置2、纸库9、水松纸进给辊4、胶前加热器8、供胶器5、胶后加热器6到达水松纸鼓轮7的外圆上,外圆上的负压孔将纸吸附,并紧贴水松纸鼓轮表面,以低于水松纸鼓轮表面线速度送进,至切刀下面时,按一定的长度切断。切断后的纸片跟随水松纸鼓轮运动,到达搓板区域与“组烟”汇合时,就包卷“组烟”。该系统完成工艺流程图1-18-25中辅助工艺流2。

图1-18-40 水松纸供给系统原理示意图

1-盘纸架 2-水松纸自动搭接装置 3-拖纸辊 4-水松纸供纸辊 5-供胶器 6-胶后加热器 7-水松纸鼓轮 8-胶前加热器 9-纸库 10-水松纸

本机的水松纸切刀与其他同类机型不同,切割水松纸由两个气缸的活塞推动切刀进行切割,可使切刀在水松纸鼓轮上切纸力均匀一致。在保证切割纸的同时使切纸刀有较长的寿命。为了避免气缸活塞加载时的冲击,在水松纸切刀座下面垫有一适当弹性的塑料垫,还有两个小气缸,使切刀每次切割之后能抬起。整个切刀可围绕枢轴作小量的转动,以保证切割和抬起位置不变。参见图1-18-41。

图1-18-41 水松纸切刀原理示意图

1-切刀气缸 2-水松纸切刀 3-止动块 4-抬刀块 5-水松纸鼓轮 6-鼓轮镶条 7-水松纸

刀体上有八个四刃方刀,可以换刃,四个刀刃都用钝后更换新刀,因采用模块结构,拆换、维修时可方便地整体取出。

②上胶装置:上胶装置主要由胶水泵、供胶器、供胶器底板等组成。参见图1-18-42。

图1-18-42 供胶系统原理示意图

1-水松纸供胶辊 2-供胶器 3-胶后加热器 4-水松纸鼓轮 5-回胶管 6-胶水筒 7-胶泵 8-供胶管 9-胶前加热器

本系统的主要作用是在水松纸的一面均匀地涂一层薄薄的PVA乳胶,以供水松纸鼓轮将涂过浮胶的水松纸切割成一片片的等长纸片,并经搓板完成烟支与滤嘴段的搓接。YJ29接装机供胶方式为强制式供胶,即胶液经一系列传送机构,按所设定的流向向水松纸提供,并可根据机器的速度自行调节供胶量,将多余的胶液返回胶水筒,以供循环使用。既保证了供胶器有足够的乳胶供应,又不使多余的胶液浪费,且可避免胶液长时间与空气接触而变质。

供胶器2为数字一“A”型预装好结构,便于每日清洗与安装。电机驱动胶水泵7从大容积胶水筒6中给供胶器2中的胶辊供应胶。胶水泵7速度由微处理器控制,微处理器可使胶水泵随水松纸的速度向胶辊输送合适的胶量。当不供纸时,泵以低速供胶。

根据需要,可对胶水泵的速度进行调节。

接装机用的乳胶盛放于胶水筒6内,胶液在泵吸力的作用下,从胶水筒经供胶管8进入胶水泵,泵内的齿轮旋转时对胶液产生一定的挤压力,经供胶管8送至胶辊的中心点。最大量时,胶水泵可供应大约245mL/min的乳胶通过胶管供于胶辊中心。胶液在胶辊上形成均匀的胶膜并涂到水松纸表面。多余的胶在胶辊转动时的离心力作用下被挤到胶辊外边,通过胶辊两端的刮刀,流到供胶器下边的集胶器内,再回流到胶水筒6,供再次使用。

(4)烟支成型系统 搓接与分切等装置也称做接装机的烟支成型系统。

烟支成型系统见图1-18-43,主要由烟支靠拢鼓轮、水松纸鼓轮、水松纸切刀、搓板、取出鼓轮、淘汰鼓轮、最后切割鼓轮、最后切刀等组成。

图1-18-43 烟支成型系统

1-水松纸切刀 2-水松纸鼓轮 3-胶后加热器 4-靠拢鼓轮 5-搓板 6-取出鼓轮 7-淘汰鼓轮 8-最后切割鼓轮 9-最后切刀 10-后分离鼓轮

烟支成型系统的主要功能是接收来自汇合鼓轮的“烟组”,相互靠拢后送入搓板5和水松纸鼓轮2之间。水松纸切刀1将已单面涂胶的水松纸切割成特定的等长水松纸片,在搓板与水松纸鼓轮之间将水松纸片包卷在“烟组”中间部位。取出鼓轮6取出双倍长度滤嘴烟支,经淘汰鼓轮7淘汰部分不合格烟支后,在最后切割鼓轮8处将双倍长度滤嘴烟支从中间对切成等长的两支滤嘴烟支。该系统完成工艺流程图1-18-25中工序⑥~⑩。

烟支成型系统设计比较完善,操作、控制方便、且搓接质量明显优于同类产品。该系统采用了先进的滚搓成型方式,搓板在水松纸鼓轮下部,定位准确、调整方便。搓板内置加热装置,且搓接行程长,确保搓接质量。同时另置搓板堵塞探测器,当搓板堵塞如果4s内仍不能排除时,会自动停机,搓板与靠拢鼓轮靠一套气动逻辑程序控制,保证搓板进退时和靠拢鼓轮之间相互位置不相干涉。参见图1-18-44。

图1-18-44 搓板结构示意图

1-水松纸鼓轮 2-搓接烟支 3-搓板导轨 4-搓板支架 5-偏心调整杆 6-搓板

该系统具有搓板清理、碎水松纸片自动排除功能,可减少大量手工操作。所具有的剔除功能可将部分类型的残烟先期剔除。

烟支成型系统的工作原理为来自汇合鼓轮的“烟组”,被靠拢鼓轮(简称DEC鼓轮)接收后,由靠拢鼓轮两端的两个彼此倾斜的圆盘(旋转斜盘)沿轴向轻轻推移、渐渐地相互靠拢,消除相互之间的间隙,进入搓板与水松纸鼓轮之间。

被供胶器涂胶的水松纸,在胶后加热器处被适当加热烘干后,水松纸被负压吸附在水松纸鼓轮表面,水松纸鼓轮外圆的线速度稍高于供纸辊送出水松纸的线速度。水松纸被切刀在水松纸鼓轮表面切断后,后面的水松纸将沿水松纸鼓轮表面相对向后滑动,单面涂胶被切割后的水松纸片不相连地被负压吸附在水松纸鼓轮外表面,与经靠拢鼓轮靠拢后的“烟组”进行搓接。

靠拢鼓轮靠拢后的“烟组”同时被搓板爪拾起时,大约在水松纸鼓轮与靠拢轮鼓轮中心连线处,已切割的单面涂胶的水松纸片被搭接在“烟组”中间位置,在一定压力下“烟组”在水松纸鼓轮和搓板圆弧间作纯滚动,水松纸片即被包卷到“烟组”上。

水松纸鼓轮和搓板内部的加热元件,使鼓轮和搓板表面具有较高的温度,足以粘牢、干燥胶液,同时对“烟组”圆周具有烫熨作用,使“烟组”获得良好的外观且不易变形。经过搓接后的双倍长度滤嘴烟支由取出鼓轮取出。

当“烟组”进入搓板之间,如果“烟组”只有烟支而无滤嘴段,位于水松纸鼓轮支架上的缺滤嘴段探测器将发出信号,吹气导管接通压力空气,将两支烟支靠拢,成为比“烟组”短的香烟,这样的烟支经淘汰鼓轮时会自动被剔除。

搓接成型的双倍长度滤嘴烟支由搓板传送至取出鼓轮。如果搓板发生堵塞,取出鼓轮将接收不到烟支,鼓轮的负压吸气孔就和大气相连通,造成鼓轮内负压值下降。如果在设定的时间内搓板堵塞不能被排除,压力传感器将发出指令,使机器停止工作。

双倍长度滤嘴烟支由取出鼓轮到淘汰鼓轮自然干燥。淘汰鼓轮除与其他大多数鼓轮结构类似以外,且有剔除功能,由高速电磁阀控制的高压空气剔除方式首先剔除指定的某一支或几支烟。它剔除烟支类型包括:

①卷烟纸盘纸搭接头包卷的双倍长度烟支;

②水松纸盘纸搭接头包卷的双倍长度滤嘴烟支;

③缺滤嘴段的双倍长度烟支。

这些被剔除烟的剔除信号由机器自动探测和程序控制而反馈给出,由压缩空气进行自动剔除。

在淘汰鼓轮上的另一种类型剔除为三分之一负压截止。通过气缸操纵的气阀动作,封闭淘汰鼓轮吸烟负压,烟支在没有吸引负压情况下,脱离鼓轮,从而进行剔除动作。这种剔除方式剔除的烟支包括:

①机器在低速运行下的不连续烟支流及次品烟;

②搓板中发生阻塞的烟;

③调试过程中强制手动产生的应剔除的烟。

因为高速机是在高速状态下保证烟支质量而调整各方面参数的,在低速状态下,烟支质量必受影响,这部分烟应予以剔除。

最后切割鼓轮吸持双倍长度滤嘴烟支逆时针运行,在此一对成漏斗式的导轨将双倍长度滤嘴烟支中心相对切刀作轴向细微调整,保证双倍长度滤嘴烟支被分切为两支等长的滤嘴烟支。

(5)检测与大流量调头输出装置 检测与大流量调头输出装置由后分离鼓轮、选择鼓轮、检测鼓轮、剔除鼓轮和大流量调头输出装置组成。

经过最后切割鼓轮分切的滤嘴烟支由后分离鼓轮拉开一定距离输送给选择鼓轮和检测鼓轮进行质量检测,经剔除鼓轮剔除掉不合格烟支后由最后传送鼓轮传送给大流量输出装置,并经传送带送往烟支输送装置和包装机械。

后分离鼓轮的结构和原理与前分离鼓轮的结构类似。仅因轮体锥角及香蕉轴锥角不同,使烟支拉开的距离不同。

剔除鼓轮和选择鼓轮外型与内部结构与标准鼓轮类似,只是鼓轮内装有高速电磁阀,用于剔除废品烟和采集不同类型的烟支样品。

①检测装置:为了控制滤嘴烟支成品质量,就必须对滤嘴烟支进行质量检测。在机器高速运转过程中,要实现生产的连续性,检测必须是个动态连续过程,保证对每一支烟进行全面的检查。残次品烟的类型较多,产生的原因也各种各样。例如:漏气、缺嘴、空头、搭接不良、烟支过重、过轻、接头烟等。有些类型残烟的检测是在卷烟机上进行的,而绝大部分检测是在接装机上实现的。

接装机滤嘴烟支检测包括三方面的内容。即缺滤嘴检测、空头检测和稀释度检测。

a.缺滤嘴检测。缺滤嘴检测探测头采用的是红外光电接近开关,感应距离为4mm。在感应距离调节合适的情况下,当缺滤嘴“烟组”到达感应位置时,探测器感应到缺滤嘴信号,此信号被反馈到电器控制系统。由电器控制系统提供一延迟了固定时间脉冲剔除信号给淘汰鼓轮上的高速剔除电磁阀,剔除功能动作,使正好到达淘汰鼓轮的缺嘴“烟组”剔除到废烟箱里。

b.空头检测。空头探测器是一个红外光电传感器,它有一个发射器和四个接收器组成。接收器接收反馈回的红外线是与烟支脉冲相匹配的,当烟支通过发射器时,如果烟支头部空头,红外线就能透过烟支端部,使接收器接收到较强的红外线;如果烟支头部不空头,红外线就会被烟丝吸收。接收器根据接收到红外线量值的大小与设定值比较,从而判断烟支是否空头。每检测出的空头烟支都会被电器控制系统标以剔除信号,通过一定的延迟时序后,在剔除鼓轮被剔除功能剔除掉。此信号还输入到稀释度检测,使稀释度检测机构对这些空头烟支不再进行检测。

c.稀释度检测。烟支的稀释度是烟支质量的重要指标。从某种意义上讲,高、低档烟除原辅材料差别外,对稀释度要求指标的高低也是衡量烟支质量的重要标准。因此,对于较高档的烟支来讲,稀释度检测也是质量检测的重要内容。稀释度标准就在上限和下限两个标准设置值之间,凡是高于上限或低于下限的烟支,检测系统都判定为稀释度超标烟支。

烟支由选择鼓轮进入检测鼓轮后,主要进行质量检测,而稀释度检测是烟支质量检测的重要方法,该方法能够检测烟支是否破损、漏气或胶粘剂污染现象。

②烟支大流量调头输出装置:YJ29接装机的烟支输出系统为一独特的柔性大流量调头输出装置。

上、下控制带4、8把两排烟支2从最后传送鼓轮1上单层传递到内侧和外侧上位传送带7上。当烟支从控制带传送到斜板上而到达上位传送带时,有一纤维拖卷用来保持烟支平稳。控制带及最后传送鼓轮与内、外侧上位传送带的速度差使烟支在上位传送带上堆码为多层。见图1-18-45。

图1-18-45 烟支堆码示意图

1-最后传送鼓轮 2-成型烟支 3-好烟计数器 4-上控制带 5-控制带齿轮 6-纤维拖卷 7-上位传送带 8-下控制带

内侧和外侧传送带动力来源于接装机主传动系统,其传动与主传动之间有一电磁离合器控制,使内、外侧上位传送带可以根据合格烟传送情况单独控制是否运行。

图1-18-46是烟支大流量调头输出系统原理示意图。内侧和外侧上位传送带把在有机玻璃挡板7导轨之间的两排多层烟支进行传送。内排或外排烟支由一个独立传动调头装置1调转180°,内排或外排烟支被调头后,烟支滤嘴都朝里或都朝外,这根据调头形式不同而决定。调头盘为一柔性结构,中间吸盘的负压使烟支在调头运行时受到稳定的吸附控制,保证准确的调头操作。

图1-18-46 大流量调头输出系统原理示意图

1-调头盘 2-上位传送带 3-控制带 4-最后传送鼓轮 5-成型烟支 6-落烟口 7-挡板

调过头的烟支进入另外一个短上位传送带和另一排烟支在落烟口6上汇合。

落烟口装置是一个弯槽,它引导汇合的烟支到达下位传送带上。独立驱动的下位传送带把接装机和一个后续的烟支处理系统连接起来。

有一个红外传感器用于控制下位传送带的配合速度,该传感器有4个红外发射和接收管,从上到下依次排开,并彼此对准。传感器光束判别落烟口附近上位传送带的堆码烟量,并依次改变下位传送带的速度与烟支流量相匹配。该系统完成本机最后一道工序,将成品烟输出到后续设备(装盘机或烟支存储输送系统)。

YJ29接装机的烟支输出系统与同类接装机相比,有相当大的优越性。烟支由单层高速传递转变为多层大流量,这样可以使烟支的松头现象有所改善。柔性调头盘运行相当可靠稳定,不像槽式调头盘对交接鼓轮和烟支质量等条件的适应能力较低,易造成调头乱烟,交接不良。

多层烟支输出也为后续的装盘或包装等设备的稳定运行提供了保证。偶然的烟支剔除并不造成输出的间断,同时也给整个生产线的稳定性提供了保障,提高了生产效率。

烟支调头的方向T、T、O或T、T、I(即滤嘴头朝外或朝里)可由用户根据后续设备包装机进行选择。

3.3 ZJ19卷接机组电控系统

ZJ19卷接机组电控系统是用来控制、协调YJ19卷烟机和YJ29接装机各功能部件的动作,实现从烟丝、盘纸、滤棒、水松纸等原辅材料到成品烟支的整个生产过程的控制。系统的构成框图见图1-18-47。

图1-18-47 ZJ19卷接机组电控系统构成框图

该电控系统主要以1台西门子公司生产的S5-135U可编程序控制器(以下简称PLC)为核心,并采用了S5-100U型PLC、单片机8748、单片机8751、微处理器8085A等作为各功能部件的控制器。本机可直接向制丝线发出烟丝请求信号,供给烟丝生产成品烟支后,与下游机连接,为其提供适时速度脉冲,控制下游机的速度,也接受下游机的启停信号。本机也可实现与上位机的通讯,给上位机及打印机提供参数。

本电控系统分为YJ19卷烟机电控系统和YJ29接装机电控系统。

3.3.1 YJ19卷烟机电控系统

(1)配电与安全联锁 配电系统为整个卷烟机提供需要的三相交流380V、220V、110V,单相交流110V、5V,直流+24V、±15V、±12V、+5V电源,并配有漏电保护。

24Vp作为信号源,由YJ29联锁、YJ19卷烟机急停按钮、刀头、左右后门、后身联锁等组成安全联锁电路,用来保护人身和机器安全。

(2)主控PLC系统 控制和协调整个机组的功能,并能与“MAID-N1.4控制系统”和“接装机微处理器”系统通讯。使用一台S5-135U型PLC,由电源和总线、CPU模块、三个数字输入模块,四个数字输出模块组成。CPU根据用户程序的要求,完成机器所有逻辑信号的分析、系统检测,以确保机器正常运行,通过自检测系统用户可以从CPU前显示面板上得知故障原因。

I/O模块为卷烟机控制、接装机联锁、MAID-N1.4系统等提供96个输入口和96个输出口(即64个0.5A输出口和32个2.0A输出口)。为了提高PLC系统的稳定性,所有的输入输出信号均通过光电隔离器与CPU和PLC内部数据总线隔离。

数字输入模块3具有产生中断服务请求的功能,主要用于跑条探测(RBO)、烟条脉冲测速(ERP)、烟枪测速等功能。该模块O位字节(即中断字节)的响应时间为0.3ms。

为保证在PLC出现故障的情况下机器的安全,某些输出信号的电源是通过安全联锁线供给的,如果PLC有故障,则同机器运转相关的输出信号将不会有输出,不会由于PLC系统指出错令而产生错误输出。

用户程序存贮在CPU模块上的EPROM中。

(3)主电机控制 用PLC的输出信号控制变频器,变频器通过输出电压和频率来改变主电机的速度,实现无级变速控制,给整个机组提供主动力。主电机有五种速度:点动、起动、拼接、次高速、高速。高速由控制面板的电位器调节。

(4)后身控制系统 接收从制丝线送来的烟丝,为烟支成型提供足够的烟丝。

本控制系统相对独立,主控制器为S5-100U型PLC,由一个CPU模块、一个模拟量输入模、一个模拟量输出模块、两个数字量输入模块,两个数字量输出模块组成。其模拟量输出信号控制一台变频器,用变频器控制定量辊电机的速度,使烟丝供应量稳定。

(5)供卷烟纸控制系统 YJ19卷烟机的卷烟纸供给是双盘纸系统,在供纸控制系统的控制下,可自动切换、连续供应卷烟纸。当工作的盘纸直径达到设定值时,纸少信号送入主PLC,PLC启动拼接程序,备用纸盘加速使新老卷烟纸速度相同,拼接阀动作,完成拼接过程。盘纸剩纸多少可以设定,如果工作盘纸直径逐渐小到设定拼接值,而备用盘纸仍未装上则报警停机。

用一个伺服控制器,根据卷烟纸张力的变化,调整供纸速度,避免卷烟纸在供纸过程中拉断。

系统中设置有一个断纸探测器,机器运行中,如果出现断纸,则停机,同时后身驱动离合器脱开,断纸器动作,打断盘纸,避免缠钢印。

系统中设置有钢印对刀调整电机和钢印套色调整电机,对钢印进行调整。

(6)MAID-N1.4控制系统 MAID-N1.4的含义是标准自动检测和数据采集系统,本系统由4个CPU8085A为核心分别构成:操作控制微处理器板(OC)、重量控制微处理器板(WC)、重量分析微处理器板(WA)、数据采集微处理器板(DC)。MAID-N1.4系统具有以下几种功能:

①烟支重量测量、平均重量和标准偏差显示;

②对劈刀电机进行伺服控制,以控制烟支的重量;

③烟支重量故障分析和剔除;

④烟支紧头测量和位置监测;

⑤产品数据采集:总烟支数、总剔除数;

⑥记录机器停机原因和停机时间。

以上所有信息可以在等离子显示屏上显示。

(7)烟条成型控制 用于烟条的涂胶、烫干,并送入喇叭嘴。包括供胶、温度控制、烙铁操作、打条器、喇叭嘴探测和跑条探测等。

温度控制由一个四通道带微处理器的温控器控制两个电烙铁的温度,对其温度控制点进行PID调节,使电烙铁在生产过程中保持恒定的温度。温控器每个通道温度控制范围为0~600℃,并有温度超限报警功能。

(8)显示系统 为液晶汉字显示器,接收来自PLC的信号,显示机组的各种工作状态信号、故障报警信号。

3.3.2 YJ29接装机电控系统

(1)配电与安全联锁 配电系统为整个接装机提供三相交流380V、110V,单相交流110V、90V、80V、5V,直流+24V、±15V、±12V、+5V电源,并配有漏电保护。

来自卷烟机的24Vp作为信号源,由供滤棒联锁、前门联锁、急停按钮等组成联锁电路,用来保护人身和机器安全。

(2)微处理器系统 为YJ29接装机电控系统的核心,由中央处理器(CPU8085A)、输入接口电路、输出接口电路、诊断与通讯等部分组成。微处理器接收来自各个传感器、开关、按钮等检测元件的信号,其输出控制各电机、电磁阀、离合器、制动器等执行元件,进而控制整个接装机各个功能部件的动作,并和YJ19卷烟机主PLC进行通讯。

在诊断与通讯板面板上,设有诊断接口,可以接上诊断盒监测机器运行的状态和机器的故障点,从而为机器的使用和维修提供极大方便。

(3)进烟鼓轮控制 为把来自卷烟机的高速双倍长度烟条定位在进烟鼓轮的适当位置,需对烟条施加一个制动负压使其减速。制动负压由制动负压风机提供,大小由安装在与大气相通的风管上蝶阀自动调节,蝶阀由进烟鼓轮伺服电机驱动。该伺服控制系统控制烟条的到位率(50%为最佳),烟条是否到位由一个光电探测器检测,当烟条到位率过高或过低时(例如>60%或<40%),进烟鼓轮伺服电机正转或反转,使制动负压增大或减小,将到位率控制在40%到60%之间。

(4)滤棒供给 当供滤棒电磁阀通电时开始供滤棒,把6倍长滤棒分切成双倍长滤嘴并对齐后,送入两支无嘴烟中间。本机设有缺滤棒探测(可选择连续缺3支滤棒是否停机)、滤棒阻塞探测等保护措施。

(5)水松纸供给系统 本机水松纸供给,为连续供给方式,机器可以同时安装两个水松纸盘,其中正在使用的盘纸为机器提供水松纸,另一个新盘纸准备替代将要用完的盘纸,利用光电探测器检测剩纸多少,当盘纸直径小到设定值时,执行新老盘纸自动拼接和交换程序。

该控制系统以单片机8751为核心,相对独立,可以和接装机微处理器通讯。剩水松纸多少可以设定,供水松纸速度由拉纸辊电机控制,拉纸辊电机的速度跟踪主机速度。在换纸器板面板上,设有诊断接口,可以接上诊断盒监测水松纸供给和拼接的情况。本机设有水松纸断纸探测,若水松纸断时停主机。

(6)加热器 控制水松纸粘胶前后加热器、水松纸鼓轮加热器、搓板加热器的温度,使水松纸更好地包卷在烟条和滤嘴上。所用四个加热器由一个四通道温控器(和YJ19卷烟机所用温控器型号一样)控制。

(7)供胶 给水松纸涂胶,使其能够在搓板处包卷到烟支组上。由操作面板上的三位开关和电位器及微处理器控制供胶电机的速度。供胶速度分低速(范围在5%~60%全速)和高速(范围在50%~95%全速)两种。

(8)双倍长度烟支剔除 由负压截止阀和高速剔除阀组成。负压截止阀用于剔除启动、停止及搓板阻塞时产生的双倍长烟;高速剔除阀用于剔除缺滤嘴、卷烟纸拼接、水松纸接接时产生的双倍长烟。

(9)烟支调头与流量控制 实现成品烟支的计数、对烟支输送带速度进行控制。

由内外两个好烟探测器分别控制两个离合器,控制两个上部输送带是否动作;下输送带由大流量电机驱动。四个红外光发射和接收器检测烟支料位的高低,由此控制大流量电机的速度,其速度分四分之一全速、半速减10%、半速、半速加10%、全速减10%、全速、全速加10%。

(10)烟支质量检测与剔除 该系统以单片机8748为核心,相对独立,可以和接装机微处理器(8085)通讯。

本机装有两套空头探测器,分别检测内、外排烟支是否空头,对空头烟逐支进行剔除。设置有空头检测灵敏度BCD开关,可以调整空头烟支剔除的多少。

设置负压探测器检测烟支的稀释度,与稀释度设定值相比较,若高于上限或低于下限就认为是不合格烟,予以剔除。用户可以根据需要设置稀释度上限、稀释度下限、浮动极限、标准偏差等参数,当稀释度超限、故障烟超限、坏封口、吸罩故障、检测负压低等故障出现时报警。可以显示成品烟计数值、烟支稀释度数值和标准偏差等。

3.4 ZJ19卷接机组技术水平

ZJ19卷接机组是引进英国MOLINS公司PASSIM70专有技术,经消化吸收、改进完善、国产化研制成功的卷接设备。PASSIM70卷接机组是PASSIM系列卷接机组中最基本、技术成熟、可靠性高、潜力大、总体性能指标达90年代初国际先进水平的卷接设备。

3.4.1 设备有效作业率 PASSIM70卷接机组明显高于其他同类产品,卷接机组年平均有效作业率多为85%以上,有的可达90%左右。

3.4.2 烟丝消耗 ZJ19卷接机组烟支密端位置能在MAID-N1.4上显示,并能根据显示的偏差值在机组运行中对密端位置进行调整,使切刀在切割烟条时刚好切到密端的中间位置。两级定量、二次风分的供料系统设计,以及加长风室的设计,保证了烟丝的均匀供给和烟丝消耗低于同类机型。烟丝消耗约为46kg/大箱左右。

ZJ19卷接机组的残烟量较之同类机型要低约为0.7kg/大箱。

3.4.3 烟支质量

(1)切口质量 该机切口质量均能达到国标有关规定。

(2)烟支空头情况 经过设计改进的ZJ19卷接机组明显优于同类机型,双倍长烟支由YJ29接装机第一切刀分切后,采用独特的锥形鼓轮柔性分离,烟支自然分离无滑移现象,且其结构不易磨损;调头部分采用大流量柔性调头机构,比PROTOS机械手结构简单,且烟支不产生离心作用无滑移;先进的空头检测和稀释度等检测装置剔除了次品烟。特别是大流量的输出方式,适应并方便多种后续设备,减少了烟支的降质,是其他同类机型无法比拟的。

(3)外观质量 ZJ19卷接机组烟枪机构加长,烟丝压缩臌胀时间长,烟条在烟枪中运行平稳,烟支成型周期长,烟支圆度比PROTOS好,烟条光滑无布带纹,滤嘴在接装过程中采用加长搓板,多圈滚搓,且水松纸经过胶前、胶后、水松纸鼓轮,搓板四次加热,使得滤嘴搓接质量、烟支外观明显优于同类机型。

(4)烟支重量标准偏差 ZJ19卷接机组采用核扫描,对烟条的密端位置进行探测,机器运行中可对密端位置进行调整,通过PLC和电控系统控制,并通过伺服电机使平准器正常工作,保证了烟支重量的稳定和烟支密端位置的相对稳定,烟支重量标准偏差一般可控制在25mg以内,烟支重量变异系数小于2.5%。

3.4.4 噪声 ZJ19卷接机组多处采用同步齿形带传动,产生噪音的重要部件大风机处于一个密封的箱体内,罩壳上采用吸音海绵和隔音帖面,整机噪声低于85dB(A)。

3.4.5 设备维护 ZJ19卷接机组在操作维修方面明显比同类机型方便。该机组采用模块式结构,如卷烟机大风机采用一个单独风机箱,且可移动。传动部分多采用独立箱体传动,气动箱、电控箱采用独立式,电控柜置于机器外部,常换件如水松纸切刀、供胶器等均为独立模块,方便操作与维修。

ZJ19卷接机组是目前国内生产的最先进的卷接设备,但与国外先进水平相比还有一些差距。如在生产能力上,英国MOLINS公司和德国虹尼公司先后推出了12000支/min和14000支/min的新型卷接机组,这些新机型正在朝着高速度、高自动化、高质量、低消耗的方向发展。

3.5 选型注意事项

目前国内用于卷接的设备有很多机型,如ZJ19卷接机组(PASSIM70)、ZJ17卷接机组(PROTOSO70)、ZJ15卷接机组(SUPER9)、ZJ16卷接机组(LOGE2)等。ZJ19卷接机组和ZJ17卷接机组生产能力均为7000支/min,而ZJ15、ZJ16卷接机组生产能力均为6500支/min。从技术水平分析可知,ZJ19、ZJ17卷接机组为国产卷接设备中最先进的机型,技术性能指标基本一样。设备有效作业率均在85%以上,烟丝消耗水平接近。但ZJ19卷接机组在烟支外观质量、操作维修方便方面优于ZJ17卷接机组;而ZJ17卷接机组结构紧凑,重量比ZJ19卷接机组轻。从价格上讲,ZJ19卷接机组低于ZJ17卷接机组。在同类机型中,ZJ19卷接机组性能价格比最优。

在选用ZJ19卷接机组时应该注意对该机组可选项的选择,以适应对连接设备、烟支存储输送系统、包装机械的对接、协调与同步。

ZJ19卷接机组的烟丝供给有风力和小车送丝两种形式供选择。滤棒供料有手动和自动两种形式,自动供滤棒时应选择APHIS2S双线滤棒供给器。成品烟的输出形式有滤嘴头朝里或滤嘴头朝外两个方向供选择,这要根据包装机械的选择情况来决定。其他还有有无纸张力系统的选择、商标印刷单色双色的选择、烟支规格的选择等,均要根据用户实际情况和需要进行选型。

随便看

 

离鸟网收录3541549条中英文词条,其功能与新华字典、现代汉语词典、牛津高阶英汉词典等各类中英文词典类似,基本涵盖了全部常用中英文字词句的读音、释义及用法,是语言学习和写作的有利工具。

 

Copyright © 2004-2024 vtrois.com All Rights Reserved
更新时间:2026/4/20 11:24:06