网站首页  词典首页


请输入您要查询的字词:

 

字词 切板机
类别 中英文字词句释义及详细解析
释义

切板机


采用电阻焊接工艺制罐,由于其搭接部分只有0.4mm左右,对切板的精度要求特别高。如果切板尺寸不准确,将使接缝焊成一头宽一头窄,严重影响焊接质量。另一方面,应根据生产的罐型,尽可能选择专用尺寸的马口铁下料,以节约材料,降低生产成本。切板精度要求如下:切片长、宽公差为±0.05mm;切片四角不垂直度为±0.6mm/m;切片切口外露尖部分小于0.025mm;切边的毛刺最大不超过0.15倍板厚。切板机可分为闸刀式切板机、圆刀式切板机和波形压力切板机。这里重点介绍圆刀式切板机。

(一)用途与特点

圆刀切板机又称圆盘剪床,其剪刀为两个旋转方向的圆盘边缘,板材通过时即被剪断。圆刀切板机切削平稳,加工精度高,用于马口铁切板供制罐身、罐盖用。

(二)主要结构和工作原理

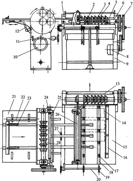
圆刀切板机主要由圆盘剪刀、一对反向旋转的盘剪轴、偏心圆盘、送料机构、传动机构、工作台等组成,其结构如图4-10-7所示。

图4-10-7 圆刀切板机

1-止推轴承 2-压板 3-圆盘剪刀 4-盘剪毂 5-轴 6-轴承 7-齿轮 8-电动机 9-机架 10-电动机 11-偏心圆盘 12-连杆机构 13-第二压料辊 14-弹簧片 15-中间工作台 16-侧向导板 17-推料爪 18-链条输送器 19-链轮 20-轴 21-工作台 22-侧向导板 23-滑轮 24-支架 25-第一压料辊 26-中间压料辊 27-链及链轮 28-盘剪轴

镀锡薄板置于工作台上,侧向导向板固定其侧边,电动机通过传动系统带动板条输送器往复地移动将板料送至上下两对圆刀之间进行切制。圆盘剪刀装在盘剪毂上并套装在转轴上,转轴下方装有同样数量圆刀的反向转轴。转轴左端装有止推轴承,每对圆刀间装有橡皮压轮,压住板料平稳进出。板料完成第一次剪板后可转入第二切板机连续切制成罐身板或罐盖板。

(三)几种切板机的主要技术参数

1.GT10A7自动复式圆刀切板机

2.GT1B6型圆刀切板机

注:汕头轻工机械集团公司制造。

3.GT1B9型波形切板机

注:浙江食品机械厂制造。

随便看

 

离鸟网收录3541549条中英文词条,其功能与新华字典、现代汉语词典、牛津高阶英汉词典等各类中英文词典类似,基本涵盖了全部常用中英文字词句的读音、释义及用法,是语言学习和写作的有利工具。

 

Copyright © 2004-2024 vtrois.com All Rights Reserved
更新时间:2026/4/20 11:13:54