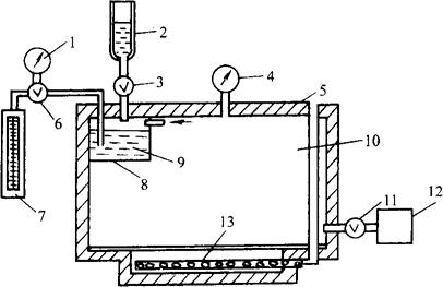
实用减压贮藏系统所包含的功能,可以概括为:减压、增湿、通风、低温。减压处理基本上有两种方式:定期抽气式(静气式)和连续抽气式(气流式)。前者是将贮藏室抽气到要求的真空度后,便停止抽气,以后适时补充O2及抽气以维持稳定的低压。这种方式虽可使果蔬内乙烯扩散,但环境中的乙烯浓度仍比较高。另一种方式是在减压室的一端用抽气泵连续抽气,另一端则不断输入加湿的新鲜空气,控制抽气和进气的流量使整个系统保持规定的真空度。减压贮藏库基本设备如图3-23所示。

图3-23 减压贮藏的基本设备(Burg,1967)
1-真空表(指示真空调节器的下流压力) 2-加水器 3-阀门(平时关闭,需补偿水时开启) 4-湿度表 5-隔热墙 6-真空调节器 7-空气流量计 8-加湿器 9-水(可加入挥发性杀菌剂) 10-减压贮藏室 11-真空节流阀 12-真空泵 13-制冷系统