网站首页  词典首页


请输入您要查询的字词:

 

字词 冷冻水产品加工装备
类别 中英文字词句释义及详细解析
释义

冷冻水产品加工装备


1 概述

冷冻水产品加工装备是将原料鱼、虾、贝类进行冷却、冻结,从而达到保持产品鲜度的装备,它可分为冷却和冻结两大类。

冷却可用冰直接和鱼、虾、贝类接触,降低被冷却品的温度,抑制细菌的繁殖,从而达到保鲜的目的。作为冷却介质的冰,用制冰机制造。制冰机有片冰机、管冰机等。冻结装备有被冻结品与蒸发器双面直接接触的平板冻结机和被冻结品与蒸发器单面接触,兼用吹风相结合的管翅组合板式鼓风冷冻柜。冻结的产品在低温下可较长期地保持产品的质量。

2 加工工艺

2.1 冻虾的加工工艺流程(图1-5-1)

图1-5-1 冻虾的加工工艺流程图

2.1.1 低温麻醉或冷却 冻虾的加工工艺流程图中,如果冻结装备靠近捕虾区,则直接用活虾冻结。此时需用低温麻醉,便于分级、装盘。

2.1.2 清洗、分级 在分级前用清水漂洗,除去污物。分级的目的便于在销售时按质论价。分级可用栅栏式分级机,以栅栏的间隔大小将虾分成若干等级。该装备一般由生产单位自制。当冻结设备离捕虾区较远时,必须用冰将虾冷却。冰用片冰机或管冰机生产。

2.1.3 沥水 沥水的目的为了准确称重。

2.1.4 装盘、加水、加压网 装盘后,一般应在盘中加水,使之快速冻结。因虾体较轻,盘中加水后往往会浮在水面,故需用无毒塑料网压盖。

2.1.5 冻结 冻结用快速冻结机。如冻结速度慢,虾头容易发生褐变,严重影响虾的质量,所以通常采用管翅组合板式鼓风强冻柜或卧式平板冻结机。冻结时间越快越好,一般要求一次冻结时间在3h以内。

2.1.6 脱盘 冻结后的脱盘,使冻品进行包冰衣和冷藏。脱盘一般采用各企业自制的脱盘机,其工作原理是先将冻盘经3℃左右的低温融霜,使冻块与盘体松开,然后经敲盘机冲击使冻块脱落。

2.1.7 包冰衣 包冰衣的目的是使冻块在冷藏过程中减少干耗。冷藏温度与冻品计划保藏期有关,保藏期长,则冷藏温度比冻品的中心温度要低得较多。

2.2 冻鱼的加工工艺流程(图1-5-2)

图1-5-2 冻鱼的加工工艺流程图

冻鱼的加工工艺流程图中各工艺环节的要求,大部分与冻虾相似,只是冻鱼一般都需用冰冷却,冷却后可以直接销售。需作长途运销或较长期保藏的必须冻结。原料鱼的分类是将鱼按品种分开。冻结装备除与冻虾装备相同外,我国还大量使用隧道式或管架式吹风冻结装置。

3 关键装备

3.1 片冰机

片冰机是一种连续快速制取片状冰的设备。这类制冰机形式繁多,大体上分为立式和卧式片冰机两种。其基本结构是一个夹层圆柱筒或圆锥筒。此外,还包括制冷系统、供水系统和传动机构等。

立式片冰机有夹层外壁或内壁制冰的,同时又有刮刀转动、圆筒不动和圆筒转动、刮刀不动之分。图1-5-3所示为一种夹层外壁制冰的立式圆锥形转筒式片冰机。

图1-5-3 立式圆锥形转筒片冰机

1-制冰圆筒 2-淋水管 3-刮冰刀 4-制冷剂出口 5-制冷剂入口 6-无级变速电机 7-原料水入口 8-出冰槽 9-集冰盘 10-制冷剂管

工作时,从片冰机下部的制冷剂入口5通入液态制冷剂,沿管道10制冷剂在制冰圆筒1的夹层内直接蒸发吸收大量的热,使传热性能良好的制冰圆筒壁保持冰点以下的低温。制冷剂可用氨或R22。此时由原料水入口7打入的原料水(淡水或海水)从淋水管2向制冰圆筒外壁均匀地淋水,水与筒壁接触,在10~15min内即可结成一层厚2~4mm的冰壳。圆筒由电机带动以一定速度转动,待已淋水部分的圆筒运转至右侧刮冰刀3处,水即已结成冰,借助于刮冰刀把冰壳刮下即成小块的片冰,最后经集冰盘9由出冰槽8排出机体。而制冷剂在循环的过程中以气体的形式从制冷剂出口4排出。

3.2 管冰机

管冰机是连续快速制取管状冰的装备,其构造如图1-5-4所示。主要结构是一个立式壳管形蒸发器,为制冰部分,工作原理与片冰机类似。

图1-5-4 管冰机

1-蒸发器外壳 2-浮子调节器 3-结冰管 4-低压贮液器(氨贮器) 5-旋转刀 6-滑冰台 7-水箱 8-水泵

液态制冷剂由低压贮液器4供给,从下往上从蒸发器外壳1之间流过,并通过浮子调节器2自动控制制冷剂流量。水泵8将水从底部水箱7打入蒸发器,由顶部沿结冰管3内壁淋水。管壳之间制冷剂直接蒸发吸热致冷,使水在管壁上结冰,约15min后冰层形成。以热制冷剂蒸汽脱冰,当管冰靠重力向下滑落时,蒸发器下部的旋转刀5把整条管冰切成碎块经由滑冰台6排出机体。

完整的管冰为小段管状,质地密实,被击碎后呈碎瓦片状,表面呈略弧形,故冰于冰之间为点或线接触,加之冰的表面光滑,且无自由水,故即使较长期贮存也不粘连结块。

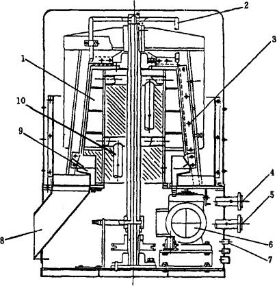
3.3 卧式平板冻结机(图1-5-5)

图1-5-5 卧式平板冻结机结构示意图

1-液压系统 2-供液回气系统 3-蒸发平板 4-保温壳体

平板冻结机是被冻品与蒸发平板双面接触的冻结装备。根据平板蒸发器布置位置的不同可分为卧式和立式平板冻结机。前者主要用于快速冻结盘装、小包装水产品或其他食品,后者主要用于快速冻结形状、大小不太规则的散装水产品或其他食品。平板用铝合金制成,可以伸缩移动,借助液压系统使被冻品与平板紧密接触,平板内腔的低温制冷剂(氨或氟利昂)吸收平板间被冻品的热量而蒸发,达到急速降温并冻结的目的。

随便看

 

离鸟网收录3541549条中英文词条,其功能与新华字典、现代汉语词典、牛津高阶英汉词典等各类中英文词典类似,基本涵盖了全部常用中英文字词句的读音、释义及用法,是语言学习和写作的有利工具。

 

Copyright © 2004-2024 vtrois.com All Rights Reserved
更新时间:2026/4/21 16:02:49