网站首页  词典首页


请输入您要查询的字词:

 

字词 农用水泵
类别 中英文字词句释义及详细解析
释义

农用水泵


(一)离心泵

离心泵是利用叶轮高速旋转时产生的离心作用把机械能变成水的动能和压能进行扬水的一种泵。目前农业灌溉所用水泵主要是单级单吸离心泵、单级双吸离心泵和小型自吸式离心泵3种。

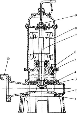
1.单级单吸式离心泵 单级单吸式离心泵的外形如图8-9所示,内部结构如图8-10所示,它主要由叶轮、泵轴、轴承、泵壳、填料函、密封环及联轴器等组成。

图8-9 单级单吸式离心泵的外形

a.B型泵外形图 b.泵体剖视图

1.进水接管 2.蜗形压水室 3.出水接管 4.叶轮

图8-10 单级单吸式离心泵的结构

1.泵壳 2.叶轮 3.泵轴 4.轴承体 5.填料压盖 6.滚珠轴承 7.联轴器 8.底座 9.叶轮螺母

叶轮是水泵最主要的部件。水泵流量的大小、扬程和效率的高低都与叶轮的形状、大小及表面光洁度有着非常密切的关系。

泵轴是传递动力的主要零件,要求有足够的强度和硬度。它的一端接联轴器或皮带轮,另一端装叶轮。

离心泵所用轴承有滚动轴承和滑动轴承两大类。滚动轴承的优点是轴承间隙小,能保证轴的对中性,维修方便,摩擦力小,结构紧凑;缺点是高速时噪音大,耐冲击能力差。在轴向载荷大及转速高的睡泵上常采用滑动轴承,滑动轴承工作可靠,平稳无噪音,润滑油层有吸振能力,所以能承受冲击载荷。

填料函俗称盘根箱,是用来封闭泵轴穿出泵壳处的间隙,防止水从泵内流出和空气透入泵内,同时还可引水润滑和冷却泵轴。

除填料密封外,水泵中还有采用机械密封、橡胶密封等,大部分用于小型离心泵和微型水泵,使用橡胶密封所承受的压力较小。

离心泵的外壳多采用蜗壳形,泵壳上的锥形扩散管的作用主要是为了降低水流速度,把液体流动的动能转化成压力能。

联轴器是用来把水泵轴与动力机轴连接起来一同旋转。联轴器有刚性和挠性两种。

水泵的泵体与动力机连接方式还有直联式和胶带轮传递动力式两种,其结构比加装联轴器形式更为简单。

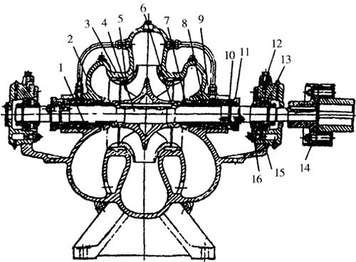
2.单级双吸式离心泵 单级双吸式离心泵的结构如图8-11所示。它主要由双侧吸水的叶轮、上下装配的泵壳、对称安装的密封填料装置、轴承和轴及联轴器等组成。叶轮用键、轴套和轴套螺母固定在泵轴上;在叶轮两侧进水口外缘与泵壳内壁配合处,均装有铸铁制成的密封环。叶轮两侧对称安装有填料函。泵轴两端由装在轴承座内的轴承支承。轴承的形式,在Sh型泵上分滚动轴承和滑动轴承两种,泵轴直径在60mm以下的,用滚动轴承,称为甲式Sh型泵;轴径在70mm以上的用滑动轴承,称为乙式Sh型泵。

图8-11 单级双吸式离心泵的结构(甲式)

1.泵壳 2.泵盖 3.叶轮 4.泵轴 5.密封环 6.轴套 7.填料套 8.填料 9.水封环 10.填料压盖 11.轴套螺母 12.轴承体 13.滚珠轴承 14.联轴器 15.轴承挡套 16.轴承端盖

新型的S型单级双吸泵在结构上对Sh型泵作了某些改进,主要是取消了外设水封管,改用铸于泵盖内的水封槽;轴径70mm以上的泵也不用滑动轴承,改用滚动轴承,泵壳的厚度相应减薄,减轻了泵的重量和材料用量等。此外,在蜗流室的形状上也作了改进,性能有所改善,吸程和效率均有所提高。

3.自吸式离心泵 自吸式离心泵的结构如图8-12所示。其特点是泵体为双蜗壳结构。吸液口位于水泵的叶轮外缘以上,排液口上方有一较大容积的气液分离室。其他结构类同于单级单吸式离心泵,包括密封环、填料室、轴和轴承等。

图8-12 自吸式离心泵的结构

1.注液塞 2.泵体 3.气液分离室 4.叶轮 5.机座 6.黄油杯 7.放液塞 8.排液螺栓 9.闷盖 10.吸液口

自吸式离心泵在工作时,首次起动也需向泵壳内注入引水液,注入量在泵壳内超过水泵轴线即可。以后随时可以自动吸液起动,无需再注入引液,因此使用很方便。

(二)潜水电泵

潜水电泵是将泵轴与电动机直接相连,成为一整体的抽水机组。整个抽水机组全部潜入水中工作。泵抽出的水,通过扬水管被输送到地面出水池中。

潜水电泵的种类比较多,一般可分为小型、大型和深井型3种,各型潜水电泵根据结构和使用的不同,又有许多变型种类,目前常见潜水电泵的类型可归纳如下:

1.井用潜水电泵 井用潜水电泵是将水泵与电动机做成一体一同置于井水中,在地面通过电缆使电动机与电源接通,驱动水泵叶轮旋转。其结构如图8-13所示。

图8-13 井用潜水电泵的结构

1.阀体 2.阀盖 3.轴套 4.壳 5.叶轮 6.泵轴 7.进水壳 8.电缆 9.联轴器 10.电机轴 11.转子 12.定子 13.止推盘 14.底座

水泵位于电泵上端,采用水润滑轴承,联轴节(内螺纹短管)把泵轴和电动机轴连为一体。

电动机位于电泵下端,为密闭式充水湿式结构。主要由电动机外壳、定子、转子、导轴承、推力盘、止推轴承、甩水圈(甩沙器)、橡胶油封等部件所组成。电动机为全封闭充水鼠笼式三相感应电动机。

2.小型潜水电泵 小型潜水电泵可使用三相和单相交流电源,水泵有离心泵、混流泵、轴流泵,以及螺杆泵、双流道泵、旋流泵等。根据电机结构及泵的配置方式不同,可分为单相干式下泵型(QDX型)、干式下泵型(QX型)、干式上泵型(Q型)、充油上泵型(QY型)、充水上泵型(QS)等。

(1)单相潜水电泵:单相潜水电泵分为QDX干式下泵型和QDS湿式下泵型两种,图8-14为QDX干式下泵型潜水电泵的结构。QDX干式下泵型由电动机、水泵、密封3部分组成。电动机位于电泵上端,为干式结构。水泵位于电泵下端,叶轮为半开式或闭式。

图8-14 QDX干式下泵型潜水电泵的结构

1.下座 2.滤水网 3.蜗壳 4.叶轮螺母 5.叶轮 6.平键 7.调节垫片 8.充油螺塞 9.叶轮上盖 10.机械密封 11.密封传动销 12.泵体下盖 13.转轴总成 14.泵盖 15.电缆护套

(2)充油上泵型潜水电泵:充油上泵型潜水电泵(QY)的显着特点是:在严重失压或过载,特别是在两相电压下电机不易被烧毁。其结构如图8-15所示。该泵型由电动机、水泵和密封3部分组成。电动机位于电泵下端,为三相鼠笼型异步电动机。水泵有离心式、混流式及轴流式3种,位于电泵上端。

图8-15 充油上泵型潜水电泵的结构

1.上泵盖 2.叶轮 3.下泵盖 4.甩水器 5.导轴承 6.轴 7.整体式密封盒 8.进水节 9.扩张件 10.电动机上端盖 11.滚珠轴承 12.电缆 13.屏蔽套筒 14.电动机转子 15.电动机定子 16.滚珠轴承 17.推力轴承 18.放水孔 19.放气孔 20.放油孔 21.电动机下端盖 22.接线盒

(3)充水上泵型潜水电泵:QS潜水电泵由电动机(湿式三相异步电动机)、水泵、扬水管和起动保护器等组成,如图8-16所示。电动机位于电泵下端,为密闭充水湿式结构。水泵有离心式、混流式、轴流式3种,位于电动机伸出轴上端。

图8-16 QS型潜水电泵的结构

1.泵壳 2.叶轮 3.导叶 4.进水节 5.转子 6.定子 7.底座

(4)干式下泵型潜水电泵:干式下泵型潜水电泵(QX)结构分为电动机、机械密封、水泵3部分。电动机位于电泵上端,干式结构,内装热保护器。水泵位于电泵下端,叶轮有半开式、闭式离心式或混流式。

(5)干式上泵型潜水电泵:干式上泵型潜水电泵(Q)是由干式三相异步电动机和水泵同轴加机械密封、电器保护装置组成,水泵部分置于电动机上方,具有机组效率高、价格低廉、使用方便等特点。

3.大型潜水电泵 大型潜水电泵是机泵一体化并潜入水中工作的提水机械。它的泵叶轮直接装在电动机的轴伸端,机泵一体,也称为同轴潜水电泵。其特点是结构紧凑,安全方便,不需泵房,占地面积小,可实现远距离操作或自动控制,安全可靠,维修简便,节省泵站建设投资,并能解决泵站的防洪问题。可用于农田排灌和城市、矿山的供水、排水等方面。

污水污物型潜水电泵是输送含纤维、纸屑、粪便、泥浆及其他固态悬浮物等非一般清水含义的常温介质,适用于城市和矿山输送废水、污水等。污水泵多采用开式叶轮、单流道或双流道叶轮,污物泵采用旋流式叶轮。污水污物型潜水电泵的结构见图8-17。

图8-17 污水污物型潜水电泵的结构

1.进口端盖 2.O形密封圈 3.泵体 4.叶轮 5.浸水检出口 6.机械密封 7.轴 8.电机 9.过负荷保护装置 10.连接部件

(三)深井泵

1.深井泵的工作特点 深井泵是从深井中抽水的一种水泵,它属于单侧进水多级立式离心泵。泵体部分放在井中水面以下,动力机安放在井口地面上,用一根长的传动轴从井上直通到井下,带动水泵叶轮旋转。由于地下水位较深,要求深井泵扬程较高,深井泵一般总是做成多级的,而且具有细长的管状构造。

深井泵的种类很多,但构造却大同小异。JC型深井泵是我国现在的基本系列。它与J、JD型等同类深井泵相比,具有效率高、性能稳定、图纸统一等优点,已取代了J、JD型深井泵,是我国长轴深井泵的基本系列。

2.JC型深井泵的结构 JC型深井泵由3大部分组成,即包括进水管在内的工作部分、扬水管部分、井上部分。其结构如图8-18所示。

图8-18 JC型深井泵的结构

1.进水管 2.叶轮轴 3.下导流壳 4.中心环 5.锥形套 6.叶轮 7.中导流壳 8.橡胶轴承 9.螺柱 10.拉紧螺栓 11.上导流壳 12.短管 13.螺纹联管器 14.扬水管 15.联轴器 16.短传动轴 17.轴承体 18.螺栓 19.电动机传动轴 20.泵座 21.电动机 22.调整螺母

(1)工作部分:该部分由工作部件、进水管部件等组成。工作部件由上、中、下导流壳,叶轮,锥形套,轴承,叶轮轴等零件组成。叶轮为封闭式,位于中导流壳内,下导流壳用来连接中导流壳和进水管,把流入进水管的水顺畅地导入第一级叶轮。

(2)扬水管部分:该部分由扬水管、传动轴、联轴器和轴承体部件组成。扬水管由若干个等长度的长管段和上、下两根短管连接而成,用法兰连接。传动轴由若干等长度的长轴和两根短轴组成,用有内螺纹的联轴器连接。

(3)井上部分:井上部分由泵座、电动机组成。泵座承受全部扬水管和工作部分的重量。深井泵的电动机多为空心轴电动机,这是一种井泵专用电动机。

(四)轴流泵

1.轴流泵的类型 轴流泵是一种高比转数叶片泵,其比转数一般在500~1200。特点是流量大,扬程低,效率高,泵的外形尺寸小。

轴流泵按泵轴的方向分,有立式、卧式、斜式;按其叶片是否可调和调节机构的不同,又可分为固定式、半调节式和全调节式。

中小型轴流泵常用立式、半调节的形式。

立式轴流泵的泵体管道系统基本可分为两种结构类型:一种是泵的长度固定,出水弯管固定为60°,泵的传动装置与泵体分离,借中间传动轴连接。另一种泵体管道的长度是按扬程的需要来设计的,泵与动力机之间采用直接传动。

2.轴流泵的结构 立式、半调节型轴流泵主要由吸入管、叶轮、导叶体、出水弯管、泵轴、轴承和填料函等组成。

小型立式轴流泵的吸入管常做成流线型喇叭口,大、中型泵的吸入管与泵站基础则用钢筋混凝土浇注成整体,做成肘形进水管道。轴流泵叶轮无前后盖板,属开敞式。叶轮通常由叶片、轮毂、导水锥等几部分组成。轴流泵的叶片呈扭曲形,装在轮毂上。固定式叶轮的叶片和轮毂铸成一体;半调节式叶轮的叶片用螺母和定位销紧固在轮毂上。叶片安装角度不同,则泵的性能曲线也将随之变化,根据使用的要求,可把叶片安装在某一位置上,在运行过程中,当工作条件发生变化时,可以进行调节。

导叶体即轴流泵的压水室,它是由导水叶、导叶毂和外壳所组成。导水叶的作用是把从叶轮流出的水的旋转运动变为轴向运动,并经过扩散的锥形导叶体外壳,把一部分动能转化为压能,减少水力损失。

出水弯管的转弯角度通常为60°或75°,曲率半径取弯管进口半径的1.5~2倍,其上部装有上导轴承和填料函。小型轴流泵的泵轴是实心的,而大型轴流泵的泵轴是空心的,轴孔内用来装置叶片调节机构的操作油管或操作杆。轴流泵的轴承有两类,一类是导轴承,一般采用橡胶导轴承。另一类是推力轴承,主要用来承受水泵转动部件的重量和水流作用在叶片上的轴向水压力,并将力通过电机座传递到电机梁上。

在轴流泵出水弯管处,设有填料函,其形式与离心泵的填料函类似。

(五)混流泵

1.混流泵的类型 混流泵是介于离心泵与轴流泵之间的一种泵型。其扬程适中,流量较大,适用范围广。

按混流泵出水室的不同,混流泵有蜗壳式和导叶式两种类型。蜗壳式混流泵有卧式和立式之分,其中以卧式应用较多;导叶式混流泵也有卧式和立式两种,其中立式混流泵与立式轴流泵类似。

中、小型混流泵,多数属于蜗壳式的,大型混流泵多数是导叶式的。混流泵的叶片一般是固定的,但大型导叶式混流泵的叶片可做成全调节式的。根据运行的需要,随时可调节叶片的安装角,以扩大其高效率运行范围。

2.混流泵的结构 与离心泵和轴流泵相比,混流泵的扬程低,流量大,所以叶轮形状比较特殊。叶片从进口到出口均为扭曲形,叶片出口边倾斜,工作时产生离心力和推力,水流从叶轮出口流出的方向,既不是径向(如离心泵),也不是轴向(如轴流泵),而是介于二者之间的斜向。

卧式蜗壳式混流泵的结构如图8-19所示。它与单级单吸式离心泵相似。所不同的是:叶轮中叶片形式不同,蜗室比离心泵大,泵的基础地脚座一般设在泵壳下面。泵盖端面与叶轮之间留有规定的轴向端面间隙。

图8-19 卧式蜗壳式混流泵的结构

1.泵盖 2.叶轮 3.泵体 4.填料 5.轴承 6.带轮 7.泵轴 8.轴承体

立式导叶式混流泵与轴流泵相似,其结构如图8-20所示。导叶式混流泵运行时产生的径向力,由上、下两个橡胶轴承承担。其轴向力由电动机座或传动装置上的推力轴承承担。与蜗壳式混流泵相比,其径向尺寸较小,但其结构比较复杂,水力性能也较差。

图8-20 立式导叶式混流泵的结构

1.进水喇叭 2.叶轮 3.导叶体 4.出水弯管 5.泵轴 6.橡胶轴承 7.填料函

随便看

 

离鸟网收录3541549条中英文词条,其功能与新华字典、现代汉语词典、牛津高阶英汉词典等各类中英文词典类似,基本涵盖了全部常用中英文字词句的读音、释义及用法,是语言学习和写作的有利工具。

 

Copyright © 2004-2024 vtrois.com All Rights Reserved
更新时间:2026/4/20 19:17:56