网站首页  词典首页


请输入您要查询的字词:

 

字词 其他辅助设备
类别 中英文字词句释义及详细解析
释义

其他辅助设备


(一)油分离器

油分离器安装在压缩机的排气口与冷凝器之间,其作用是将来自压缩机排气中所夹带的润滑油分离出来,以免随排气进入冷凝器和蒸发器污染传热表面,影响传热效果。

油分离器按结构型式可分为洗涤式、离心式和填料式三种。

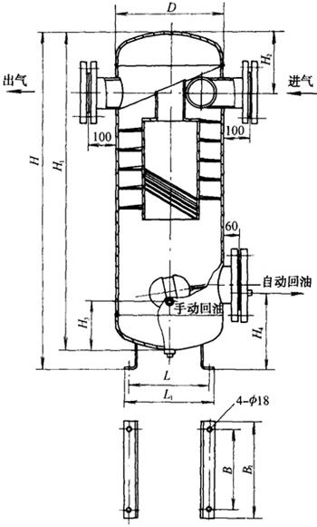
1.洗涤式油分离器

这种油分离器夹带着油雾的氨气,是由插入油分离器液面下部的立管进入,经过氨液洗涤后,向上通过伞形挡板侧面流出。由于热氨气经氨洗涤后,温度大大降低,使夹带在其中的油雾结成较大的油滴。氨气从立管出来时,流向急剧改变,同时速度减慢,由于重力作用使油滴沉落下来。加上伞形挡板的作用,使油滴更多的沉落下来。此种分离器的分离效率,主要取决于氨液蒸发的冷却效果。因此,在设计及运行中必须保证器内有正常的氨液面。

图4-13-12为洗涤式油分离器结构,其主要技术参数如表4-13-9所示。

图4-13-12 洗涤式油分离器结构

表4-13-9 洗涤式YFA型油分离器主要技术参数

注:烟台冷冻机厂制造。

2.离心式油分离器

这种形式的油分离器,是利用气体从切线方向进入器内后,经高速旋转,油滴沿器内壁分离出来,氨气则从中部排出。

这种油分离器,器内一般没有导向叶片、挡气板、浮球阀,可自动放油。

图4-13-13为离心式油分离器的结构,表4-13-10为该油分离器的主要技术参数。

3.填料式油分离器

图4-13-13 离心式油分离器结构图

表4-13-10 离心式LYD型油分离器规格

注:武汉冷冻机厂制造

填料式油分离器壳体内装有一定数量的填料,填料多用细铁丝或其他材料绕成,这种油分离器效率较高,但阻力较大。

图4-13-14为离心式油分离器的结构,表4-13-11为该油分离器的主要技术参数。

图4-13-14 填料式油分离器结构

表4-13-11 填料式YF型油分离器主要技术参数

注:上海第一冷冻机厂制造。

(二)空气分离器

由于系统中原有的空气未除净或在灌入制冷剂时有空气混入,都可能使制冷系统中存有空气,若不及时排除,会使冷凝器传热效率降低。因此,在大、中型制冷系统中都设有空气分离器。

空气分离器的工作原理,是利用制冷剂蒸气和空气的混和气体在冷暖压力下冷却到某一低温,使混合空气中的制冷剂蒸气凝结为气体,因而可以分离出空气并将空气排出。

常用的空气分离器有卧式和立式两种。

1.卧式空气分离器

图4-13-15为卧式空气分离器结构图,它由四根不锈钢管焊接而成为四层管腔。管腔1和管腔3相通;管腔2和管腔4相通;管腔4和管腔1之间用一根装有节流阀8的旁通箱相连。从贮液器来的制冷剂液体,经节流降压进入空气分离器的管腔1,并在其中气化吸热,然后沿弯管转入管腔3继续气化吸热,气化后的蒸气通过管腔3上的出气口6被压缩机吸走。由冷凝器和贮液器来的制冷剂蒸气和空气的混合气体,经管腔4上的进气口5进入管腔4和2,在其中受到冷却。其结果是混合气体中的制冷剂蒸气被凝结成液体,空气就被分离出来。凝结出来的制冷剂液体积存于管腔4的右下部,当积存量较多时,可打开旁通管上的节流阀8,将其移到管腔1中。分离出来的空气通过管腔2上的放气口7排出。

图4-13-15 卧式空气分离器

1-管腔 2-管腔 3-管腔 4-管腔 5-进气 6-出气 7-放气 8-节流阀

卧式空气分离器主要技术参数见表4-13-12。

表4-13-12 卧式空气分离器主要技术参数

注:大连冷冻机厂制造。

2.立式空气分离器

图4-13-16为立式空气分离器。其壳体为钢管状,上下两端焊有封头。壳体内装有螺旋管,下封头焊有进、出液口,上封头焊有回气管及温度计插座插头,壳体两侧焊有混合气管及放空管接头。氨液从下端进入盘管蒸发,使混合气体中的氨气凝结为液氨,从下端排出,不凝性气体从上端排出。

图4-13-16 立式空气分离器

立式空气分离器的主要技术参数见表4-13-13。

表4-13-13 立式空气分离器主要技术参数

注:武汉冷冻机厂制造。

随便看

 

离鸟网收录3541549条中英文词条,其功能与新华字典、现代汉语词典、牛津高阶英汉词典等各类中英文词典类似,基本涵盖了全部常用中英文字词句的读音、释义及用法,是语言学习和写作的有利工具。

 

Copyright © 2004-2024 vtrois.com All Rights Reserved
更新时间:2026/4/21 16:19:50