网站首页  词典首页


请输入您要查询的字词:

 

字词 先张法施工工艺
类别 中英文字词句释义及详细解析
释义

先张法施工工艺


先张法施工可分为预应力筋的铺设、预应力筋的张拉、混凝土浇筑与养护和预应力筋的放张等施工过程。

(一)预应力筋的铺设

为了便于脱模,在预应力筋的铺设前,对台面及模板应先刷隔离剂;为避免铺设预应力筋时因其自重下垂破坏隔离剂,玷污预应力筋,影响预应力筋与混凝土的粘结,应在预应力筋设计位置下面先放置好垫块或定位钢筋后铺设。

预应力钢丝宜用牵引车铺设,如遇钢丝需要接长时,可使用钢丝拼接器、用20~22号铁丝将钢丝连接段密排绑扎。对冷拔低碳钢丝绑扎长度不得小于40d,对高强刻痕钢丝不得小于80d。

预应力筋铺设时,钢筋接长或钢筋与螺杆的连接,可采用套筒双拼式连接器。钢筋采用焊接时,应合理布置接头位置,尽可能避免将焊接接头拉入构件内。

(二)预应力筋的张拉

先张法预应力筋的张拉有单根张拉和多根成组张拉。单根张拉所用设备构造简单,易于保证应力均匀,但生产效率低、锚固困难;成组张拉能提高工效、减轻劳动强度,但设备构造复杂,需用较大张拉力。因此,应根据实际情况选取适宜的张拉方法,一般预制厂常选用成组张拉法,施工现场常选用单根张拉法。

预应力筋的张拉工作是预应力混凝土施工中的关键工序,为确保施工质量,在张拉中应严格控制张拉应力、张拉程序、计算张拉力和进行预应力值校核。

1.张拉控制应力

张拉控制应力是指在张拉预应力筋时应当达到的规定应力,应按照设计规定采用。控制应力的数值大小直接影响预应力的效果。工程实践充分证明:控制应力稍高,预应力效果会更好些,不仅可以提高构件的抗裂性能和减小挠度,还可以节约一定的钢材。因此,把张拉应力适当规定得高一些是有利的,但控制应力如果过高,构件在使用过程中预应力筋处于高应力状态,使构件出现裂缝的荷载与破坏荷载接近,构件的延性比较差,在出现破坏时,挠度小而脆断,没有明显预兆,这是不允许的。

为了减少钢筋松弛、测力误差、温度影响、锚具变形、混凝土硬化时收缩徐变和钢筋滑移引起的预应力损失,在施工中采用超张拉工艺,使超张拉应力比控制应力提高3%~5%,这时,如果预应力被超张拉,而控制应力又过高,就可能使钢筋超过流限,使其产生塑性变形,从而影响预应力值的准确性和张拉工艺的安全性。

此外,当控制应力或超张拉过大,而预应力筋又配置得较多时,则构件混凝土将受到很大的预压应力而产生非线性徐变,这样也会引起过大的应力损失。所以,预应力筋的控制应力和超张拉的最大应力不得超过表6-5的规定。

表6-5 最大张拉控制应力允许值

注:fptk为预应力筋极限抗拉强度标准值;fpyk为预应力筋屈服强度标准值。

2.张拉程序

(1)预应力筋张拉程序

预应力筋的张拉程序可采用下列之一进行,即

0→1.05σcon(持荷2min)→σcon

0→1.03σcon

第一种张拉程序中,钢筋超张拉5%并持荷2min的目的,主要是为了加速钢筋松弛尽早发展,以减少钢筋的松弛、锚具变形和孔道摩擦所引起的应力损失。试验表明,钢筋的应力松弛损失,在高应力状态下的最初几分钟内,则可完成损失总值的40%~50%。因此,超张拉并持荷2min,然后再放至预应力筋张拉控制应力σcon进行锚固,可使近一半的应力松弛损失在锚固之前已损失,故可以大大减少实际应力损失。

第二种程序中,钢筋超张拉采用3%,并且在超张拉中直接锚固,其目的是为了弥补预应力筋的松弛损失。经计算和试验证明,采用第一种张拉程序比采用一次张拉0→σcon,其应力损失可减少(2%~3%)σcon。因此,将一次张拉时的张拉力提高3%σcon,即采用0→1.03σcon张拉程序,同样可以达到减少应力松弛损失的效果,故上述两种张拉程序是等效的。

在实际张拉工程中,为施工方便,一般习惯采用第二种张拉程序(即0→1.03σcon)进行张拉。

(2)张拉中的注意事项

为取得良好的张拉效果,在张拉预应力筋的施工中,应当特别注意以下事项:

1)应首先张拉靠近台座截面重心处的预应力筋,以避免台座承受过大的偏心力;

2)张拉机具与预应力筋应在同一条直线上,张拉应以稳定的速率逐渐加大拉力;

3)拉到规定应力在顶紧锚塞时,用力不要过猛,以防钢丝折断;

4)在拧紧螺母时,应时刻观察压力表上的读数,始终保持所需要的张拉力;

5)预应力筋张拉完毕后与设计位置的偏差不得大于5mm,且不得大于构件截面最短边长的4%;

6)同一构件中,各预应力筋的应力应均匀,其偏差的绝对值不得超过设计规定的控制应力值的5%;

7)台座两端应有防护设施,沿台座长度方向每隔4~5m放一个防护架,张拉钢筋时两端严禁站人,也不准进入台座。

3.预应力值校核

预应力筋的预应力值,一般用预应力筋伸长值进行校核。当实测伸长值与理论伸长值的差值与理论伸长相比,在-5%~+10%之间时,表明张拉后建立的预应力值满足设计的要求。预应力筋理论伸长值△L可按下式进行计算,即

式中 △L——预应力筋理论伸长值(mm);

Fp——预应力筋的平均张拉力(kN);

L——预应力筋的长度(mm);

Ap——预应力筋的截面面积(mm2);

Es——预应力筋的弹性模量(kN/mm3)。

预应力筋的实际伸长值,宜在初应力约为10%时测量,并加初应力以内的推算伸长值。

预应力钢丝张拉时,其伸长值不进行校核。在钢丝张拉锚固后,应采用钢丝内力测定仪直接检测钢丝的预应力值。其偏差按一个构件全部钢丝的预应力平均值计算,其检验标准为:对台座法钢丝,预应力值定为95%σcon;对模外张拉钢丝预应力值应符合表6-6的规定。

表6-6 模外张拉钢丝预应力值检测标准

(三)混凝土浇筑与养护

混凝土的收缩是水泥浆在硬化过程中脱水凝结和形成的毛细孔压缩的结果。混凝土的徐变是荷载长期作用下混凝土产生的塑性变形,因水泥石内凝胶体的存在而产生。为了减少混凝土的收缩和徐变引起的预应力损失,在确定混凝土配合比设计时,应优先选用干缩性小的水泥,采用较小的水灰比、控制水泥用量、对集料采用良好的级配等技术措施。

在预应力筋张拉完毕后,立即绑扎钢筋骨架、架立模板、浇筑混凝土。台座内每条生产线上的构件,其混凝土应连续一次浇完。混凝土必须振捣密实,特别对构件的端部,更要注意加强振捣,以保证混凝土强度和粘结力。浇筑和振捣混凝土时,要注意不可碰击预应力筋;在混凝土未达到一定程度前,不允许碰撞或踩动预应力筋;当叠层生产时,必须待下层混凝土强度达8~10N/mm2后方可进行。

混凝土可采用自然养护或湿热养护,自然养护一般不得少于14d。当干硬性混凝土浇筑完毕后,应立即覆盖进行养护。当预应力混凝土采用湿热养护时,要尽量减少由于温度升高而引起的预应力损失。预应力筋张拉后锚固在台座两端,随着养护温度的升高,预应力筋纵向伸长,而台座的温度和长度变化不大,因而预应力筋的应力有所降低;在这种情况下,混凝土逐渐硬化而造成预应力的损失。

为了减少温差造成的应力损失,当采用湿热养护时,在混凝土未达到一定强度前,初次升温的温差不宜超过20℃,当构件混凝土强度达到7.5MPa(粗钢筋)或10MPa(钢丝、钢绞线)以上时,再按一般规定继续升温养护,这样可以减少预应力的损失。

当采用机组流水法或传送带法用钢模制作预应力构件及湿热养护混凝土时,钢模与预应力筋可以同样升温和伸缩,不会引起预应力的损失。

(四)预应力筋的放张

在进行预应力筋的放张前,必须将模板拆除干净,进行混凝土试块试压,混凝土强度必须符合设计要求;当设计无具体规定时,混凝土强度不得低于设计标准值的75%。放张时如果混凝土的强度过低,一方面可使混凝土出现开裂,构件产生损坏;另一方面,即使构件未损坏,过早放张也会因混凝土早期收缩和徐变较大而增大预应力的损失。

1.放张顺序

预应力筋的放张顺序是指预应力混凝土构件中,多根预应力筋依次放张的先后顺序,同时也包括是逐根放张还是同时放张。预应力筋在构件截面中的设计位置不同,放张时对构件所产生的作用也不同,有时会产生较大的偏心受压。因此,放张的顺序应符合设计的要求,以避免放张时损坏构件。当设计无具体要求时,应符合下列规定:

(1)对承受轴心预压力的构件(如压杆、桩等),所有预应力筋应同时放张。

(2)对承受偏心预压力的构件,应先同时放张预应力较小的区域的预应力筋,再同时放张预压力较大区域的预应力筋。

(3)当不能按上述规定放张时,应分阶段、对称、相互交错地放张,以防止在放张过程中构件产生弯曲、裂纹及预应力筋断裂现象。

2.放张方法

放张方法是指预应力筋的放松方式。构件的预应力筋数量少、逐根放张时,对预应力筋钢丝或细钢丝的板类构件,可直接用钢丝钳或氧炔焰切割,并宜从生产线中间处切断,以减少回弹量,且有利于脱模;对预应力筋数量较少的粗钢筋构件,可采用氧炔焰在烘烤区轮换加热每根粗钢筋,使其同步升温,钢筋内应力均匀徐徐下降,外形慢慢伸长,待钢筋出现缩预现象时,即可切断。

对预应力筋配置较多的构件,不允许采用剪断或割断等方式突然放张,以避免最后放张的几根预应力筋产生过大的冲击而断裂,致使混凝土构件开裂。为此,应采用千斤顶放张、砂箱放张和楔块放张等方式。

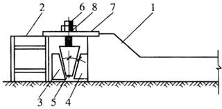
(1)千斤顶放张

放张单根预应力筋,一般宜采用千斤顶放张,如图6-12所示,即用千斤顶拉动单根钢筋的端部,然后将锚固的螺母松开;如果多根预应力筋构件均采用千斤顶放张时,应按照对称、相互交错放张的原则,拟订合理的放张顺序,控制每一次循环放张的吨位,缓慢逐根多次循环放松。

图6-12 千斤顶放张装置示意图

1-横梁;2-千斤顶;3-承力架;4-夹具;5-钢丝;6-混凝土构件

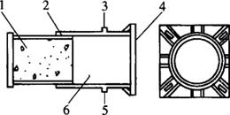
(2)砂箱放张

当构件预应力筋较多时,整批同时放张可采用砂箱和楔块等放松装置。砂箱放张装置如图6-13所示,它由钢板制作的缸套和活塞组成,箱内装石英砂或铁砂。预应力筋张拉时,砂箱中的砂被压实承受横梁的反力;预应力筋放张时,将出砂口打开,砂粒缓慢流出,活塞徐徐回退,钢筋则会逐渐放松。

图6-13 砂箱放张装置示意图

1-活塞;2-钢套箱;3-进砂口;4-钢套箱底板;5-出砂口;6-砂子

在安装时,用大于张拉力的压力压紧砂箱,以减小砂的空隙引起的预应力损失。当采用两台砂箱时,要控制放张的速度一致,以免构件扭曲损伤。砂箱放张构造简单,能自主地控制放张速度,工作比较可靠,常用于张拉力大于1000kN的预应力筋放张。

(3)楔块放张

楔块放张装置由固定楔块、活动楔块和螺杆组成,楔块放置在台座与横梁之间,如图6-14所示。在预应力筋进行放张时,旋转螺母使螺杆向上运动,带动活动楔块向上移动,则钢块的间距变小,横梁向台座方向移动,从而同时放张预应力筋。楔块放张装置一般由施工单位自行设计,适用于张拉力小于300kN的预应力筋放张。

图6-14 楔块放张装置示意图

1-台座;2-横梁;3,4-钢块;5-钢楔块;6-螺杆;7-承力板;8-螺母

为了检查构件放张时钢丝与混凝土的粘结是否可靠,切断钢丝时应测定钢丝向混凝土内的回缩情况。钢丝回缩值的简易测试方法,是在板端贴玻璃片和在靠近板端的钢丝上贴胶带纸用游标卡尺读数,其精度可达0.1mm。钢丝的回缩值要求:对冷拔低碳钢丝不应大于0.6mm,对碳素钢丝不应大于1.2mm。

随便看

 

离鸟网收录3541549条中英文词条,其功能与新华字典、现代汉语词典、牛津高阶英汉词典等各类中英文词典类似,基本涵盖了全部常用中英文字词句的读音、释义及用法,是语言学习和写作的有利工具。

 

Copyright © 2004-2024 vtrois.com All Rights Reserved
更新时间:2026/4/18 14:22:44