网站首页  词典首页


请输入您要查询的字词:

 

字词 充电法滑坡调查与监测
类别 中英文字词句释义及详细解析
释义

充电法滑坡调查与监测


(1)对于松散堆积层滑坡体,其电性特征同围岩相比呈低阻反映,因此利用充电法可查明其空间分布范围。

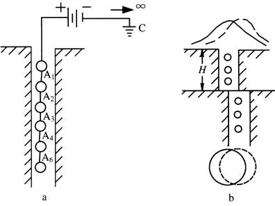
(2)用充电法也可以测定滑坡体的滑动方向和滑动速度,其工作方法见图2-2a。首先,将充电电极,即由导线联接到地面的金属球A1、A2…放置在井中不同深度上,并用土将钻孔填满。另一充电电极B置于“无穷远处”接地,其距离为充电电极A最大埋深的20~50倍。然后,按一定时间间隔测量不同深度的金属充电球在地面引起的电位分布。若滑坡体没有滑动,则不同时间测得的同一深度充电的电位曲线是重合的;相反,若滑坡体滑动,则在某一深度H上测得的电位曲线较滑动前测得的电位曲线有一个相对位移(图2-2b),这个深度反映了滑动面的深度。从电位曲位移的方向、距离和时间可推断出滑坡体下滑的方向、距离和速度。

图2-2 充电法测定滑坡体

【参考文献】:

邓清禄.2000.斜坡变形构造.武汉:中国地质大学出版社

段永侯,罗元华,柳源等.1993.中国地质灾害.北京:中国建筑工业出版社

姜卫方,万明浩.2000.地质雷达在滑坡面调查中的应用及效果分析,物探与化探,24(3)

金培杰,曹玉立.1993.甚低频电磁法在确定滑坡地下水分布中的应用.物探与化探,17(2)

金培杰,曹玉立.1992.静电α卡法在探测滑坡地下水中的应用.中国地质灾害与防治学报,3(3)

李媛,张颖,钟立勋.1992.中国滑坡崩塌类型及分布图说明书.北京:中国地图出版社

李智毅,王智济,杨裕云.1996.工程地质学基础.武汉:中国地质大学出版社

李智毅,唐辉明.2000.岩土工程勘查.武汉:中国地质大学出版社

李大心.1994.探地雷达方法及其应用.北京:地质出版社

刘传正.2000.地质灾害勘查指南.北京:地质出版社

牟会宠.1987.滑坡.北京:地震出版社

牛建军,张晓培,邱慧.2000.综合物探方法在中里滑坡调查中的应用.水文地质工程地质,27(3)

孙纪荣.1989.三峡黄腊石滑坡与K剖面法电法勘探工程物探.工程物探

王谦身,张赤军,周文虎等.1995.微重力测量——理论、方法与应用.北京:科学出版社

晏同珍,杨顺安,方云.2000.滑坡学.武汉:中国地质大学出版社

张咸恭,李智毅等.1998.专门工程地质学.北京:地质出版社

地球物理地球化学勘查研究所.1983.日本工程物探译文集

随便看

 

离鸟网收录3541549条中英文词条,其功能与新华字典、现代汉语词典、牛津高阶英汉词典等各类中英文词典类似,基本涵盖了全部常用中英文字词句的读音、释义及用法,是语言学习和写作的有利工具。

 

Copyright © 2004-2024 vtrois.com All Rights Reserved
更新时间:2026/4/18 16:27:38