网站首页  词典首页


请输入您要查询的字词:

 

字词 中子注量率测量
类别 中英文字词句释义及详细解析
释义

中子注量率测量


中子注量率测量方法很多,它的选择不仅要考虑中子能量,而且要考虑注量率的大小和产生中子的方式。这里仅介绍经常作为计量标准测量用的方法。

1.单能快中子注量率测量

(1)伴随粒子法。这是常用的也是较准确的一种方法,它适用于加速器上产生中子的同时也产生一个带电粒子的核反应,例如3H(p,n)3He,2H(d,n)3He和3H(d,n)4He反应。对于给定的入射粒子能量,所产生的带电粒子和中子在能量和发射角度上都有着固定的关系,因此测量了某一角度上的带电粒子注量率就可知另一相应角度上的中子注量率。在伴随粒子测量装置中,带电粒子探测器装在与靶管连通的真空金属管内,管与入射束成一定角度,管内探测器与靶之间装有限制光阑以限制探测器对靶所张立体角。有时靶室为半圆形空腔,探测器可围绕靶转动,这样探测器-靶和入射束之间的角度就可以调节,所对应的中子方向也可改变。这一方法的特点是进行中子实验的同时就确定了注量率,因为确定中子注量率的伴随带电粒子测量装置与中子实验装置可安排在靶的不同侧面。

(2)反冲质子望远镜。中子穿过含氢物质时可与氢产生弹性散射发出反冲质子,即1H(n,n)1H反应。若能测得质子的计数率Np并能确定它与入射中子注量率φ之间的关系

ε=Np/φ

即可由e和Np确定φ。反冲质子望远镜就是利用这一原理测量中了注量率,并称ε为反冲质子望远镜的效率,图10.5-1示出了它的测量原理。点中子源S出射出的中子轰击半径为R1的含氢辐射体,从中射出的质子被半径为R2的探测器探测。可以算出,望远镜的效率为

式中P 以单位面积内氢原子数表示的辐射体厚度;

图10.5-1 反冲质子望远镜测量原理示意图

σ(θ,E):能量为E的n·p散射在θ角上的微分截面;

δ:辐射体对源的张角;

l=L/cosβ;

其它符号的含义可在图中清楚地看出。

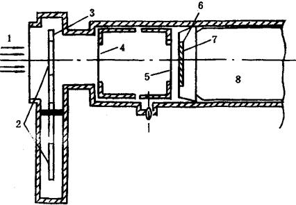
图10.5-2是一个反冲质子望远镜的结构示意图。旋转盘上装有不同厚度的辐射体(聚乙烯片)。只有同时被dE/dx探测器探测和主探测器CsI探测的信号才被记录。铂金光阑起着限束的作用。

图10.5-2 反冲质子望远镜结构示意图

(3)伴生放射性法。有些核反应在产生中子的同时也产生一个具有放射性的新核,例如,7Li(p,n)7Be反应中7Be就是与n同时产生的放射性核素,如果测定了反应生成的7Be核数,也就测定了中子数,7Be是β+衰变,可以通过活度测量来测定。

这三种方法中,(1)和(3)两种方法不依赖于反应截面的值,但是它们只适用于某一特定的反应,而反冲质子望远镜必须知道1H(n,n)1H的反应截面,但它适用于以任何方式产生的中子源,只要中子能量和注量率合适。

2.热中子注量率测量。所有中子源发出的中子都是快中子,热中子需经慢化剂慢化后获得。197Au(n,γ)198Au是最好也是最普遍使用的测量热中子的核反应,它的特点已在第10.2.4节的第6小节中介绍。

用金片测量热中子注量率的方法是:将金片置于待测热中子场中照射。照射至饱和后金片单位时间内吸收的中子数与它的放射性活度相等。若未照射至饱和,可用公式(10.2-4)推算至饱和值。若饱和时金片单位面积上的活度为A,单位体积内核数为n,金片厚度为d,吸收截面为σ0(对于中子速度V=2200,ms-1时的吸收截面),则热中子注量率为

ψ=A/ndσ0

若将单位面积上的活度A用总活度A0代替,并用金片内的总核数N代替单位体积内的核素n,则中子注量率可写成

ψ=A0/Nσ0 (10.5-2)

式中虽消去了厚度d,但是厚度必须足够薄以减少自屏蔽效应。实际上热中子场中总含有快中子,为了扣除快中子份额,必须做两次照射和测量,一次用裸金片照射并测量获得金片总活度AT,另一次用0.5-1mm的镉片包金片照射并测量获得金片活度Acd,那么式10.5-2中的A0应为

A0=AT-Acd (10.5-3)

值 R=(AT-Acd)/Acd称为镉比,它是表征中子场热化程度的一个量,热化程度愈高R值愈大。另外,在利用公式计算注量率ψ时,实际上假定了热中子的吸收截面与中子速度v成反比,而Au的吸收截面对1/v律有一定偏离,因此必须对此作出修正。

3.测量中子注量率的其它方法。以上介绍的几种测量方法都是绝对测量方法,即不需要已知注量率的中子场来作比较,也不需要刻度探测器对中子的探测效率。对于相对测量,问题就简单得多,只要将一种对某一能区灵敏的探测器在已知注量率的中子场中刻度,就可用该探测器测量能量相同的其它中子场的注量率。以下只简单介绍适用于不同能区的各种探测器的名称:热能区可用3He正比计数管,含6Li或10B的闪烁晶体、10B或235U电离室及铟、锰、金等金属片等。对中能中子和快中子。可使用反冲质子计数管(含氢正比管)、54Fe(n,p)54Mn,27Al(n,p)27Mg,56Fe(n,p)56Mn27,Al(n,α)24Na及238U(n,f)等反应的阈探测器。

这里应该特别介绍一下长计数器,也称长(中子)计数管,因为它是最常使用的中子注量率相对测器装置和监测装置。它的结构示意图如图10.5-3。它由BF3计数管和直径与长约45cm的聚乙烯慢化剂组成。中子含硼材料层防止周围中子进入探测器。

图10.5-3 长计数器结构示意图

正面射入的中子经慢化剂慢化后进入BF3计数管被记录。正面在计数管周围有多个圆孔以提高较低能量中子的探测效率。长计数器在很宽的能量范围内对中子的探测效率变化很小。在2-10MeV范围内效率变化小于10%。另外它比较稳定,操作方便,测量时间短,也常用来相对测量中子源强度。

【参考文献】:

[1]ICRU,Radiation quantities and units,ICRU,Report 33(1980).

[2]ICRU,Neutron dosimetry for biology and medicine.ICRU,Report 26(1977)

[3]ICRU. Determination of dose equivalents resulting from external radiation sources, Report 39 (1985).

[4]ICRU,Determination of dose equivalents resulting from external radiation sources,Part 2,Report 43(1988).

[5]Quantities and units in radiation protection dosimetry. ICRU,Report 51(1993).

[6]ICRP.1990 Recommendations of the ICRP Publication 60(1991).

[7]ISO—8529, Neutron reference radiation for calibrating neutron measuring devices used for radiation protection purpose and for determining their response as a function of neutron energy.

[8]IEC—1005,Portable neutron ambient dose equivalent ratemeter for use in radiation protection (1990).

[9]IAEA,Guideline on calibration of neutron measuring devices, IAEA Technical Reports Series No. 285(1988).

[10]卢希庭,原子核物理,原子能出版社,1981。

[11]梅镇岳,原子核物理学,科学出版社,1961。

[12]Mann,W. B. ,A handbook of radioactivity measurements procedures,NCRP Report 58(1985).

[13]Johnson C. H. ,Fast Neutron Physics,Part I,Interscience Publisher (1960).

[14]Knoll,G. F. , Radiation Detection and Veasurement, 2nd Ed.,John Wiley & Sons(1989).

[15]Attix,F.H. , Tochlin, E. , Radiation Dosimetry. Vol.1-4,Academic Press ,New York(1968).

随便看

 

离鸟网收录3541549条中英文词条,其功能与新华字典、现代汉语词典、牛津高阶英汉词典等各类中英文词典类似,基本涵盖了全部常用中英文字词句的读音、释义及用法,是语言学习和写作的有利工具。

 

Copyright © 2004-2024 vtrois.com All Rights Reserved
更新时间:2026/4/20 16:14:01