食品泵适用于输送饮料及各种果酒、啤酒、白酒、汽酒、牛奶、酱油、食醋等。介质温度应低于80℃。
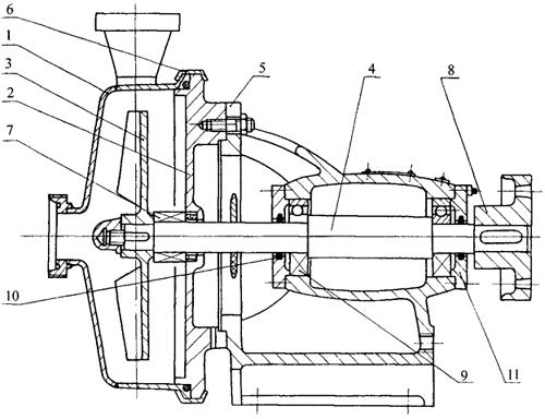
SP型食品泵是单级单吸离心泵,有开式、闭式叶轮结构,水平吸入,垂直轴心线吐出,轴封为机械密封。泵体与泵盖采用快开夹紧环连接。
泵体为1Cr18Ni9Ti钢板冲压焊接件,泵盖、叶轮为ZG1Cr18Ni9。结构见图4-14-28,规格见表4-14-35。

图4-14-28 SP型食品泵结构图
1-泵体 2-泵盖 3-叶轮 4-轴 5-支座 6-快开夹紧环 7-机械密封 8-联轴器 9-轴承 10-毡圈 11-轴承盖
表4-14-35 SP型食品泵规格

注:北京水泵厂产品。