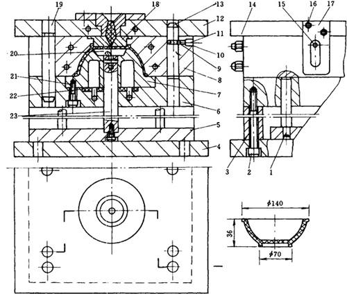
(1)结构特点 动模导柱带阻力钢珠9,见图5-28。

图5-28 聚乙烯水碗
1—顶杆 2—内六角螺钉 3—支板 4—动模板 5—顶板 6—动模型板 7—型芯 8—定模型板 9—钢珠 10—小弹簧 11—螺塞 12—定模板 13—动模导柱 14—水嘴 15—销 16—六角螺钉 17—限位板 18—镶件 19—导柱 20—顶件器 21—螺钉 22—密封环 23—顶杆
(2)动作原理 开模时,定模型板8首先与定模板12分离,然后,型芯7带着塑件与定模型板8分离,随后,顶出系统的顶件器20将塑件从型芯7上顶脱。
件8移动的最大距离由销15和限位板17来控制,件8之所以随动模移动一定距离,是由于钢珠9和小弹簧10的作用。钢珠9力量的大小主要决定于小弹簧10弹力的大小。
(3)浇口尺寸 直径0.9mm。
(4)工艺要点 型腔最后的精加工要用样板刀。