网站首页  词典首页


请输入您要查询的字词:

 

字词 ABS方仪器盒
类别 中英文字词句释义及详细解析
释义

ABS方仪器盒


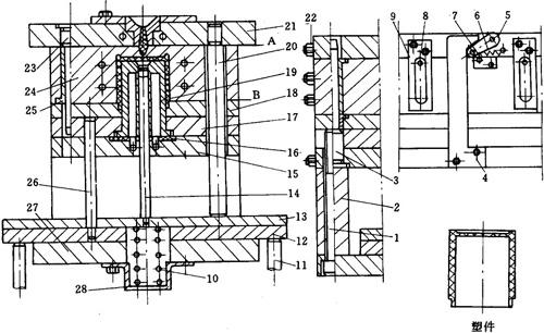
(1)结构特点 摆臂开模,二次顶出,见图5-33。

图5-33 ABS方仪器盒

1—螺钉 2—支板 3—导柱 4—动模拉板 5—摆臂 6—弹簧 7—挡块 8—限位销 9—限位板 10—顶出弹簧 11—顶杆 12—一次顶板 13—二次顶板 14—中心顶杆 15—垫板 16—密封环 17—固定板 18—推板 19—型芯 20—定模回程杆 21—定模板 22—水嘴 23—定模导柱 24—动模型板 25—导套 26—顶杆 27—动模板 28—弹簧罩

(2)动作原理 开模时,动模拉板4勾动摆臂5,摆臂5推动挡块7使定模型套自A面与定模板21分开,其分开距离的大小,由限位销8控制。动模再移动,B面打开。然后,顶出系统的顶杆26顶动推板18,使塑件向上移动一段距离,完成一次顶出。与此同时,弹簧10即作用于二次顶板13,二次顶板13上固定的中心顶杆14即将塑件顶出,完成二次顶出。顶出系统靠回程杆20复位。

(3)浇口尺寸 点状浇口,直径为0.9mm。

(4)工艺要点 导向系统和顶出系统的孔要同时钻铰以保证同心度。定模回程杆20与顶杆24的头部应淬硬到RC45~48。密封环16要有良好的密封性。

随便看

 

离鸟网收录3541549条中英文词条,其功能与新华字典、现代汉语词典、牛津高阶英汉词典等各类中英文词典类似,基本涵盖了全部常用中英文字词句的读音、释义及用法,是语言学习和写作的有利工具。

 

Copyright © 2004-2024 vtrois.com All Rights Reserved
更新时间:2026/4/17 23:15:13