网站首页  词典首页


请输入您要查询的字词:

 

字词 ABS座
类别 中英文字词句释义及详细解析
释义

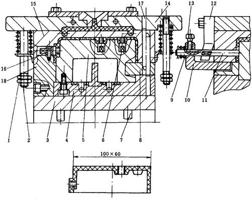
ABS座


(1)结构特点 双点形浇口,带侧螺纹成型芯。

(2)动作原理 注射成型后,动模向下移动时,件15首先与定模板14分开,在分开的同时,固定在定模14上的斜楔12,将侧成型芯11抽离塑件。再移动分型面打开,成型芯5将塑件从件15带出;与此同时,推料板8,在顶出系统的作用下将塑件推出成型芯5。最后用手取下塑件,再利用专用工具分别将侧螺纹成型芯16和内螺纹成型芯6拧下。

定模型板15离开定模板14的距离由螺母1和螺栓2来控制。弹簧在闭模后受到压缩,压缩高度不得超过弹簧自由高度的1/3左右。支板10用螺钉紧固于件15上,镶件18用螺钉固定在动模4上。闭模前,首先将侧螺纹成型芯16放置在镶件18上,见图5-26。

图5-26 ABS座

1—螺母 2—限位螺栓 3—垫板 4—动模座 5—成型芯 6—螺纹型芯 7—顶杆 8—推料板 9—弹簧 10—支板 11—侧成型芯 12—斜楔 13—螺钉 14—定模板 15—定模型板 16—侧螺纹成型芯 17—定模板 18—镶件

(3)工艺要点 镶件18与定模型板15的配合部分,要按三级精度动配合研配。所有板与板之间的接触面,都要进行磨削加工。

随便看

 

离鸟网收录3541549条中英文词条,其功能与新华字典、现代汉语词典、牛津高阶英汉词典等各类中英文词典类似,基本涵盖了全部常用中英文字词句的读音、释义及用法,是语言学习和写作的有利工具。

 

Copyright © 2004-2024 vtrois.com All Rights Reserved
更新时间:2026/4/18 1:45:51